Вернуться на главную
Поиск
Каталоги запчастей к технике
Спецтехника
LiuGong
CLG-856I
20E0173 001 SERVICE BRAKE SYSTEM
Каталог запасных частей к технике: LiuGong CLG-856I. 20E0173 001 SERVICE BRAKE SYSTEM
zoom-in
zoom-out
enlarge
shrink
circle-right
circle-left
file-text2
info
cart
Тип техники
Не выбрано
Легковые автомобили
Грузовые автомобили и прицепы
Автобусы
Сельхозтехника
Спецтехника
Двигатели
Мототехника
Марка
Не выбрано
Ammann
BOMAG
CARMIX
CASE IH
Changlin
ChengGong
Dimex
Doosan
DYNAPAC
Foton
HAMM
Hidromek
Hitachi
Hyundai
JCB
JLG
John Deere
Komatsu
LIEBHERR
LiuGong
Lonking (LongGong)
Luneng
MANITOU
Mitsuber
New Holland
PENGPU
RM-Terex
SANY
SDLG
SEM
Shantui
Shehwa HBXG
Soosan
TIGARBO
VOGELE
Volvo
WAY
WIRTGEN
XCMG
XGMA
Xiamen
YTO
Yuchai
Zoomlion
Автокран
АЗСМ
Алтайлесмаш
Амкодор
АОМЗ
Атек
АТЗ
Балканкар Рекорд
БелАЗ
Беловеж
Борекс
Брянский Арсенал
Булат
ВЭКС
ГАЗ
Геомаш
Гидромаш
Донекс
Дормаш
Дормашина
Дорэлектромаш
ДЭЗ
ЕлАЗ
ЗЗГТ
Ижнефтемаш
Канаш-электрокар
КЗКТ
ККЗ
Клевер
Клинцовский автокрановый завод
КМЗ
КМЗ 1 Мая
Ковровец
Коммаш
Кранэкс
КЭЗ
КЭМЗ
ЛЗА
МАЗ
МЗИК
МЗКМ
МЗКТ
Михневский РМЗ
МоАЗ
Мозырский МЗ
МТЗ
ОЗП
Онежец
ПАО "ТЗА"
ППС Детва
Промтрактор
ПТЗ
Раскат
СпецАгрегат
ТВЭКС
ТТМ
УВЗ
Угличмаш
УЗТМ
ХТЗ
ЧЗКМ
ЧСДМ
ЧТЗ
ЭКСКО
ЭКСМАШ
ЮрМаш
Модель
Не выбрано
CLG 425 (2010)
CLG 777A-S (2010)
CLG-2040H (2045H, 2050HL, 2040H, 2045H, 2050HL) (2016)
CLG-220 (2008)
CLG-225 (2008)
CLG-365A (2012)
CLG-375 (2008)
CLG-375A (2008)
CLG-385A (2008)
CLG-4165 (2015)
CLG-418 (2008)
CLG-4215 (2010)
CLG-612 (2008)
CLG-614 (2010)
CLG-618 (2010)
CLG-626R
CLG-766 (2015)
CLG-766A (2012)
CLG-816G (2012)
CLG-835
CLG-835 (2015)
CLG-835H (2015)
CLG-836 (2015)
CLG-842
CLG-842
CLG-842 (2015)
CLG-855N (2015)
CLG-856 (2015)
CLG-856H (2015)
CLG-856I
CLG-862 (2015)
CLG-877 (2015)
CLG-888 (2015)
CLG-904С (2007)
CLG-915D
CLG-915D
CLG-920D
CLG-920E (2015)
CLG-922D
CLG-922LC
CLG-922LC (2008)
CLG-925 (2015)
CLG-925D (2015)
CLG-933E (2010)
CLG-B160 (2010)
Схема
>
Не выбрано
45E0739 003 DECAL SET
45E0874 000 NAME-PLATE GP
00E0208 005 ENGINE SYSTEM
40C0092 001 FUEL PRE-FILTER
23C0038 001 THROTTLE CONTROL SYSTEM
00E0317 005 INTAKE AND EXHAUST SYSTEM
20C0046 003 RADIATOR GP
20C0101 003 COOLING SYSTEM
21C0033 003 FUEL RESERVOIR
16C0004 000 BREATHER CAP
12D0072 000 STRAINER
51C0017 001 FRONT AXLE AS
01E0185 000 FRONT AXLE AS
51C0018 001 FRONT AXLE GP
31C0038 000 CONNECTOR
51C0127 000 FRONT AXLE
4474 101 008 01 AXLE HOUSING
4474 101 008 02 AXLE HOUSING
4474 102 048 01 OUTPUT
4460 115 004 01 DIFF CARRIER
4460 115 004 02 INPUT FLANGE
4460 215 338 00 BEVEL GEAR SET
4461 016 005 00 LIMIT.SLIP DIFF
41C0014 001 REAR AXLE AS
01E0186 000 REAR AXLE AS
51C0020 003 REAR AXLE GP
51C0128 000 REAR AXLE
4474 101 118 00 AXLE HOUSING
4474 101 119 00 AXLE HOUSING
4474 102 114 00 OUTPUT
4460 165 009 01 DIFF. CARRIER
4460 165 009 02 INPUT FLANGE
4460 265 368 00 BEVEL GEAR SET
4061 010 009 00 LIMIT.SLIP DIFF
51C0052 000 TYRE & RIM AS
01E0262 000 TYRE & RIM AS
51C0053 000 RIM AS
00C0028 001 GREASE LINES
03E0044 001 DRIVE SHAFT SYSTEM
41C0120 001 FRONT DRIVE SHAFT & BRG AS
51C0101 000 FRONT DRIVE SHAFT GP
51C0024 000 MIDDLE DRIVE SHAFT
51C0025 000 REAR DRIVE SHAFT
04E0042 002 GEARBOX & TORQUE CONVERTER AS
30C0023 001 CONNECTOR AS
31C0238 000 CONNECTOR AS
05E0004 001 GEARBOX & TORQUE CONVERTER AS
4166 034 070 00 TORQUE CONVERTER
4644 130 263 00 ENGINE CONNECT
4644 152 037 01 COUPING KR+K2
4644 152 037 02 COUPING KR+K2
4644 153 509 00 COUPING K3+K4
4644 153 030 01 COUPING K3+K4
4644 103 107 00 OUTPUT
4644 103 467 00 OUTPUT
4644 109 040 01 PARKING BRAKE
4644 109 040 02 PARKING BRAKE
4644 109 438 00 PARKING BRAKE
4644 154 080 00 POWER TAKE-OFF
4644 154 476 00 POWER TAKE-OFF
4644 155 420 00 POWER TAKE-OFF
4644 155 031 00 POWER TAKE-OFF
4644 106 325 00 GEARSHIFT SYSTEM
4644 159 347 00 GEARSHIFT
4644 138 015 00 FILTER
4644 137 022 00 EMCY.STEER.PUMP
4644 120 213 00 PRESS.REGULATOR
4644 125 479 00 IND.TRANSMITTER
4644 125 016 10 IND.TRANSMITTER
4644 102 134 00 INPUT
4644 131 419 00 FILLER NECK
4644 131 077 00 FILLER NECK
4644 121 023 00 OILPIPE
4644 101 249 00 GEARBOX HOUSING
4644 101 491 00 GEARBOX HOUSING
4644 108 232 00 LAYSHAFT
4644 151 034 02 COUPING KV+K1
4644 151 034 01 COUPING KV+K1
4642 199 076 00 LOOSE PARTS
10E0150 002 STEERING HYDRAULIC SYSTEM
44C0279 001 STEERING COLUMN MOUNTING
44C0005 000 METERING PUMP
44C0023 000 STEERING SHAFT
00C0255 000 METERING PUMP LINES
12C0015 001 PRESSURE REDUCING VALVE
32C0014 001 CONNECTOR
31C0022 000 CONNECTOR
00C0047 000 RADIATOR LINES
12C1047 004 FLOW AMPLIFYING VALVE
10C0030 000 STEERING CYLINDER-RH
10C0031 000 STEERING CYLINDER-LH
11E0385 006 HYDRAULIC SYSTEM
11E0385 006 HYDRAULIC SYSTEM
11E0413 003 HYDRAULIC SYSTEM
11E0413 003 HYDRAULIC SYSTEM (A)
11E0413 003 HYDRAULIC SYSTEM (B)
11E0413 HYDRAULIC SYSTEM (C)
11E0659 002 HYDRAULIC SYSTEM
11E0659 002 HYDRAULIC SYSTEM
11E0659 002 HYDRAULIC SYSTEM
10C0023 001 BOOM CYLINDER
10C0024 001 TILTING CYLINDER
10C1274 000 BUCKET TILTING CYLINDER
12C0025 000 DISTRIBUTING VALVE
12C0057 000 CHECK VALVE
12C2288 001 PILOT VALVE MOUNTING
00C0632 000 PILOT OIL FILTER LINES
00C0636 000 PILOT OIL FILTER LINES
31C0031 000 CONNECTOR
30C0015 000 CONNECTOR
30C0028 000 CONNECTOR
33C0001 000 CONNECTOR
32C0025 000 CONNECTOR
33C0023 000 CONNECTOR
12C0037 004 COMBINATION VALVE
21C0208 000 HYDRAULIC OIL TANK
21C0209 000 HYDRAULIC OIL TANK
11C0015 000 PUMP
12C0019 000 VALVE GP-PILOT
12C0020 000 VALVE GROUP
12C0021 000 VALVE GROUP
12C0022 000 VALVE GP
12C0023 000 VALVE GP
12C0024 000 VALVE GROUP
44C0888 000 POSITIONER AND KICKOUT SYSTEM
00C1079 000 POSITIONER AND KICKOUT SYSTEM
23C0037 001 CONTROL LEVER AS
23C0035 001 CONTROL LEVER
11E0101 003 SIDE DUMP HYDRAULIC SYSTEM
00C0538 000 MULTIPURPOSE LINES
00C0637 003 MULTIPURPOSE LINES
00C0734 004 QUICK COUPLER LINES
10C0316 000 CYLINDER
12C1113 001 DIVERTER VALVE MOUNTING
12C0685 008 DIVERTER VALVE
00C1005 001 HYDRAULIC OIL LINES
23C0176 000 CONTROL LEVER AS
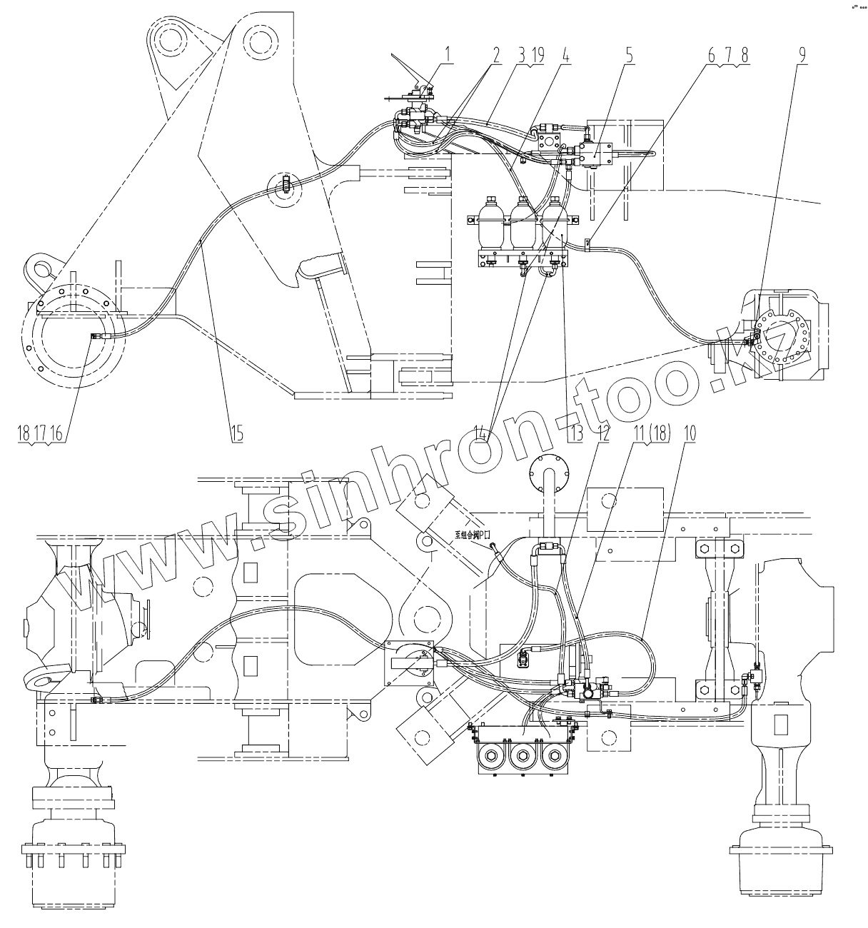
20E0173 001 SERVICE BRAKE SYSTEM
45C0113 000 ACCUMULATOR MOUNTING
45C0121 001 BRAKE VALVE
45C0122 000 CHARGE VALVE AS
13C0173 000 CHARGE VALVE
31C0010 000 CONNECTOR
21E0043 001 PARKING BRAKE SYSTEM
45C0155 003 PART VALVE ASS’Y
45C0219 000 BRAKE VALVE AS
13C0013 003 BRAKE CYLINDER AS
13C0189 002 BRAKE CYLINDER
30E0234 000 FRAME
30E0641 000 FRAME
43C0127 001 ACCUMULATOR BOX
43C0119 002 BATTERY BOX-LH
01C0012 001 GREASE LINES
43C0013 002 ARTICULATION HITCH AS
32E0310 000 WORK IMPLEMENT SYSTEM
32E0588 002 QUICK COUPLER
32E0110 000 BUCKET AS 2.7M3
43C0116 000 TOOTH GP
43C0472 000 BUCKET COUPLER 3.0M3
43C0442 000 TOOTH GROUP
32E0058 000 BUCKET AS 3.0M3
43C0083 000 BUCKET AS 3.3M3
22D0099 000 BUCKET 4.5M3
43C0088 000 TOOTH GP
22D0100 000 BUCKET 4.5M3
43C0095 000 BLADE GP
43C0916 000 FORK COUPLER
25E0001 007 AUTO LUBRICATION SYSTEM
45E0220 000 COUNTERWEIGHT AS
41E0165 003 CAB AS
47C0543 002 DOOR-LH
47C0544 002 DOOR-RH
47C0194 002 HAND REST
47C0108 001 CONTROL BOX AS
47C0239 000 FIRE EXTINGUISHER
41E0018 001 PLATE AS
41E0157 000 REAR VIEW MIRROR AS
41E0159 000 CAB GUARD AS
43E0011 004 FRONT FENDER-RH
43E0034 004 FRONT FENDER AS-LH
43E0114 003 REAR FENDER AS-RH
43E0113 003 REAR FENDER AS-LH
44E0187 003 ENGINE HOOD AS
24C0034 001 LIFT MECHANISM
42D0714 001 DOOR
26C0112 000 LADDER AS
26C0013 001 STEP
26C0034 001 LADDER AS
46E0032 000 SEAT AS
46E0040 002 SEAT AS
23E0168 003 AIR CONDITIONING SYSTEM
46C1879 000 COMPRESSOR BRACKET AS
46C3591 000 FILTER
46C3622 000 EVAPORATOR
22E0597 001 ELECTRICAL SYSTEM
22E0579 001 ELECTRICAL SYSTEM
46C1738 001 FRONT FRAME WIRING
46C1744 003 REAR FRAME WIRING
46C1745 000 BATTERY WIRING AS
46C1743 002 CAB WIRING
46C1846 002 CONTROL BOX AS
22E0230 002 BACKUP ALARM SYSTEM
46C0709 002 SHIFT CONTROL WIRING
46C1884 000 LIGHT GROUP
46C0702 000 REAR POSITION LIGHT-RH
46C0703 000 POSITION LIGHT
46C0704 000 FRONT LIGHT-RH
46C0705 000 FRONT LIGHT-LH
46C1741 000 WIPER AND WASHER SYSTEM
46C1742 002 WORK LIGHT WIRING
46C1746 000 INSTRUMENT PANEL
46C0264 000 SUPPORT AS
46C1843 002 SOUND SYSTEM
46C1841 003 RADIO/CASSETTE PLAYER
46C1767 000 ROTATING BEACON
50E0055 002 ELECTRICAL SCHEMATIC
1
2
3
4
5
6
7
8
9
10
11
12
13
14
15
16
17
18
18
19
Позиция на иллюстрации
Заводской номер детали
Название детали
1
45C0121
BRAKE VALVE
2
06C2650
HOSE AS
3
06C2651
HOSE AS
4
06C2652
HOSE AS
5
45C0122
CHARGE VALVE AS
6
06B0002
Шайба
7
03B0053
NUT
8
88A0159
Clamp
9
31C0010
CONNECTOR
10
06C2653
HOSE AS
11
06C2654
HOSE AS
12
06C2655
HOSE AS
13
45C0113
ACCUMULATOR MOUNTING
14
06C2656
HOSE AS
15
06C6643
HOSE AS
16
00A0084
CONNECTOR
17
12B0291
Кольцо круглого сечения
18
12B0285
Кольцо круглого сечения
19
12B0370
Кольцо круглого сечения
Содержащиеся в справочниках-каталогах запасные части и детали не предлагаются к продаже, а носят исключительно информационный характер
Дополнительная информация
×
Название:
Номер:
Примечание: