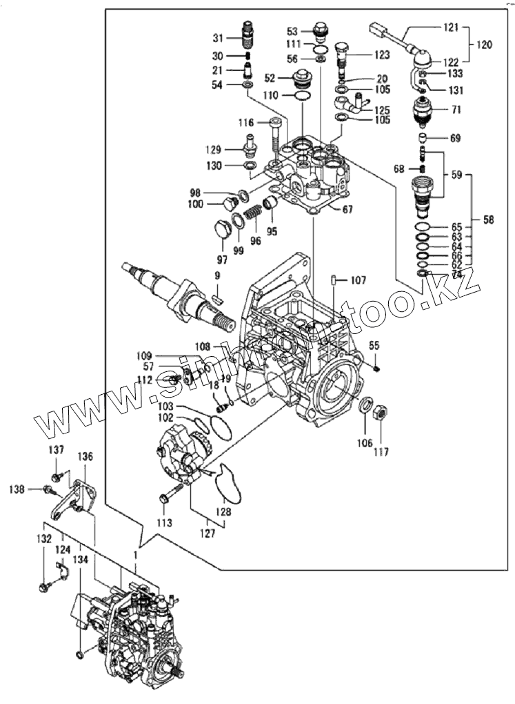
Каталог запасных частей к технике: LiuGong CLG-385A. 40C0863 000 FUEL INJECTION PUMP
1
9
18
19
21
30
31
52
53
54
55
56
57
58
59
62
63
64
65
66
67
68
69
71
74
95
96
97
98
99
100
102
103
106
107
108
109
111
112
113
116
117
120
121
122
123
124
125
127
128
129
131
132
133
134
136
137
138
| Позиция на иллюстрации | Заводской номер детали | Название детали | |
|---|---|---|---|
| 1 | 729949-51300 | INJECTON PUMP ASSY | |
| 9 | 144626-51090 | KEY | |
| 18 | 158600-51270 | STOPPER | |
| 19 | 158563-51281 | O-RING | |
| 21 | 129927-51300 | VALVE ASSY, DILEVERY | |
| 30 | 158563-51330 | SPRING | |
| 31 | 129928-51340 | HOLDER, DELIVERY | |
| 52 | 158601-51550 | PLUG | |
| 53 | 129907-51560 | PLUG | |
| 54 | 158552-51570 | PK(BARREL PLUG | |
| 55 | 158557-51570 | PLUG | |
| 56 | 129906-51580 | PACKING, PLUG | |
| 57 | 158552-51580 | LIFTER | |
| 58 | 129657-51590 | TIMER SET | |
| 59 | 129657-51600 | TIMER CMP | |
| 62 | 158553-51670 | O-RING | |
| 63 | 119802-51680 | BACKUP RING | |
| 64 | 119802-51690 | O RING | |
| 65 | 24356-010200 | PACKING | |
| 66 | 24372-000150 | RING, BACKUP | |
| 67 | 158560-51600 | PACKING, HEAD | |
| 68 | 119852-51630 | SPRING, TIMER | |
| 69 | 119852-51640 | CAP, TIMER | |
| 71 | 119852-51650 | VALVE, SOLENOIDE | |
| 74 | 158553-51680 | PACKING, TIMER | |
| 95 | 158601-51770 | PISTON | |
| 96 | 158552-51781 | SPRING | |
| 97 | 158601-51790 | PLUG | |
| 98 | 22190-120002 | SEAL WASHER | |
| 99 | 22190-180002 | SEAL WASHER | |
| 100 | 23887-120002 | PLUG, HEX. | |
| 102 | 158552-52310 | O-RING | |
| 103 | 158552-52400 | O-RING | |
| 106 | 22217-180000 | SPRING WASHER | |
| 107 | 22312-050140 | PARALLEL PIN | |
| 108 | 22351-050010 | SPRING PIN | |
| 109 | 24311-000070 | O-RING | |
| 111 | 24356-020210 | O RING | |
| 112 | 26106-060102 | BOLT PLATED | |
| 113 | 26106-060352 | BOLT PLATED | |
| 116 | 26450-100452 | BOLT | |
| 117 | 26776-180002 | NUT, LOCK | |
| 120 | 129927-51650 | HARNESS CMP | |
| 121 | 129927-51660 | HARNESS, CSD | |
| 122 | 129263-77941 | CAP, RUBBER | |
| 123 | 158601-51650 | JOINT | |
| 124 | 129927-51670 | BRACKET, CSD | |
| 125 | 158552-51670 | JOINT | |
| 127 | 158552-52100 | PUMP ASSY, FEED | |
| 128 | 158552-52500 | O-RING(FEED P INNER | |
| 129 | 119934-59910 | JOINT, PIPE | |
| 131 | 22217-050000 | SPRING WASHER | |
| 132 | 26106-060122 | BOLT PLATED | |
| 133 | 26716-050002 | NUT | |
| 134 | 27241-160000 | PLUG | |
| 136 | 129927-51250 | RETAINER(FOP | |
| 137 | 26106-080202 | BOLT PLATED | |
| 138 | 26106-080302 | BOLT PLATED |
Содержащиеся в справочниках-каталогах запасные части и детали не предлагаются к продаже, а носят исключительно информационный характер