Каталог запасных частей к технике: LiuGong CLG-220. Кабина
1
2
2
3
4
5
6
6
7
8
8
8
8
9
9
9
9
10
10
10
11
11
12
12
12
12
12
12
13
13
13
13
13
13
14
14
14
14
14
14
15
16
17
18
18
19
20
21
22
23
24
25
25
25
26
26
27
28
29
30
31
32
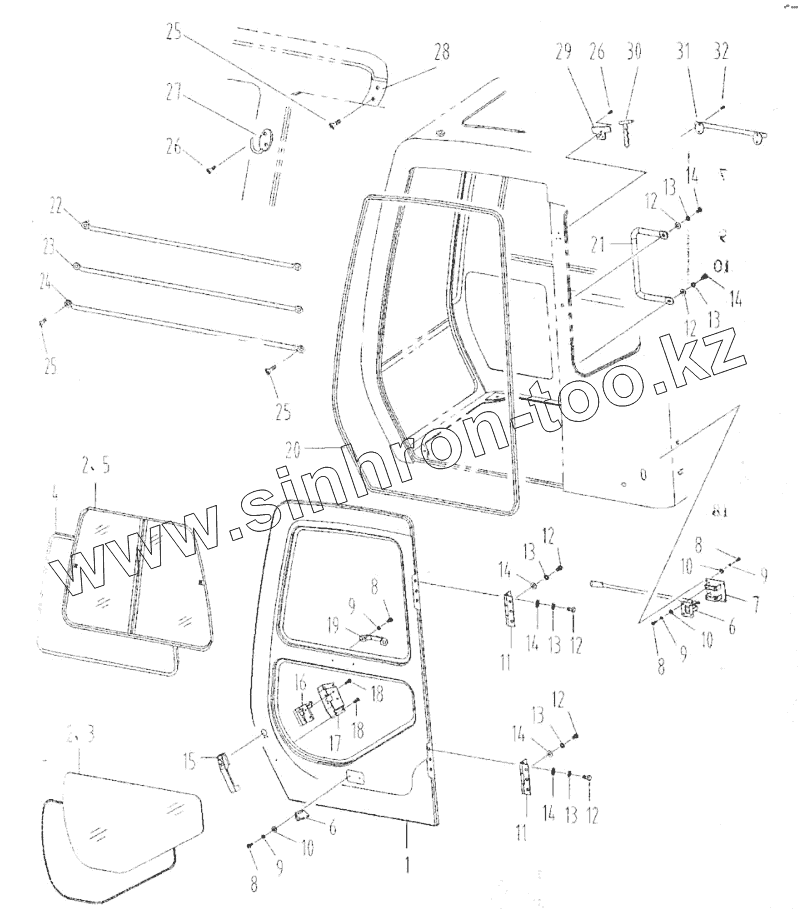
| Позиция на иллюстрации | Заводской номер детали | Название детали | |
|---|---|---|---|
| 1 | 23D0272 | Дверь | |
| 2 | 42B0005 | Герметик | |
| 3 | 87A0063 | Стекло дверное | |
| 4 | 84A0123 | Прокладка | |
| 5 | 47C0126 | Дверь в сборе | |
| 6 | 25C0010 | Замок-фиксатор | |
| 7 | 02D0586 | Крышка замка | |
| 8 | 03B0014 | SCREW | |
| 9 | 06B0003 | Шайба | |
| 10 | 06B0024 | WASHER | |
| 11 | 17D0080 | Скоба дверная | |
| 12 | 00B0012 | BOLT | |
| 13 | 06B0002 | Шайба | |
| 14 | 06B0001 | WASHER | |
| 15 | 38C0010 | Замок дверной | |
| 16 | 25C0011 | Сердцевина замка | |
| 17 | 27A0170 | Крышка | |
| 18 | 04B0209 | Винт | |
| 19 | 85A0193 | Поручень | |
| 20 | 35C0060 | Прокладка | |
| 21 | 88A0280 | Поручень | |
| 22 | 34A0319 | Брус заградительный I | |
| 23 | 34A0320 | Брус заградительный II | |
| 24 | 34A0321 | Брус заградительный III | |
| 25 | 04B0075 | Винт | |
| 26 | 04B0268 | Винт | |
| 27 | 88A0283 | Крюк для одежды | |
| 28 | 84A0227 | Прокладка буферная | |
| 29 | 86A0107 | Держатель для молотка | |
| 30 | 88A0284 | Молоток | |
| 31 | 88A0285 | Держатель для полотенец | |
| 32 | ВинтST4,8x16 | Винт |
Содержащиеся в справочниках-каталогах запасные части и детали не предлагаются к продаже, а носят исключительно информационный характер