Каталог запасных частей к технике: LiuGong CLG-220. Электросистема
1
1
1
2
2
2
2
2
2
2
2
2
2
2
2
2
2
2
3
3
3
3
3
3
3
3
3
3
3
3
3
3
4
4
5
5
6
6
7
7
8
9
10
11
11
11
12
12
12
13
13
13
14
15
16
17
18
19
19
19
19
20
21
22
23
23
23
24
25
25
26
27
27
27
28
28
28
29
29
29
30
31
32
33
34
35
36
37
38
38
38
39
40
41
41
41
41
41
41
42
42
42
42
42
42
42
42
43
44
45
45
46
47
47
48
48
48
48
48
48
48
49
49
49
50
51
52
53
54
55
56
57
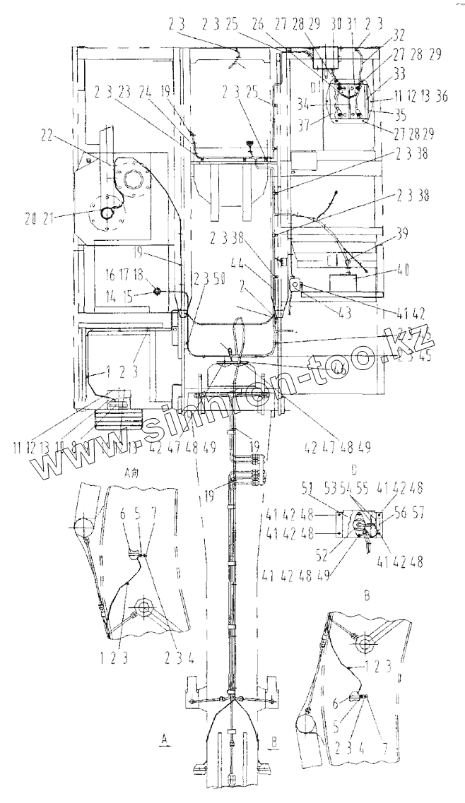
| Позиция на иллюстрации | Заводской номер детали | Название детали | |
|---|---|---|---|
| 1 | 20A1851 | Хомут | |
| 2 | Зажим | Зажим | |
| 3 | 06B0001 | WASHER | |
| 4 | 06B0002 | Шайба | |
| 5 | 83A0188 | Шайба резиновая демпферная | |
| 6 | 32B0067 | Фара стрелы | |
| 7 | 22A0448 | Кронштейн рабочей лампы | |
| 8 | 32B0065 | Фара рамы | |
| 9 | 83A0181 | Прокладка резиновая | |
| 10 | 20A1825 | Крышка | |
| 11 | 00B0075 | BOLT | |
| 12 | 06B0006 | Шайба | |
| 13 | 06B0005 | WASHER | |
| 14 | 20A0644 | Крышка | |
| 15 | 30B0011 | Датчик расхода топлива | |
| 16 | 01B0356 | Болт | |
| 17 | 06B0017 | Шайба | |
| 18 | 06B0066 | WASHER | |
| 19 | 37B0004 | Хомут | |
| 20 | 30B0010 | Выключатель аварийный | |
| 21 | 06B0065 | Сальник | |
| 22 | 37B0010 | Соединения блокировочного кабеля | |
| 23 | 20A1852 | Хомут | |
| 24 | 08C0053 | Провод | |
| 25 | 20A1858 | Хомут | |
| 26 | 08C0466 | Кабель аккумулятора соединительный | |
| 27 | 01B0381 | Болт | |
| 28 | 06B0008 | Шайба | |
| 29 | 06B0059 | Шайба | |
| 30 | 08C0448 | Провод | |
| 31 | 37B0077 | Аккумулятор | |
| 32 | 08C0447 | Провод | |
| 33 | 82A0167 | Коврик резиновый | |
| 34 | 82A0166 | 82a0166 | |
| 35 | 00D0626 | Кронштейн | |
| 36 | 03B0021 | NUT | |
| 37 | 43D0137 | Крышка | |
| 38 | 20A1854 | Хомут | |
| 39 | 83A0144 | Резиновая втулка | |
| 40 | 46C0469 | Электропроводка кабины | |
| 41 | 03B0014 | SCREW | |
| 42 | 06B0003 | Шайба | |
| 43 | 43B0008 | Брызговик | |
| 44 | 08C0457 | Жгут проводов CLG200-3 | |
| 45 | 20A1855 | Хомут | |
| 46 | 38B0007 | Сигнал звуковой | |
| 47 | 00B0023 | BOLT | |
| 48 | 06B0024 | WASHER | |
| 49 | 03B0036 | NUT | |
| 50 | 20A1853 | Хомут | |
| 51 | 21A1192 | Крышка выключателя электропитания | |
| 52 | 34B0088 | Выключатель источника питания | |
| 53 | 04B0090 | Винт | |
| 54 | 06B0022 | Шайба | |
| 55 | 06B0097 | Шайба | |
| 56 | 10A0820 | Крышка | |
| 57 | 37B0101 | Предохранитель |
Содержащиеся в справочниках-каталогах запасные части и детали не предлагаются к продаже, а носят исключительно информационный характер