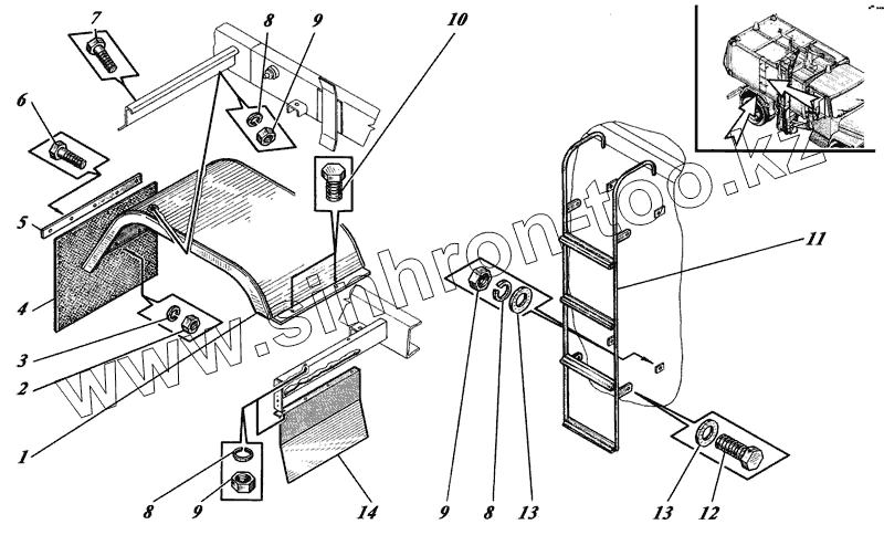
Каталог запасных частей к технике: Коммаш КО-440. Установка кузова
1
1
2
3
4
5
6
7
8
8
8
9
9
9
10
11
12
13
13
14
| Позиция на иллюстрации | Заводской номер детали | Название детали | |
|---|---|---|---|
| 1 | КО-440-2.11.04.000 | Брызгоотражатель | |
| 1 | КО-440-2.11.04.000-01 | Брызгоотражатель | |
| 2 | 5915 М8-6Н.5.016 | Гайка | |
| 3 | 6402 8.65Г.019 | Шайба | |
| 4 | КО-829.10.01.005 | Отражатель | |
| 5 | КО-829.10.01.004 | Планка | |
| 6 | 7796 М8-6gх25.56.016 | Болт | |
| 7 | 7796 М10-6gх20.56.016 | Болт | |
| 8 | 6402 10.65Г.019 | Шайба | |
| 9 | 5915 М10-6Н.5.016 | Гайка | |
| 10 | 7796 М10-6gх25.56.016 | Болт | |
| 11 | КО-829А.41.07.000 | Лестница | |
| 12 | 7796 М10-6gх30.56.016 | Болт | |
| 13 | 11371 С10.02.019 | Шайба | |
| 14 | КО-440-2.11.00.008 | Брызгоотражатель |
Содержащиеся в справочниках-каталогах запасные части и детали не предлагаются к продаже, а носят исключительно информационный характер