Каталог запасных частей к технике: Komatsu D85A-21B. TORQFLOW TRANSMISSION PIPING(35001-35320)
1
1
2
3
4
5
5
6
6
6
7
7
8
9
10
11
12
13
14
15
16
17
18
19
20
21
22
23
23
24
24
25
26
27
27
28
28
29
29
30
30
31
31
32
32
33
33
34
34
35
35
36
36
37
37
38
39
39
40
40
41
41
42
43
44
45
45
46
47
48
49
50
51
52
53
54
55
56
57
57
58
58
59
60
61
62
63
64
65
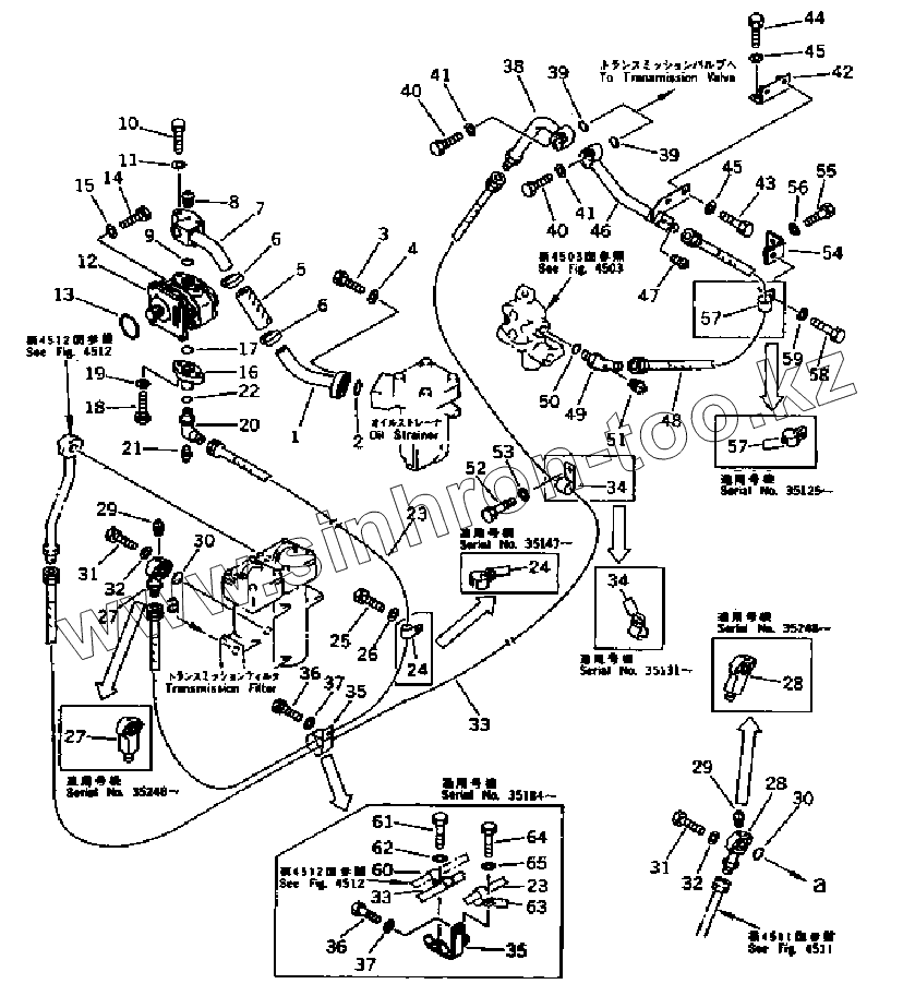
| Позиция на иллюстрации | Заводской номер детали | Название детали | |
|---|---|---|---|
| 08036-03014 | 08036-03014 | CLIP | |
| 21K-03-11190 | 21K-03-11190 | CLIP | |
| 113-899-7950 | 113-899-7950 | CLIP | |
| 154-49-51750 | 154-49-51750 | TUBE | |
| 154-49-51240 | 154-49-51240 | TUBE | |
| 08036-03014 | 08036-03014 | CLIP | |
| 1 | 154-49-51161 | TUBE | |
| 1 | 154-49-51162 | TUBE | |
| 2 | 07000-03042 | O-RING | |
| 3 | 01010-51240 | BOLT | |
| 4 | 01643-31232 | WASHER | |
| 5 | 07260-03213 | HOSE | |
| 5 | 07260-03212 | HOSE | |
| 6 | 208-09-11110 | CLAMP, HOSE | |
| 6 | 207-09-11110 | CLAMP, HOSE | |
| 7 | 154-49-51172 | TUBE | |
| 7 | 154-49-51171 | TUBE | |
| 8 | 07042-30108 | PLUG | |
| 9 | 07000-03032 | O-RING | |
| 10 | 01010-51080 | BOLT | |
| 11 | 01643-31032 | WASHER | |
| 12 | 07432-71203 | PUMP ASSY | |
| 13 | 07000-03075 | O-RING | |
| 14 | 01010-51030 | BOLT | |
| 15 | 01643-31032 | WASHER | |
| 16 | 154-49-11360 | FLANGE | |
| 17 | 07000-03022 | O-RING | |
| 18 | 01010-51035 | BOLT | |
| 19 | 01643-31032 | WASHER | |
| 20 | 07235-50628 | ELBOW | |
| 21 | 07042-30108 | PLUG | |
| 22 | 07002-02434 | O-RING | |
| 23 | 07102-20616 | HOSE | |
| 24 | 154-49-51970 | CLAMP | |
| 25 | 01010-51225 | BOLT | |
| 26 | 01643-31232 | WASHER | |
| 27 | 154-49-51241 | ELBOW | |
| 28 | 154-49-51751 | ELBOW | |
| 29 | 07042-30108 | PLUG | |
| 30 | 07000-03035 | O-RING | |
| 31 | 01010-51045 | BOLT | |
| 32 | 01643-31032 | WASHER | |
| 33 | 07102-20623 | HOSE | |
| 34 | 154-49-51970 | CLAMP | |
| 35 | 154-49-52110 | BRACKET | |
| 36 | 01010-51225 | BOLT | |
| 37 | 01643-31232 | WASHER | |
| 38 | 154-49-51280 | TUBE | |
| 39 | 07000-03028 | O-RING | |
| 40 | 01010-51055 | BOLT | |
| 41 | 01643-31032 | WASHER | |
| 42 | 154-49-51450 | BRACKET | |
| 43 | 01010-51030 | BOLT | |
| 44 | 01010-51045 | BOLT | |
| 45 | 01643-31032 | WASHER | |
| 46 | 154-49-51331 | TUBE | |
| 47 | 07042-30108 | PLUG | |
| 48 | 07102-21009 | HOSE | |
| 49 | 209-62-14550 | ELBOW | |
| 50 | 07002-02434 | O-RING | |
| 51 | 07042-30108 | PLUG | |
| 52 | 175-06-51020 | BOLT | |
| 53 | 01643-31032 | WASHER | |
| 54 | 175-06-25210 | BRACKET | |
| 55 | 01010-51650 | BOLT | |
| 56 | 01643-31645 | WASHER | |
| 57 | 195-49-11870 | CLAMP | |
| 58 | 01010-51230 | BOLT | |
| 58 | 01010-51225 | BOLT | |
| 59 | 01643-31232 | WASHER | |
| 60 | 176-61-41420 | CLIP | |
| 61 | 01010-51040 | BOLT | |
| 62 | 01643-31032 | WASHER | |
| 63 | 154-49-51970 | CLAMP | |
| 64 | 01010-51230 | BOLT | |
| 65 | 01643-31232 | WASHER |
Содержащиеся в справочниках-каталогах запасные части и детали не предлагаются к продаже, а носят исключительно информационный характер