Вернуться на главную
Поиск
Каталоги запчастей к технике
Спецтехника
Komatsu
D155C-1P
RADIATOR(15686-31573)
Каталог запасных частей к технике: Komatsu D155C-1P. RADIATOR(15686-31573)
zoom-in
zoom-out
enlarge
shrink
circle-right
circle-left
file-text2
info
cart
Тип техники
Не выбрано
Легковые автомобили
Грузовые автомобили и прицепы
Автобусы
Сельхозтехника
Спецтехника
Двигатели
Мототехника
Марка
Не выбрано
Ammann
BOMAG
CARMIX
CASE IH
Changlin
ChengGong
Dimex
Doosan
DYNAPAC
Foton
HAMM
Hidromek
Hitachi
Hyundai
JCB
JLG
John Deere
Komatsu
LIEBHERR
LiuGong
Lonking (LongGong)
Luneng
MANITOU
Mitsuber
New Holland
PENGPU
RM-Terex
SANY
SDLG
SEM
Shantui
Shehwa HBXG
Soosan
TIGARBO
VOGELE
Volvo
WAY
WIRTGEN
XCMG
XGMA
Xiamen
YTO
Yuchai
Zoomlion
Автокран
АЗСМ
Алтайлесмаш
Амкодор
АОМЗ
Атек
АТЗ
Балканкар Рекорд
БелАЗ
Беловеж
Борекс
Брянский Арсенал
Булат
ВЭКС
ГАЗ
Геомаш
Гидромаш
Донекс
Дормаш
Дормашина
Дорэлектромаш
ДЭЗ
ЕлАЗ
ЗЗГТ
Ижнефтемаш
Канаш-электрокар
КЗКТ
ККЗ
Клевер
Клинцовский автокрановый завод
КМЗ
КМЗ 1 Мая
Ковровец
Коммаш
Кранэкс
КЭЗ
КЭМЗ
ЛЗА
МАЗ
МЗИК
МЗКМ
МЗКТ
Михневский РМЗ
МоАЗ
Мозырский МЗ
МТЗ
ОЗП
Онежец
ПАО "ТЗА"
ППС Детва
Промтрактор
ПТЗ
Раскат
СпецАгрегат
ТВЭКС
ТТМ
УВЗ
Угличмаш
УЗТМ
ХТЗ
ЧЗКМ
ЧСДМ
ЧТЗ
ЭКСКО
ЭКСМАШ
ЮрМаш
Модель
Не выбрано
D155C-1 (2010)
D155C-1 (спец.) (2010)
D155C-1D (2010)
D155C-1P (2010)
D355C-3 (2010)
D355C-3 (2010)
D85A-21 (2010)
D85A-21 (2010)
D85A-21B (2010)
D85C-21A (2010)
PC200, 210(LC)-7 (2004)
PC200-6 (2010)
PC200-7 (2010)
PC200-7-AA (2010)
PC200-8MO (2010)
PC200LC-7 (2010)
PC200LC-8M0 (2010)
PC210-6 (2010)
PC210LC-6 (2010)
PC220-7 (2010)
PC220-8MO (2010)
PC220LC-8MO (2010)
PC300-7 (2010)
PC300-8MO (2010)
PC300LC-7 (2010)
PC300LC-8MO (2010)
PC35MR-3 (2010)
PC400-7 (2010)
PC400-7EO (2010)
PC400LC-7 (2010)
PC55MR-3 (2010)
WB93R-5E0 (2018)
WB93S-5E0 (2018)
WB97S-5E0 (2018)
Погрузчик SK820 (2015)
Схема
>
Не выбрано
ENGINR MOUNTING (FOR 155 ENGINE)
RADIATOR PIPING(15686-31573)
RADIATOR PIPING (FOR 155 ENGINE)(31578-)
RADIATOR FAN BELT (FOR 155 ENGINE)
RADIATOR FUN GUARD
OIL COOLER(15686-31573)
OIL COOLER (FOR 155 ENGINE)(31578-)
FUEL TANK(15686-31573)
FUEL TANK (FOR 155 ENGINE)(31578-)
FUEL PIPING(15686-31573)
FUEL PIPING (FOR 155 ENGINE)(31578-)
ELECTRICAL SYSTEM (1/3)(15686-31573)
ELECTRICAL SYSTEM (FOR 155 ENGINE) (2/3)(15686-31573)
ELECTRICAL SYSTEM (ENGINE ROOM) (FOR 155 ENGINE)(31578-)
ENGINE ROOM CABLE (FOR 155 ENGINE)(31578-)
POWER TAKE OFF (1/2)
POWER TAKE OFF (2/2)
UNIVERSAL JOINT(31574-)
TORQUE CONVERTER BARE(31303-31563)
TORQUE CONVERTER BARE(31564-)
TORQUE CONVERTER OUTPUT(31303-31563)
TORQUE CONVERTER OUTPUT(31564-)
TORQUE CONVERTER CASE(31303-31563)
TORQUE CONVERTER CASE(31564-)
TORQUE CONVERTER HOUSING(31303-31563)
TORQUE CONVERTER HOUSING(31564-)
TORQUE CONVERTER PUMP(31303-31563)
TORQUE CONVERTER PUMP(31564-)
TORQUE CONVERTER RELIEF VALVE(31303-31563)
TORQUE CONVERTER RELIEF VALVE(31564-)
TORQUE CONVERTER REGULATOR VALVE(31303-31563)
TORQUE CONVERTER REGULATOR VALVE(31564-)
TORQUE CONVERTER HOUSING AND REGULATOR VALVE(15686-31302)
TORQUE CONVERTER (MOUNTING PARTS)(31303-)
TURBINE SHAFT AND STATOR(15686-31302)
TRANSMISSION BARE (1/2)(31303-31563)
TRANSMISSION BARE (1/2)(31564-)
TRANSMISSION BARE (2/2)(31303-31563)
TRANSMISSION BARE (2/2)(31564-)
TRANSMISSION CARRIER (1/3)(31303-31563)
TRANSMISSION CARRIER (1/3)(31564-)
TRANSMISSION CARRIER (2/3)(31303-31563)
TRANSMISSION CARRIER (2/3)(31564-)
TRANSMISSION CARRIER (3/3)(31303-31563)
TRANSMISSION CARRIER (3/3)(31564-)
TRANSMISSION CASE(31303-31563)
TRANSMISSION CASE(31564-)
TRANSFER(31303-31563)
TRANSFER(31564-)
TRANSMISSION INPUT AND OUTPUT(31303-31563)
TRANSMISSION INPUT AND OUTPUT(31564-)
CONTROL VALVE (LOWER)(31303-31563)
CONTROL VALVE (LOWER)(31564-)
CONTROL VALVE (UPPER)(31303-31563)
CONTROL VALVE (UPPER)(31564-)
LUBRICATION VALVE(31303-31563)
LUBRICATION VALVE(31564-)
CONTROL VALVE COVER (1/2)(31303-31563)
CONTROL VALVE COVER (1/2)(31564-)
CONTROL VALVE COVER (2/2)(31303-31563)
CONTROL VALVE COVER (2/2)(31564-)
TORQFLOW TRANSMISSION CASE(15686-31302)
PLANETARY GEAR AND SHAFT(15686-31302)
PLANETARY GEAR AND SHAFT(15686-31302)
TORQFLOW TRANSMISSION TRANSFER(15686-31302)
TRANSMISSION CONTROL VALVE(15686-31302)
VALVE CONTROL LEVER(15686-31302)
REGULATOR VALVE(15686-31302)
BEVEL GEAR AND SHAFT
STEERING CLUTCH(31586-)
BRAKE BAND AND LINKAGE(31574-)
BRAKE BOOSTER AND PIPING(31574-)
FINAL DRIVE CASE
FINAL DRIVE GEAR AND SHAFT
STEERING CONTROL VALVE
MAIN RELIEF VALVE AND SAFETY VALVE
STEERING CONTROL VALVE RELATED PARTS
STEERING PIPING
TORQUE CONVERTER PIPING(15686-31573)
TORQUE CONVERTOR PIPING (FOR 155 ENGINE)(31578-)
TORQFLOW TRANSMISSION PIPING(31578-)
STEERING PIPING(15686-31573)
STEERING PIPING (SUCTION LINE)(31578-)
STEERING PIPING (FOR 155 ENGINE)(31578-)
STEERING PIPING (RETURN LINE) (FOR 155 ENGINE)(31578-)
SAFETY PIPING (FOR 155 ENGINE)(31578-)
TRANSMISSION OIL FILTER
STEERING STRAINER
STEERING OIL FILTER
COUNTER WEIGHT PUMP(15686-31573)
COUNTER WEIGHT PUMP(31574-)
STEERING CASE FRAME (FOR 155 ENGINE)(15686-31573)
STEERING CASE FRAME (FOR 155 ENGINE)(31578-)
STEERING CASE REAR COVER(31574-)
OIL FILLER AND LEVEL GAUGE (WITH SAFETY DEVICE)
SUSPENSION(15686-31642)
OPERATOR'S SEAT(31574-)
OPERATOR'S SEAT ASSEMBLY(31416-)
CAB (BODY) (FOR 155 ENGINE)(15686-31573)
CAB (BODY) (FOR 155 ENGINE)(31578-)
CAB (COVER) (FOR 155 ENGINE)(31578-)
CAB (DOOR AND WINDOW)
CAB (INTERIA)
CAB (ELECTRICAL PARTS)(31586-)
CAB (VENTILATOR)(31586-)
CAB (REAR WORK LAMP AND WIPER) (FOR 155 ENGINE)
HOT AIR PIPING AND AIR CONDITIONER RELATED PARTS (FOR 155 ENGINE)(31578-)
DUCT RELATED PARTS (FOR 155 ENGINE)(31578-)
CAB HEATER PIPING
CAB COOLER PIPING (FOR 155 ENGINE)(31578-)
BOOM WORK LAMP (FOR 155 ENGINE)
FOG LAMP (FOR 155 ENGINE)
REAR VIEW MIRROR(31574-)
WINCH LAMP (FOR 155 ENGINE)(31416-)
SUNVISOR(31416-)
CAB MOUNT(31586-)
CAB (INTERIOR)(15686-31573)
FLOOR MAT(31574-)
HOT AIR PIPING AND AIR CONDITIONER RELATED PARTS(15686-31573)
HEATER RELATED PARTS(15686-31573)
HEATER PIPING (FOR 155 ENGINE)(15686-31573)
HEATER PIPING (FOR 155 ENGINE)(31574-)
HEATER ASS'Y
GRILL ASS'Y
ASHTRAY
EXTINGUISHER(31416-)
FIRST AID BOX(31416-)
FLOOR FRAME(31574-)
DECELERATOR PEDAL(15686-31573)
DECELERATOR PEDAL(31574-)
FUEL CONTROL LEVER(31586-)
FUEL CONTROL LINKAGE(15686-31573)
FUEL CONTROL LINKAGE(31574-)
PARKING BRAKE LEVER(15686-31573)
PARKING BRAKE LEVER(31574-)
GEAR SHIFT LEVER(15686-31573)
GEAR SHIFT LEVER (1/2)(31574-)
GEAR SHIFT LEVER (2/2)(31574-)
WINCH CONTROL LEVER LINKAGE(15686-31573)
WINCH CONTROL LEVER LINKAGE(31574-)
HOOK AND HIGH-LOW CONTROL LEVER(15686-31573)
HOOK AND HIGH-LOW CONTROL LEVER(31574-)
BOOM CONTROL LEVER(15686-31573)
BOOM CONTROL LEVER (FOR 155 ENGINE)(31562-)
HOOK AND HIGH-LOW CONTROL LOCK LEVER(31574-)
COUNTER WEIGHT CONTROL LEVER(15686-31573)
COUNTER WEIGHT CONTROL LEVER(31586-)
BOOM KICK-OUT CONTROL LEVER(15686-31573)
BOOM KICK-OUT CONTROL LEVER(31574-)
HORN SWITCH
CAB DOOR LOCK(31562-)
CIGA LIGHTER AND ASHTRAY CASE(31586-)
INSTRUMENT PANEL(21739-31573)
INSTRUMENT PANEL (FOR 155 ENGINE)(31578-)
DUSH BOARD (FOR 155 ENGINE)(31578-)
COMPRESSION RELEASE LEVER (FOR 155 ENGINE)(31578-)
FUEL LEVER(31574-)
STEERING AND BRAKE CONTROL LINKAGE (FOR 155 ENGINE)(31578-)
BRAKE PEDAL LINKAGE(15686-31573)
BRAKE PEDAL LINKAGE(31574-)
STEERING CONTROL LEVER(15686-31573)
STEERING CONTROL LEVER (WITH RADIATOR SHUTTER)(31578-)
STEERING CONTROL LEVER LINKAGE (FOR 155 ENGINE)(31578-)
STEERING LEVER LINKAGE (FOR 155 ENGINE)(31578-)
OVER WIND ALARM(31586-)
SAFETY DEVICE RELATED(31586-)
FLOOR FRAME COVER(31578-)
ARM REST(31578-)
FUEL CONTROL LINKAGE (FOR 155 ENGINE)(15686-31573)
GEARSHIFT LEVER KNOB
GEARSHIFT LINKAGE (FOR 155 ENGINE)
STEERING LEVER AND BRAKE PEDAL LINKAGE (1/2)
STEERING LEVER AND BRAKE PEDAL LINKAGE (2/2)
KNOB
FUEL CONTROL LINKAGE (FOR 155 ENGINE)(31578-)
CONPRESSION RELEASE LEVER (FOR 155 ENGINE)(31578-)
RADIATOR(15686-31573)
RADIATOR (FOR 155 ENGINE)(31578-)
RADIATOR FAN GUARD (FOR 155 ENGINE)
RADIATOR PIPING(31574-31591)
RADIATOR FAN GUARD AND NET(15686-31573)
RADIATOR FAN DRIVE (FOR 155 ENGINE)(31578-)
HEAD AND SIDE LAMP(15686-31591)
ENGINE HOOD AND GUARD (RADIATOR GUARD)(15686-31573)
RADIATOR GUARD (FOR 155 ENGINE)
RADIATOR MASK(15686-31573)
RADIATOR MASK (FOR 155 ENGINE)(31578-)
RADIATER SHUTTER(31586-)
RADIATOR FAN NET (FOR 155 ENGINE)(31578-)
COMPRESSOR PULLEY (FOR SAND AND DUSTY)
RADIATOR BUMPER (FOR 155 ENGINE)
RADIATOR MARK
ENGINE HOOD (FOR 155 ENGINE)(31578-)
SIDE COVER(15686-31573)
ENGINE SIDE COVER (FOR 155 ENGINE)(31578-)
ENGINE SIDE COVER (OPEN)(15686-31573)
FEND AND FLOOR FRAME(15686-31573)
FENDER (FOR 155 ENGINE)(31562-)
CAB MOUNTING
BATTERY AND CASE(15686-31573)
BATTERY COVER (FOR 155 ENGINE)(31578-)
FENDER CABLE
TRANSMISSION SPEED CONTROL LEVER
BATTERY (NS200¤WET)(31586-)
BATTERY RELATED PARTS
HYDRAULIC TANK AND CONTROL(31586-)
COUNTER WEIGHT FILTER(15686-31573)
COUNTER WEIGHT FILTER(31574-)
COUNTER WEIGHT PIPING (1/2)
COUNTER WEIGHT PIPING (2/2)(31586-)
COUNTER WEIGHT CONTROL LEVER(31574-)
FENDER PLATE(15686-31573)
FENDER RELATED PARTS (FOR 155 ENGINE)(31578-)
REAR COVER(31574-)
ENGINE HOOD AND GUARD (UNDER GUARD)(15686-31573)
UNDER GUARD (WITH HINGE) (FOR 155 ENGINE)(31578-)
FRONT IDLER
TRACK ROLLER
CARRIER ROLLER(15686-31230)
CARRIER ROLLER(31231-)
TRACK SHOE (710MM) (SINGLE GROUSER) (GREASE TYPE) (90 SET)(15686-31600)
TRACK SHOE (760MM) (SINGLE GROUSER) (GREASE TYPE) (90 SET)(31593-)
TRACK FRAME(15688-31573)
TRACK FRAME (L.H.)(31574-)
TRACK FRAME (R.H.)(31574-)
RECOIL SPRING
TRACK FRAME COVER
TRACK ROLLER CENTER GUARD
COUNTER WEIGHT (FOR 155 ENGINE)
COUNTER WEIGHT PIPING (1/3) (TANK TO PUMP)
COUNTER WEIGHT PIPING (2/3) (FRONT CYLINDER LINE)
COUNTER WEIGHT PIPING (3/3) (REAR CYLINDER LINE)
BOOM
BLOCK AND HOOK(31562-)
SHEAVE BLOCK
MOMENT LIMITTER (7.3M)(31578-)
MOMENT LIMITTER (6.2M)(31578-)
LOAD INDICATOR (7.3M) (FOR RUSSIAN)(31578-)
LOAD INDICATOR (6.2M) (FOR RUSSIAN)(31578-)
LOAD INDICATOR (6.2M)
AUTOMATIC OVER WIND ALARM(15686-31573)
AUTOMATIC OVER WIND ALARM(31574-)
OVER WIND RELAY SWITCH(31578-)
HOOK WIRE LOCK(31586-)
FRAME(15686-31573)
FRAME (1/2)(31578-)
FRAME (2/2) (FOR 155 ENGINE)(31416-)
WINCH (1/9)
WINCH (2/9)
WINCH (3/9)
WINCH (4/9)
WINCH (5/9)
WINCH (6/9)
WINCH (7/9)
WINCH (8/9)
WINCH (9/9)
WINCH CLUTCH (1/3)
WINCH CLUTCH (2/3)
WINCH CLUTCH (3/3)
WINCH BRAKE
WINCH FLOW DIVIDER
WINCH STRAINER
WINCH FILTER
WINCH CONTROL BOX
WIRE ROPE
DRUM ROLLER(31416-)
WINCH CONTROL LEVER LINKAGE (1/3)
WINCH CONTROL LEVER LINKAGE (2/3)
WINCH CONTROL LEVER LINKAGE (3/3)
WINCH CONTROL LEVER KNOB
BOOM KICKOUT CONTROL LEVER
WINCH COOLER PIPING(15686-31573)
WINCH COOLER PIPING (FOR 155 ENGINE)(31578-)
DRAWBAR (SWING)
MARK AND PLATES (RUSSIAN)(15686-31415)
MARK AND PLATES (RUSSIAN) (FOR 155 ENGINE)(31578-)
MARK PLATE (CENTER OF GRAVITY)
SPARE PARTS (FOR 155 ENGINE)(31578-)
CAP AND OVERALL(23286-31653)
CAP AND OVERALL(31654-)
TOOL (FOR 155 ENGINE)(23286-31573)
TOOL (RUSSIAN)(31578-31642)
VANDALISM PROTECTION (FOR 155 ENGINE)(31416-)
ELECTRIC ENGINE HEATER (FOR 155 ENGINE)(31416-)
SERVICE KIT(15686-31302)
SERVICE KIT(31303-)
SHOE BOLT AND NUT SERVICE KIT
TRACK LINK ASS'Y (90 SET) (SUPPLY PARTS)
TRANSMISSION PUMP
STEERING PUMP
WINCH PUMP
COUNTER WEIGHT PUMP
COUNTER WEIGHT CYLINDER (FOR 155 ENGINE)
PPC VALVE
SLOW RETURN VALVE
HIGH-LOW SELECT VALVE
COUNTER WEIGHT SLOW RETURN VALVE (1/2)
COUNTER WEIGHT SLOW RETURN VALVE (2/2)
1
2
3
4
5
6
7
8
9
10
11
12
12
12
12
13
13
14
14
14
14
14
14
15
15
16
17
18
18
19
19
20
21
22
22
23
24
25
26
27
28
29
30
30
30
30
31
32
33
34
35
36
37
37
37
37
38
39
40
40
41
42
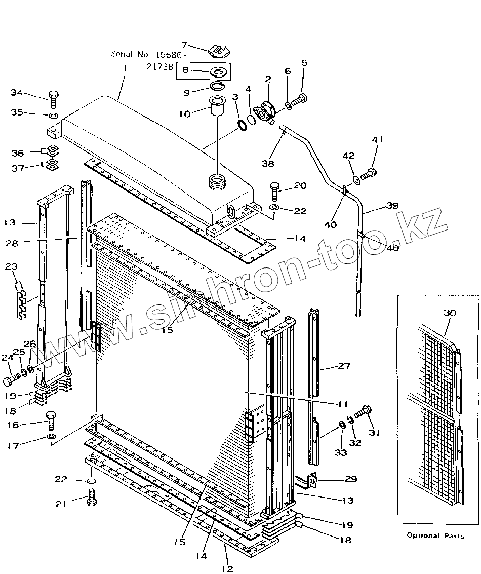
Позиция на иллюстрации
Заводской номер детали
Название детали
176-03-00011
176-03-00011
RADIATOR ASS'Y,D-TYPE
01602-01236
01602-01236
WASHER, SPRING
04059-01010
04059-01010
WIRE, LOCK
195-03-00080
195-03-00080
SHIM ASS'Y
01602-01854
01602-01854
WASHER,SPRING
01602-01236
01602-01236
WASHER, SPRING
175-03-00193
175-03-00193
SHIM ASS'Y
07093-00000
07093-00000
CAP,(FOR VANDALISM) (OP)
176-03-00012
176-03-00012
RADIATOR ASS'Y,D-TYPE
175-03-00290
175-03-00290
RADIATOR ASS'Y,D-TYPE
175-03-00189
175-03-00189
UPPER TANK ASS'Y
1
175-03-31118
TANK
2
154-03-11682
VALVE
3
07000-03045
O-RING
4
175-03-32570
SCREEN
5
01010-81025
BOLT
6
01602-01030
WASHER, SPRING
7
07053-10000
CAP, RADIATOR
8
175-03-21460
GASKET,FILLER
9
07057-03271
RING, FILLER
10
07056-00048
STRAINER
11
175-03-32260
CORE
12
175-03-31880
TANK
12
175-03-31132
TANK,LOWER
13
175-03-31690
SHIELD
14
175-03-31562
PACKING
14
175-03-31152
PACKING
15
175-03-31180
PLATE
16
01010-81025
BOLT
17
01602-01030
WASHER, SPRING
18
SHIM, 1.0MM
SHIM, 1.0MM
19
SHIM, 0.5MM
SHIM, 0.5MM
20
01010-81260
BOLT
21
01010-81245
BOLT
22
01643-31232
WASHER
23
175-03-31490
SHIM, 0.6MM
24
01010-81020
BOLT
25
01602-01030
WASHER, SPRING
26
01640-01016
WASHER
27
175-03-31471
BRACKET,L.H.
28
175-03-31481
BRACKET,R.H.
29
175-03-31460
PLATE
30
175-03-31274
GRID
30
175-03-32611
GRID
31
01010-81025
BOLT
32
01602-01030
WASHER, SPRING
33
01643-31032
WASHER
34
01010-81860
BOLT
35
01643-31845
WASHER
36
SHIM, 0.2MM
SHIM, 0.2MM
37
195-03-11570
SHIM, 1.0MM
37
SHIM, 1.0MM
SHIM, 1.0MM
38
07285-00095
CLIP
39
175-03-31390
TUBE
40
195-03-11690
CLIP
41
01010-81220
BOLT
42
01643-31232
WASHER
Содержащиеся в справочниках-каталогах запасные части и детали не предлагаются к продаже, а носят исключительно информационный характер
Дополнительная информация
×
Название:
Номер:
Примечание: