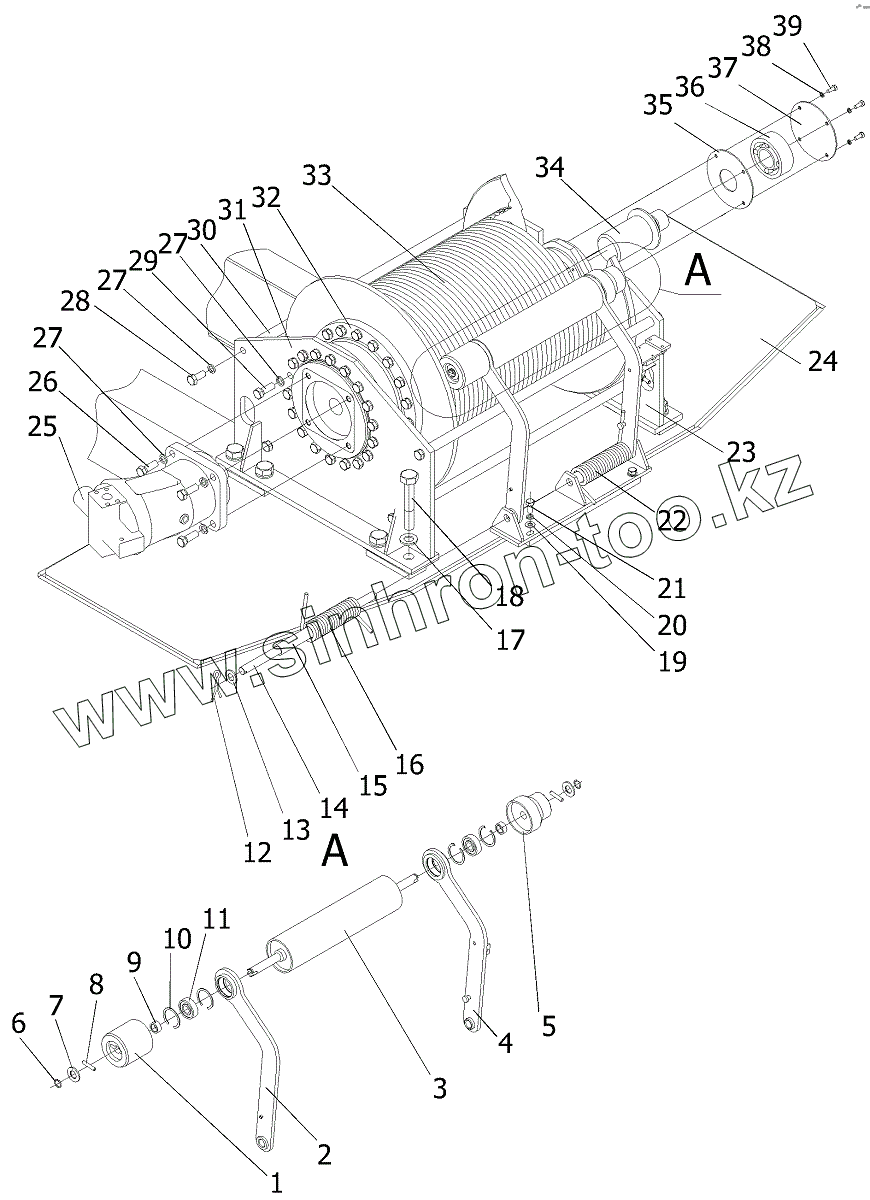
Каталог запасных частей к технике: Клинцовский автокрановый завод КС-55713-1К. Установка лебедки
1
2
3
4
5
6
7
8
9
10
11
12
13
14
15
16
17
18
19
20
21
22
23
24
25
26
27
27
27
28
29
30
31
32
33
34
35
36
37
38
39
| Позиция на иллюстрации | Заводской номер детали | Название детали | |
|---|---|---|---|
| 1 | КС-55713-6Б.27.102 | Бобышка | |
| 2 | КС-55713-1К.26.170 | Рычаг левый | |
| 3 | КС-65713-1.26.110-01 | Ролик | |
| 4 | КС-55713-1К.26.160 | Рычаг правый | |
| 5 | КС-55713-6Б.27.101 | Бобышка | |
| 6 | КС-55713-6Б.27.105 | Кольцо | |
| 7 | КС-55713-6Б.27.104 | Шайба | |
| 8 | КС-55713-6Б.27.103 | Штифт | |
| 9 | КС-55729-2.26.153 | Втулка | |
| 10 | Кольцо В52 | Кольцо | |
| 11 | Подшипник 80304 | Подшипник | |
| 12 | Шплинт 4х36.019 | Шплинт | |
| 13 | Шайба С 20.01.019 | Шайба | |
| 14 | КС-55713-1К.26.002 | Ось | |
| 15 | КС-55713-1К.26.003 | Проставка | |
| 16 | КС-65713-1.26.002-01 | Пружина | |
| 17 | Шайба 24.65Г.019 | Шайба | |
| 18 | КС-55713-1К.26.001 | Болт | |
| 19 | Гайка М30-6Н.5.019 | Гайка | |
| 20 | Шайба 30.65Г.019 | Шайба | |
| 21 | Болт М30-6gх160.58.019 | Болт | |
| 22 | КС-65713-1.26.002 | Пружина | |
| 23 | КС-55713-1К.26.120 | Стойка правая | |
| 24 | КС-55713-1К.26.250 | Плита | |
| 25 | 303.3.112.501 | Гидромотор регулируемый | |
| 26 | Болт М16-6gх45.58.019 | Болт | |
| 27 | Шайба 16.65Г.019 | Шайба | |
| 28 | Болт М16-6gх40.58.019 | Болт | |
| 29 | Болт М16-6gх50.58.019 | Болт | |
| 30 | КС-55713-1К.26.111 | Проставка | |
| 31 | КС-55713-1К.26.130 | Стойка левая | |
| 32 | 706 С2 В10 | Редуктор планетарный | |
| 33 | КС-55713-1.26.007-4 | Барабан | |
| 34 | КС-4572.26.103 | Ось | |
| 35 | КС-3562А.44.015-01 | Крышка | |
| 36 | Подшипник 3610 | Подшипник | |
| 37 | КС-3562А.44.015 | Крышка | |
| 38 | Гайка М8-6Н.5.019 | Гайка | |
| 39 | Болт М8-6gх60.58.019 | Болт |
Содержащиеся в справочниках-каталогах запасные части и детали не предлагаются к продаже, а носят исключительно информационный характер