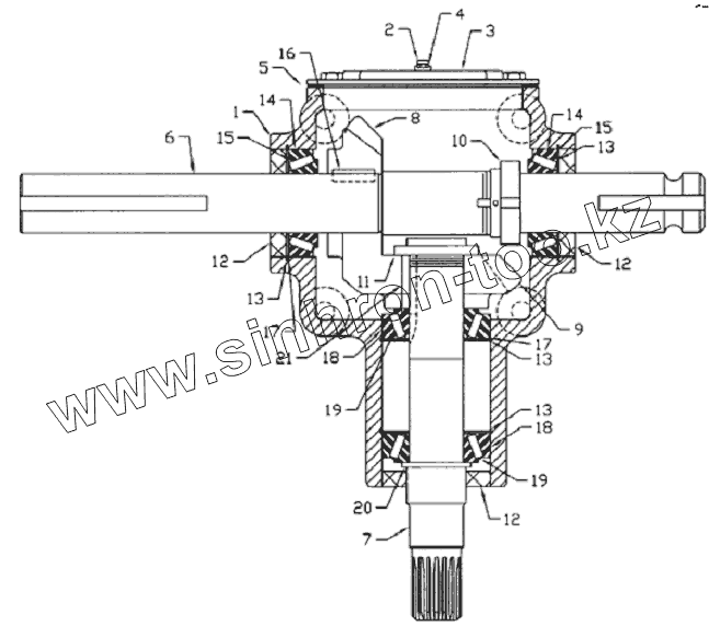
Каталог запасных частей к технике: Клевер СШР-150, 210. Редуктор в сборе
1
2
3
4
5
6
7
8
9
10
11
12
12
12
13
13
13
13
14
14
15
15
16
17
17
18
18
19
19
20
21
| Позиция на иллюстрации | Заводской номер детали | Название детали | |
|---|---|---|---|
| BU50506 | BU50506 | Редуктор | |
| 1 | BU50310 | Литой корпус редуктора | |
| 2 | BU500089-3 | Заглушка | |
| 3 | BU50457 | Крышка редуктора | |
| 4 | BU500167-1 | Предохранительный клапан | |
| 5 | BU50458 | Уплотнитель редуктора | |
| 6 | BU50508 | Вал | |
| 7 | BU50502 | Зубчатый вал | |
| 8 | BU50329 | Коническая зубчатая передача 1 1/2 B | |
| 9 | BU50331 | Коническая зубчатая передача 1 3/8 B | |
| 10 | BU50428 | Регулировочная гайка | |
| 11 | BU50444 | Регулировочная гайка | |
| 12 | BU50422-1 | Сальник | |
| 13 | BU50415 | Стопорное кольцо | |
| 14 | BU575902 | Наружное кольцо подшипника | |
| 15 | BU575901 | Внутреннее кольцо подшипника | |
| 16 | BU50429 | Шпонка | |
| 17 | BU50210X | Набор регулировочных прокладок | |
| 18 | BU575907 | Наружное кольцо подшипника | |
| 19 | BU575906 | Внутреннее кольцо подшипника | |
| 20 | BU278811 | Стопорное кольцо | |
| 21 | BU50417-1 | Шпонка |
Содержащиеся в справочниках-каталогах запасные части и детали не предлагаются к продаже, а носят исключительно информационный характер