Вернуться на главную
Поиск
Каталоги запчастей к технике
Спецтехника
ККЗ
КС-5576Б
ЦИЛИНДР Ц-032.025.00.000
Каталог запасных частей к технике: ККЗ КС-5576Б. ЦИЛИНДР Ц-032.025.00.000
zoom-in
zoom-out
enlarge
shrink
circle-right
circle-left
file-text2
info
cart
Тип техники
Не выбрано
Легковые автомобили
Грузовые автомобили и прицепы
Автобусы
Сельхозтехника
Спецтехника
Двигатели
Мототехника
Марка
Не выбрано
Ammann
BOMAG
CARMIX
CASE IH
Changlin
ChengGong
Dimex
Doosan
DYNAPAC
Foton
HAMM
Hidromek
Hitachi
Hyundai
JCB
JLG
John Deere
Komatsu
LIEBHERR
LiuGong
Lonking (LongGong)
Luneng
MANITOU
Mitsuber
New Holland
PENGPU
RM-Terex
SANY
SDLG
SEM
Shantui
Shehwa HBXG
Soosan
TIGARBO
VOGELE
Volvo
WAY
WIRTGEN
XCMG
XGMA
Xiamen
YTO
Yuchai
Zoomlion
Автокран
АЗСМ
Алтайлесмаш
Амкодор
АОМЗ
Атек
АТЗ
Балканкар Рекорд
БелАЗ
Беловеж
Борекс
Брянский Арсенал
Булат
ВЭКС
ГАЗ
Геомаш
Гидромаш
Донекс
Дормаш
Дормашина
Дорэлектромаш
ДЭЗ
ЕлАЗ
ЗЗГТ
Ижнефтемаш
Канаш-электрокар
КЗКТ
ККЗ
Клевер
Клинцовский автокрановый завод
КМЗ
КМЗ 1 Мая
Ковровец
Коммаш
Кранэкс
КЭЗ
КЭМЗ
ЛЗА
МАЗ
МЗИК
МЗКМ
МЗКТ
Михневский РМЗ
МоАЗ
Мозырский МЗ
МТЗ
ОЗП
Онежец
ПАО "ТЗА"
ППС Детва
Промтрактор
ПТЗ
Раскат
СпецАгрегат
ТВЭКС
ТТМ
УВЗ
Угличмаш
УЗТМ
ХТЗ
ЧЗКМ
ЧСДМ
ЧТЗ
ЭКСКО
ЭКСМАШ
ЮрМаш
Модель
Не выбрано
КС-4561А (2009)
КС-5576Б (2009)
КС-6476 (2007)
Схема
>
Не выбрано
Общий вид крана КС-5576Б.000.00.000
Общий вид с дополнительным оборудованием
Обойма крюковая в сборе КС-5576А.405.00.000
Шасси в сборе КС-5576Б.100.00.000
Доработка шасси МАЗ-630303 КС-5576Б.101.00.000
УСТАНОВКА ГЛУШИТЕЛЯ КС-5576Б.102.00.000
ЭЛЕКТРООБОРУДОВАНИЕ ШАССИ КС-5576Б.110.00.000
УСТАНОВКА ПРИВОДА НАСОСОВ И КОРОБКИ ОТБОРА МОЩНОСТИ КС-5576Б.112.00.000
ПРИВОД НАСОСОВ В СБОРЕ КС-5576Б.103.00.000
УПРАВЛЕНИЕ КОМ КС-5576Б.113.00.000
УПРАВЛЕНИЕ ТОПЛИВОПОДАЧЕЙ КС-5576Б.114.00.000
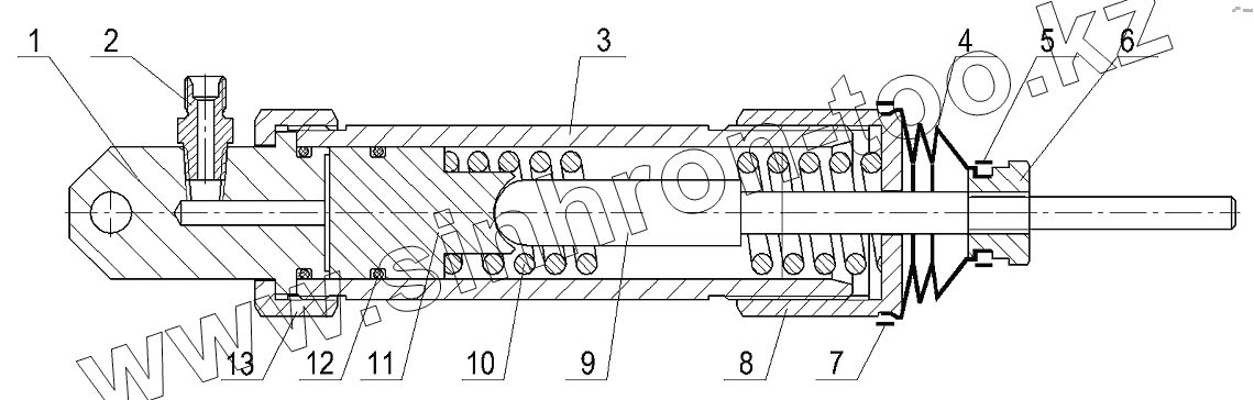
ЦИЛИНДР Ц-032.025.00.000
РАМА НЕПОВОРОТНАЯ В СБОРЕ КС-5576Б.200.00.000
БАЛКА ОПОРНАЯ В СБОРЕ КС-5576А.202.00.000
ГИДРОЦИЛИНДР ВЫДВИЖЕНИЯ БАЛОК Ц-080.177.00.000
ГИДРОЦИЛИНДР ОПОРНЫЙ Ц-125.067.00.000
ГИДРОРАСПРЕДЕЛИТЕЛЬ ОПОРНЫЙ В СБОРЕ КС-5576А.204.00.000
КРАН ДВУХХОДОВОЙ КС-5576А.205.00.000
КОЛЛЕКТОР ЦЕНТРАЛЬНЫЙ КС-5576А.206.00.000
БАК МАСЛЕНЫЙ В СБОРЕ КС-5576А.208.00.000-01
ВЕНТИЛЬ В СБОРЕ КС-5576А.208.02.000
КРЫШКА В СБОРЕ КС-5576А.208.05.000
СТРЕЛА В СБОРЕ КС-5576Б.340.01.000
ОГРАНИЧИТЕЛЬ КС-5476А.401.00.800
КРОНШТЕЙН ОБВОДНОЙ КС-5576Б.340.01.500
ГИДРОЦИЛИНДР Ц-125.676.80.000
ГИДРОЦИЛИНДР Ц-125.701.80.000
БУКСА Ц-125.701.83.000
БУКСА Ц-125.701.86.000
РАМА ПОВОРОТНАЯ В СБОРЕ КС-5576Б.360.00.000-01
ГИДРОРАСПРЕДЕЛИТЕЛЬ ГРУЗОВОЙ В СБОРЕ КС-5576А.305.00.000
ГИДРОРАСПРЕДЕЛИТЕЛЬ ПОВОРОТНЫЙ В СБОРЕ КС-5576А.306.00.000
РОЛИК КС-5576А.310.00.000
КАБИНА КРАНОВЩИКА В СБОРЕ КС-5576А.350.00.000
ПАНЕЛЬ В СБОРЕ КС-5576А.350.10.000
БЛОК УПРАВЛЕНИЯ 111ВF В СБОРЕ КС-5576А.350.12.000
БЛОК УПРАВЛЕНИЯ 100ВН (М) В СБОРЕ КС-5576А.350.13.000
ГИДРОРАСПРЕДИЛИТЕЛЬ В СБОРЕ КС-5576А.350.14.000
ГИДРОРАСПРЕДИЛИТЕЛЬ В СБОРЕ КС-5576А.350.15.000
ГИДРОРАСПРЕДИЛИТЕЛЬ В СБОРЕ КС-5576А.350.16.000
ПУЛЬТ УПРАВЛЕНИЯ КС-5576А.350.18.000
МЕХАНИЗМ ПОВОРОТА В СБОРЕ КС-5576Б.303.00.000
ГИДРОРАСПРЕДЕЛИТЕЛЬ ВЕХ В СБОРЕ КС-5576Б.315.00.000
ШЛАНГОВЫЙ БАРАБАН КС-5576Б.316.00.000
МЕХАНИЗМ ПОДЪЕМА КС-5576Б.331.00.000
УСТАНОВКА ЭЛЕКТРООБОРУДОВАНИЯ КС-5576Б.600.03.000
ГИДРОЦИЛИНДР ПОДЪЕМА Ц-200.265.00.000
ГИДРОЦИЛИНДР Ц-200.265.10.000
БУКСА В СБОРЕ Ц-200.265.10.500
БУКСА В СБОРЕ Ц-200.265.10.600
ПОРШЕНЬ Ц-200.265.10.900
ПОРШЕНЬ Ц-200.265.10.950
1
2
3
4
5
6
7
8
9
10
11
12
13
Позиция на иллюстрации
Заводской номер детали
Название детали
1
Ц-032.025.00.003
Дно
2
Ц-032.025.00.002
Штуцер
3
Ц-032.025.00.001
Гильза
4
Ц-032.025.00.012
Пыльник
5
Ц-032.025.00.010-01
Кольцо
6
Ц-032.025.00.011
Гайка
7
Ц-032.025.00.010
Кольцо
8
Ц-032.025.00.008
Гайка
9
Ц-032.025.00.005
Шток
10
Ц-032.025.00.006
Пружина
11
Ц-032.025.00.004
Поршень
12
027-032-30-2-4
Кольцо 027-032-30-2-4
13
Ц-032.025.00.007
Гайка
Содержащиеся в справочниках-каталогах запасные части и детали не предлагаются к продаже, а носят исключительно информационный характер
Дополнительная информация
×
Название:
Номер:
Примечание: