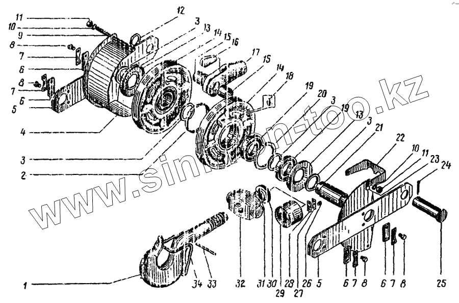
Каталог запасных частей к технике: ККЗ КС-4561А. 4561А.405.00.000 Обойма крюковая
1
2
3
3
3
3
4
5
5
6
6
6
6
7
7
7
7
8
8
8
8
9
10
10
11
11
12
13
13
14
14
15
15
16
17
18
19
19
20
21
22
23
24
25
26
27
28
29
30
31
32
33
34
| Позиция на иллюстрации | Заводской номер детали | Название детали | |
|---|---|---|---|
| 1 | 4561А.405.00.007 | Крюк | |
| 2 | 4561А.401.00.002 | Кольцо | |
| 3 | 162.302.00.11 | Кольцо промежуточное | |
| 4 | 4561А.405.00.004 | Кожух | |
| 5 | 162.405.06.00 | Щека | |
| 6 | 162.405.00.23 | Оседержатель | |
| 7 | 162.405.00.21 | Шайба-замок | |
| 8 | 162.405.00.19 | Болт | |
| 9 | 4561А.405.00.006 | Шпилька | |
| 10 | 6402.65.16 | Шайба | |
| 11 | 5915.16 | Гайка | |
| 12 | 9649.70 | Шайба | |
| 13 | 162.404.00.27 | Крышка | |
| 14 | 162.302.00.10 | Блок | |
| 15 | 4561А.405.00.002 | Втулка | |
| 16 | 162.302.00.17А | Клин | |
| 17 | 162.405.00.10А | Втулка клиновая | |
| 18 | 19853.01.2 | Масленка | |
| 19 | 8338.02.20 | Подшипник | |
| 20 | 162.302.00.12 | Кольцо распорное | |
| 21 | 4561А.405.00.003 | Ось | |
| 22 | 4561А.405.01.000 | Упор | |
| 23 | 162.405.00.17 | Упор | |
| 24 | 397.10.0.100 | Шплинт | |
| 25 | 4561А.405.00.001 | Палец | |
| 26 | 7808.12.20 | Болт | |
| 27 | 162.405.00.20 | Шайба-замок | |
| 28 | 162.405.00.22 | Оседержатель | |
| 29 | 162.405.03.00 | Гайка | |
| 30 | 6874.82.17 | Подшипник | |
| 31 | 162.405.00.14 | Кольцо | |
| 32 | 4561А.405.00.005 | Траверса | |
| 33 | 162.405.00.26А | Штифт | |
| 34 | 162.405.04.00 | Скоба |
Содержащиеся в справочниках-каталогах запасные части и детали не предлагаются к продаже, а носят исключительно информационный характер