Каталог запасных частей к технике: КЭМЗ ANT750. Управление 1-01060
1
2
3
4
5
6
7
8
8
9
9
10
11
12
13
14
15
15
16
16
17
17
20
20
21
21
22
22
22
22
23
24
24
25
26
26
27
27
27
27
27
27
28
29
29
30
31
32
33
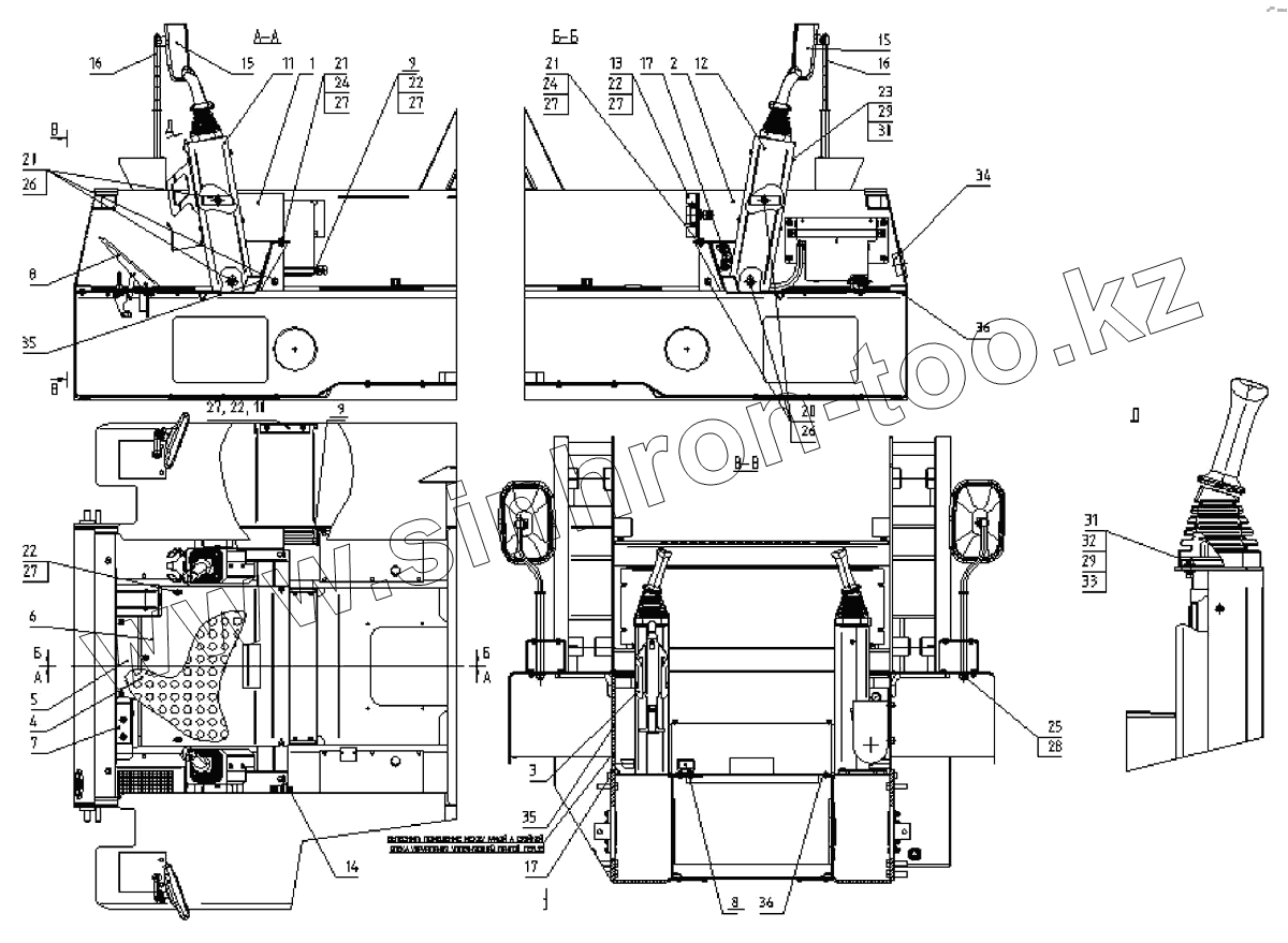
| Позиция на иллюстрации | Заводской номер детали | Название детали | |
|---|---|---|---|
| 1 | 1-00275 | Стойка | |
| 2 | 1-00274 | Стойка | |
| 3 | 2-02258 | Держатель огнетушителя | |
| 4 | Коврик | Коврик | |
| 5 | 4-04635 | Крышка пола | |
| 6 | 3-04288 | Пол кузова | |
| 7 | 3-00957 | Педаль | |
| 8 | 4-04681 | Управление двигателем | |
| 9 | 4-04668 | Хомут | |
| 10 | 4-04672 | Державка | |
| 11 | 3-00974 | Крышка | |
| 12 | 3-00975 | Крышка | |
| 13 | 4-09026 | Бордюр | |
| 14 | Уплотнение | Уплотнение | |
| 15 | Зеркало заднего вида | Зеркало заднего вида | |
| 16 | 4-08965 | Держатель зеркала | |
| 17 | Обкладка | Обкладка | |
| 18 | М10x16 | Болт | |
| 19 | М8х20 | Болт | |
| 20 | M8x12 | Болт | |
| 21 | M6x12 | Болт | |
| 22 | М8 | Гайка | |
| 23 | 17 | Шайба | |
| 24 | 10,5 | Шайба | |
| 25 | 8,4 | Шайба | |
| 26 | М16 | Гайка | |
| 27 | 6,4 | Шайба | |
| 28 | М6 | Гайка | |
| 29 | M6x16 | Болт | |
| 30 | М6 | Гайка | |
| 31 | 6 | Шайба | |
| 32 | Вентиляционная решётка | Вентиляционная решётка | |
| 33 | Уплотнительная лента | Уплотнительная лента |
Содержащиеся в справочниках-каталогах запасные части и детали не предлагаются к продаже, а носят исключительно информационный характер