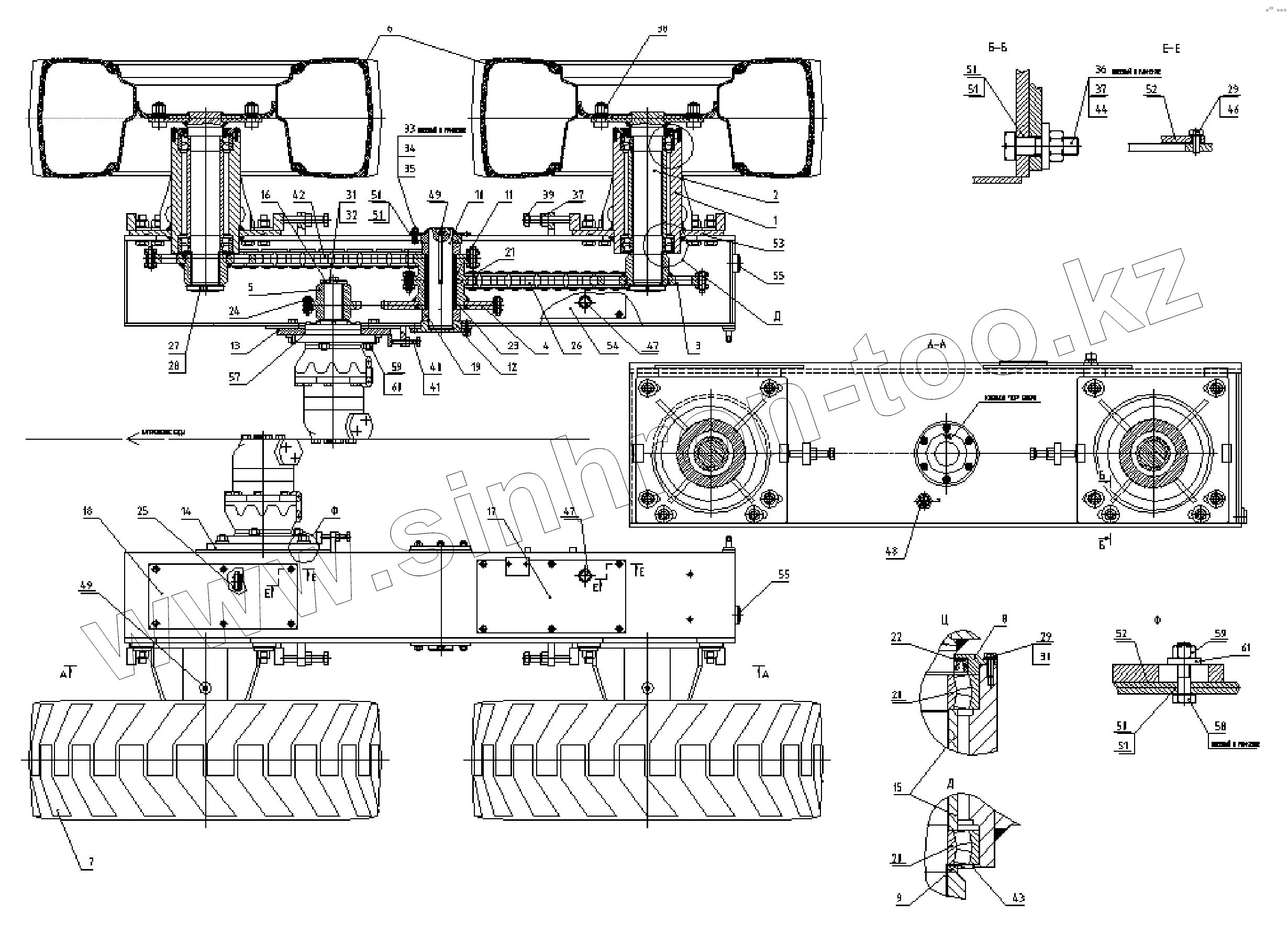
Каталог запасных частей к технике: КЭМЗ ANT750. Привод передвижения ANT651.80.00.000
1
2
3
4
5
6
7
8
9
10
11
12
13
14
15
16
17
18
19
20
20
21
22
23
24
25
26
27
28
29
29
30
31
32
33
34
35
36
37
37
38
39
40
41
42
43
44
46
47
47
48
49
49
50
50
50
51
51
51
52
52
53
54
55
55
57
58
59
59
60
61
| Позиция на иллюстрации | Заводской номер детали | Название детали | |
|---|---|---|---|
| 1 | ANT651.80.00.100 | Консоль | |
| 2 | ANT651.80.00.150 | Вал | |
| 3 | ANT651.80.00.200 | Звёздочка | |
| 4 | ANT651.80.00.250 | Звёздочка трёхрядная | |
| 5 | ANT651.80.00.001 | Звёздочка | |
| 6 | ANT651.80.00.600 | Колесо | |
| 7 | ANT651.80.00.600-01 | Колесо | |
| 8 | ANT651.80.00.002 | Крышка | |
| 9 | ANT651.80.00.003 | Шайба | |
| 10 | ANT651.80.00.300 | Вал | |
| 11 | ANT651.80.00.004 | Труба | |
| 12 | ANT651.80.00.005 | Пробка | |
| 13 | ANT651.80.00.350 | Накладка правая | |
| 14 | ANT651.80.00.400 | Накладка левая | |
| 15 | ANT651.80.00.006 | Труба | |
| 16 | ANT651.80.00.007 | Шайба | |
| 17 | ANT651.80.00.500 | Крышка | |
| 18 | ANT651.80.00.008 | Крышка | |
| 19 | ANT651.80.00.009 | Втулка | |
| 20 | 22213Е | Опора | |
| 21 | ANT651.80.00.010 | Труба | |
| 22 | ГП 100/75-13 | Резиновая прокладка | |
| 23 | НКИ 55/35 | Опора | |
| 24 | 16В-1 | Цепь | |
| 25 | 16В-1 | Цепь | |
| 26 | 16В-1 | Цепь | |
| 27 | М12 | Гайка | |
| 28 | М12 | Гайка | |
| 29 | М6х16 | Болт | |
| 30 | М6 | Гайка | |
| 31 | М12х25 | Болт | |
| 32 | М12 | Гайка | |
| 33 | М8х30 | Болт | |
| 34 | М8 | Гайка | |
| 35 | М8 | Гайка | |
| 36 | М16х55 | Болт | |
| 37 | М16 | Гайка | |
| 38 | М18х1,5 | Гайка сферическая | |
| 39 | М16х90 | Болт | |
| 40 | М10х55 | Болт | |
| 41 | М10 | Гайка | |
| 42 | 20В-1 | Цепь | |
| 43 | 222 13 АВ | Уплотнение | |
| 44 | М16 | Шайба | |
| 46 | 222 13 АВ | Уплотнение | |
| 47 | ТСС2 М16х1,5 | Пробка | |
| 48 | СМ/34-G3/4 | Маслоуказатель | |
| 49 | 1.2.Ц6 | Масленка | |
| 50 | Локтайт | Локтайт | |
| 51 | Очиститель | Очиститель | |
| 52 | Уплотняющая мастика | Уплотняющая мастика | |
| 53 | 260-270-58-2-2 | Кольцо | |
| 54 | ANT651.80.00.450 | Крышка | |
| 55 | М20х1,5 | Пробка | |
| 57 | 125-130-30-2-2 | Кольцо | |
| 58 | М12х45 | Болт | |
| 59 | М12 | Гайка | |
| 60 | М12 | Гайка | |
| 61 | М12 | Гайка |
Содержащиеся в справочниках-каталогах запасные части и детали не предлагаются к продаже, а носят исключительно информационный характер