Каталог запасных частей к технике: Канаш-электрокар ЭП-2014. Гидропривод подъема груза ДИБМ.454617.001-01
ДИБМ.454617.001-01
1
2
2
3
4
5
5
6
7
8
9
9
10
10
10
10
11
12
13
14
15
16
17
18
19
20
21
22
23
24
25
26
27
28
29
30
31
32
33
34
35
36
37
38
39
40
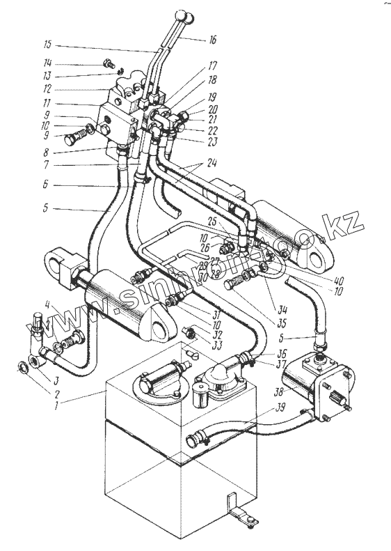
| Позиция на иллюстрации | Заводской номер детали | Название детали | |
|---|---|---|---|
| [Шайба 8.65Г.019 ГОСТ6402-70] | [Шайба 8.65Г.019 ГОСТ6402-70] | Шайба 8.65Г.019 ГОСТ6402-70 | |
| [Шайба 6.65Г.019 ГОСТ6402-70] | [Шайба 6.65Г.019 ГОСТ6402-70] | Шайба 6.65Г.019 ГОСТ6402-70 | |
| 201.04.00.042 | 201.04.00.042 | Прокладка | |
| [Проволока 0,8С (L=150мм) ГОСТ3282-74] | [Проволока 0,8С (L=150мм) ГОСТ3282-74] | Проволока 0,8С (L=150мм) ГОСТ3282-74 | |
| НШ46-0505046 | НШ46-0505046 | Кольцо | |
| НШ46-0104034 | НШ46-0104034 | Кольцо | |
| НШ46-0104034 | НШ46-0104034 | Кольцо | |
| НШ46-0104034 | НШ46-0104034 | Кольцо | |
| ДИБМ.454617.001-01 | ДИБМ.454617.001-01 | Гидропривод | |
| [Гайка М8-6Н.5.019 ГОСТ5915-70] | [Гайка М8-6Н.5.019 ГОСТ5915-70] | Гайка М8-6Н.5.019 ГОСТ5915-70 | |
| [Гайка М6-6Н.5.019 ГОСТ5915-70] | [Гайка М6-6Н.5.019 ГОСТ5915-70] | Гайка М6-6Н.5.019 ГОСТ5915-70 | |
| 1 | 205.14.01.000 | Бак | |
| 2 | [Прокладка Ал.24 ГОСТ23358-87] | Прокладка Ал.24 ГОСТ23358-87 | |
| 3 | 201.04.04.000 | Дроссель постоянного расхода | |
| 4 | 201.04.00.041 | Штуцер | |
| 5 | 5ХЮ.462.176-30 | Рукав высокого давления | |
| 6 | [Рукав 25x35-1,6 (L=1500мм) ГОСТ10362-76] | Рукав 25x35-1,6 (L=1500мм) ГОСТ10362-76 | |
| 7 | 205.14.00.040 | Патрубок | |
| 8 | 8ХЮ.454.096-06 | Штуцер | |
| 9 | 8ХЮ.454.245 | Штуцер | |
| 10 | [Прокладка Ал.20 ГОСТ23358-87] | Прокладка Ал.20 ГОСТ23358-87 | |
| 11 | 5ХЮ.456.135 | Клапан предохранительный | |
| 12 | [Распределитель Р80-2/2-14 ОСТ23.1.96-37] | Распределитель Р80-2/2-14 ОСТ23.1.96-37 | |
| 13 | [Шайба 10.65Г.019 ГОСТ6402-70] | Шайба 10.65Г.019 ГОСТ6402-70 | |
| 14 | [Болт М10-6gх20.58.019 ГОСТ7798-70] | Болт М10-6gх20.58.019 ГОСТ7798-70 | |
| 15 | 205.14.00.090 | Рукоятка | |
| 16 | 205.14.00.090-01 | Рукоятка | |
| 17 | 8ХЮ.940.037-08 | Гайка | |
| 18 | 8ХЮ.940.037-22 | Гайка | |
| 19 | 8ХЮ.940.036-06 | Гайка | |
| 20 | 8ХЮ.322.032-06 | Заглушка | |
| 21 | 205.04.00.060 | Клапан обратный | |
| 22 | 1008.04.00.002 | Угольник | |
| 23 | 1000.04.00.002-01 | Угольник | |
| 24 | 5ХЮ.462.175 | Рукав высокого давления | |
| 25 | 6ХЮ.271.136 | Дроссель регулируемый | |
| 26 | 8ХЮ.454.251 | Штуцер | |
| 27 | 8ХЮ.459.013-02 | Угольник | |
| 28 | 6ХЮ.271.014 | Устройство переливное | |
| 29 | 205.14.00.070 | Трубопровод | |
| 30 | 205.14.00.060 | Трубопровод | |
| 31 | 205.14.00.001 | Штуцер | |
| 32 | [Рукав 16x25,0-1,6 ГОСТ10362-76] | Рукав 16x25,0-1,6 ГОСТ10362-76 | |
| 33 | ДИЖК.745488.001 | Хомут | |
| 34 | 205.14.00.050 | Трубопровод | |
| 35 | 201.04.00.008 | Штуцер | |
| 36 | 201.04.00.001 | Хомут | |
| 37 | [Болт М6-6gх25.58.019 ГОСТ7798-70] | Болт М6-6gх25.58.019 ГОСТ7798-70 | |
| 38 | 203.04.02.000 | Установка насоса | |
| 39 | [Рукав 25x35-1,6 (L=700мм) ГОСТ10362-76] | Рукав 25x35-1,6 (L=700мм) ГОСТ10362-76 | |
| 40 | [Пломба 16,517 ОСТ3268-84] | Пломба 16,517 ОСТ3268-84 |
Содержащиеся в справочниках-каталогах запасные части и детали не предлагаются к продаже, а носят исключительно информационный характер