Вернуться на главную
Поиск
Каталоги запчастей к технике
Спецтехника
JCB
VM-46D/PD
Выпускной коллектор/Exhaust manifold
Каталог запасных частей к технике: JCB VM-46D/PD. Выпускной коллектор/Exhaust manifold
zoom-in
zoom-out
enlarge
shrink
circle-right
circle-left
file-text2
info
cart
Тип техники
Не выбрано
Легковые автомобили
Грузовые автомобили и прицепы
Автобусы
Сельхозтехника
Спецтехника
Двигатели
Мототехника
Марка
Не выбрано
Ammann
BOMAG
CARMIX
CASE IH
Changlin
ChengGong
Dimex
Doosan
DYNAPAC
Foton
HAMM
Hidromek
Hitachi
Hyundai
JCB
JLG
John Deere
Komatsu
LIEBHERR
LiuGong
Lonking (LongGong)
Luneng
MANITOU
Mitsuber
New Holland
PENGPU
RM-Terex
SANY
SDLG
SEM
Shantui
Shehwa HBXG
Soosan
TIGARBO
VOGELE
Volvo
WAY
WIRTGEN
XCMG
XGMA
Xiamen
YTO
Yuchai
Zoomlion
Автокран
АЗСМ
Алтайлесмаш
Амкодор
АОМЗ
Атек
АТЗ
Балканкар Рекорд
БелАЗ
Беловеж
Борекс
Брянский Арсенал
Булат
ВЭКС
ГАЗ
Геомаш
Гидромаш
Донекс
Дормаш
Дормашина
Дорэлектромаш
ДЭЗ
ЕлАЗ
ЗЗГТ
Ижнефтемаш
Канаш-электрокар
КЗКТ
ККЗ
Клевер
Клинцовский автокрановый завод
КМЗ
КМЗ 1 Мая
Ковровец
Коммаш
Кранэкс
КЭЗ
КЭМЗ
ЛЗА
МАЗ
МЗИК
МЗКМ
МЗКТ
Михневский РМЗ
МоАЗ
Мозырский МЗ
МТЗ
ОЗП
Онежец
ПАО "ТЗА"
ППС Детва
Промтрактор
ПТЗ
Раскат
СпецАгрегат
ТВЭКС
ТТМ
УВЗ
Угличмаш
УЗТМ
ХТЗ
ЧЗКМ
ЧСДМ
ЧТЗ
ЭКСКО
ЭКСМАШ
ЮрМаш
Модель
Не выбрано
4CX (2015)
JCB-3CX (Часть 1) (2015)
JCB-3CX (Часть 1) (2015)
JCB-3CX (Часть 2) (2015)
JCB-3CX (Часть 2) (2015)
JCB-3CX Super (Часть 1) (2015)
JCB-3CX Super (Часть 2) (2015)
VM-115 D/PD (2006)
VM-132D/PD (2006)
VM-146D/PD (2005)
VM-1500-1601100 (2006)
VM-1500-1601300 (2006)
VM-200D/PD (2005)
VM-46D/PD (2006)
VM-75D/PD (2006)
VMТ-270/280 (2005)
VMТ-390/400 (480/500) (2005)
Схема
>
Не выбрано
Каток вибрационный JCB Vibromax VM46
Установка двигателя/Structure motor
Подвеска двигателя/Engine suspension
Блок цилиндров/Cylinder block
Головка блока цилиндров/Cylinder block
Крышка шестерен/Front gear cover
Клапанный механизм/Valve mechanism
Распределительный вал/Camshaft
Коленчатый вал/Crankshaft
Промежуточныя шестерня/Intermediate gear
Поршень и шатун/Conecting and piston
Картер маховика/Flywheel housing
Маховик/Flywheel
Клапанная крышка/Cover valve
Крышка/Gear cover
Крышка/Cover
Крышка/Cover
Воздухоочиститель/Air cleaner
Воздухоочиститель/Air cleaner
Топливные трубопроводы/Fuel pipe
Топливные трубопроводы/Fuel pipe
Топливные трубопроводы/Fuel pipe
Форсунка/Injection nozzle
Установка топливного насоса/Mounting-Fuel pump
Топливный фильтр/Fuel filter
Впускной патрубок/Air intake connection
Выхлопная система/Exhaust
Выпускной коллектор/Exhaust manifold
Масляный насос/Oil pump
Масляный картер/Oil pan
Установка системы охлаждения/Instalation cooler
Кожух радиатора/Cooler cover
Водяной бак/Water tank
Привод вентилятора/Fan wheel
Водяной насос/Water pump
Мост ведущий/Axle
Мост ведущий/Axle
Мост ведущий/Axle
Мост ведущий/Axle
Мост ведущий/Axle
Гидромотор/Variable displacement motor
Гидромотор/Variable displacement motor
Вилка/Roller frame
Рама/Frame
Соединение/Joint
Поворотный цилиндр/Steering cylinder
Колесо/Tyre (VM46D)
Колесо/Cleat tread typre(VM46PD)
Консоль управления/Console
Трос/Cable
Рулевая колонка/Steering column
Рулевая колонка/Steering column
Гидросистема/Propulsion
Гидросистема/Drive
Рулевое управление/Steering
Гидравлический фильтр/Hydraulic oil filter
Трубопроводы управления/Control line
Тормозные трубопроводы/Brake lines
Трубопроводы охлаждения/Cooler line
Трубопроводы/Leakage oil line
Трубопроводы/Hydraulic measuring points
Масляный фильтр/Oil filter
Блок управления/Control bloc
Генератор/Alternator
Кронштейн генератора/Bracket-Alternator
Стартер/Starter
Электрооборудование двигателя/Electric tractor
Освещение (без кабины)/Lighting StVZO-without cab
Освещение (без кабины)/Lighting without cab
Электрооборудование/Plate
Панель приборов/Instrument panel
Сигнал предупреждающий/Back-up alarm
Рабочее место оператора/Operator’s stand
Сиденье оператора/Operator’s seat
Сиденье оператора/Operator’s seat
Боковая пластина/Side flap
Дверца/Door
Лесенка/Ledder
Капот/Engine hood
Замок капота/Locking mechanism
Таблички/Decals
Таблички/Decals
Таблички/Decals
Защита оператора/ROPS
Защита оператора/FOPS
Поручни/Rail
Крышка панели инструментов/Instrument panel cover
Установка гидронасоса/Hydro pump block
Гидронасос/Drive pump
Гидронасос/Drive pump
Валец гладкий/Smooth drum (VM46D)
Вибрационный механизм/Exciter (VM46D)
Подвеска левая/Suspension, left (VM46D)
Подвеска правая/Suspension, right (VM46D)
Валец кулачковый/Tamping foot drum (VM46PD)
Редуктор/Gear
Гидромотор/Fixed displacement hydro motor
Скребок/Scraper (VM46D)
Скребок/Tamping foot scraper(VM46PD)
Скребок/Vulkollan scraper (VM46D)
Рабочее оборудование/PD Shells+Scraper-PD Coussinet (VM46PD)
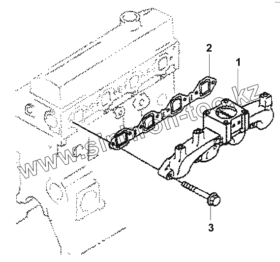
1
2
3
Позиция на иллюстрации
Заводской номер детали
Название детали
1
07211/51087
Exhaust manifold
2
07211/50966
Gasket
3
07211/50967
Hexagon screw
Содержащиеся в справочниках-каталогах запасные части и детали не предлагаются к продаже, а носят исключительно информационный характер
Дополнительная информация
×
Название:
Номер:
Примечание: