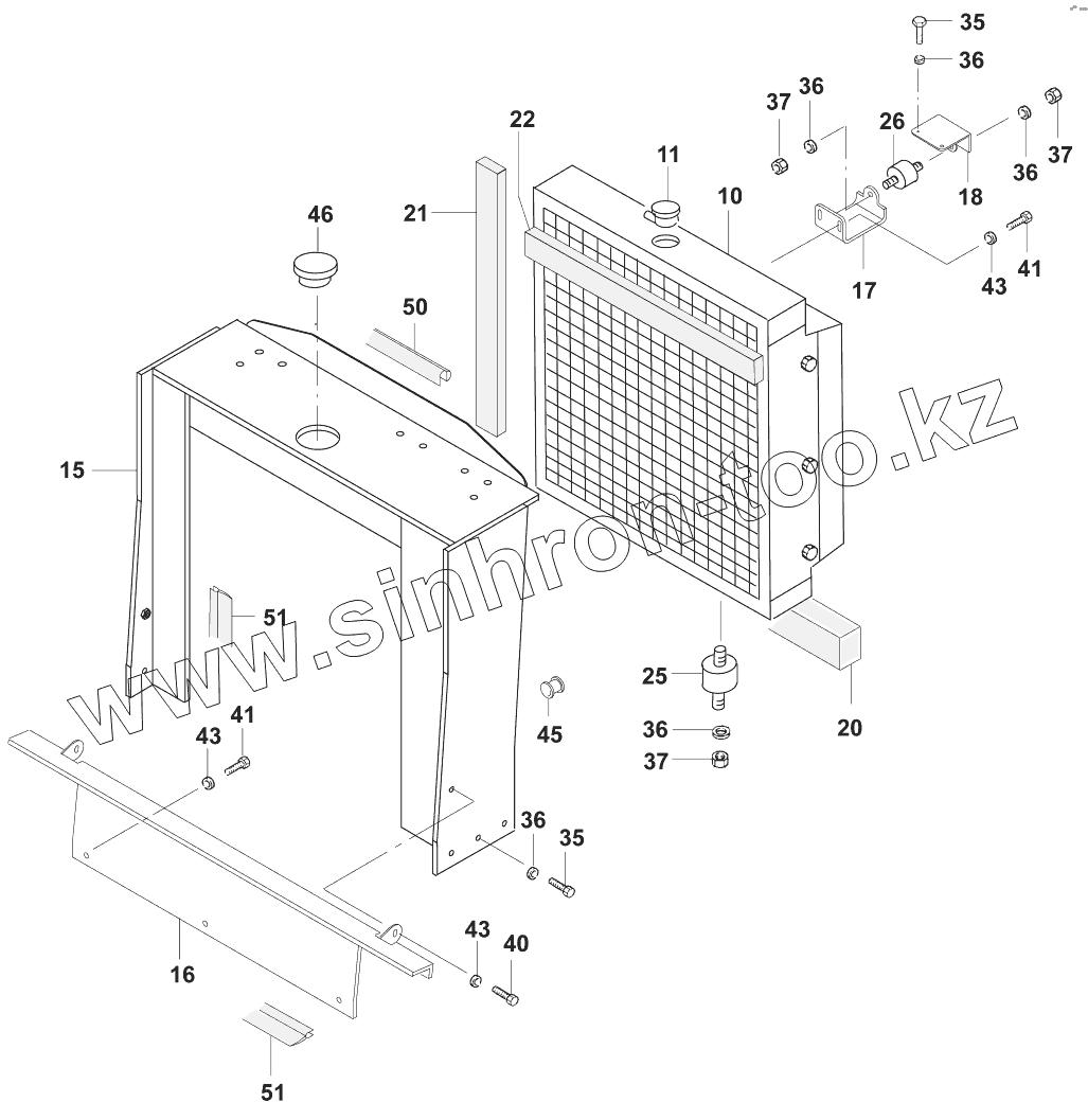
Каталог запасных частей к технике: JCB VM-46D/PD. Установка системы охлаждения/Instalation cooler
10
11
15
16
17
18
20
21
22
25
26
35
35
36
36
36
36
36
37
37
37
40
41
41
43
43
43
45
46
50
51
| Позиция на иллюстрации | Заводской номер детали | Название детали | |
|---|---|---|---|
| 10 | 07220/17201 | Oil-water-cooler | |
| 11 | 04010/40510 | Cover | |
| 15 | 07211/51150 | Cooler box | |
| 16 | 07211/51160 | Intermediate wall | |
| 17 | 07211/51210 | Retaining plate | |
| 18 | 07211/51211 | Bracket | |
| 20 | 07211/51215 | Rubber stripe | |
| 21 | 07211/51216 | Rubber stripe | |
| 22 | 07211/51217 | Rubber stripe | |
| 25 | 02622/06042 | Rubber pad | |
| 26 | 02622/21050 | Pad | |
| 35 | 02021/10030 | Hexagon screw M10x30 DIN933 | |
| 36 | 02200/00010 | Washer 10,5 DIN7349 | |
| 37 | 02118/31000 | Security nut VM10 DIN980 | |
| 40 | 02021/08025 | Hexagon screw M8x25 DIN933 | |
| 41 | 02021/08016 | Hexagon screw M8x16 DIN933 | |
| 43 | 02201/00008 | Washer 8,4 DIN125 | |
| 45 | 08352/02012 | Grommet | |
| 46 | 02779/03044 | Plug | |
| 50 | 04034/40508 | Sectional sealing material 1500mm | |
| 51 | 02782/01015 | Sectional sealing material 1,0m | |
| 87211/51002 | 87211/51002 | Instalation cooler |
Содержащиеся в справочниках-каталогах запасные части и детали не предлагаются к продаже, а носят исключительно информационный характер