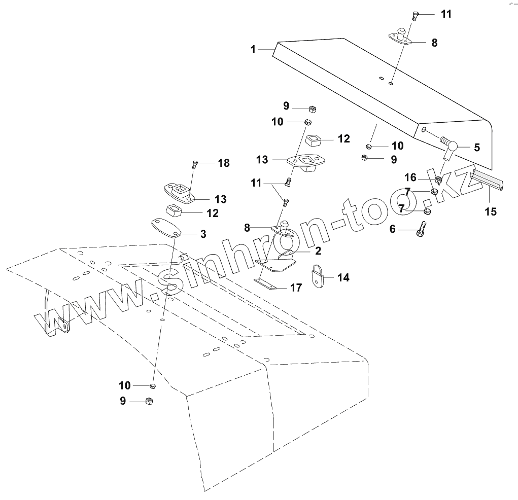
Каталог запасных частей к технике: JCB VM-1500-1601300. Крышка панели приборов
1
2
3
5
6
7
7
8
8
9
9
9
10
10
10
11
11
12
12
13
13
14
15
16
17
18
| Позиция на иллюстрации | Заводской номер детали | Название детали | |
|---|---|---|---|
| 1 | 05731/60138 | Cover | |
| 2 | 05731/60131 | Strap | |
| 3 | 05731/60133 | Plate | |
| 5 | 02240/00114 | Angle joint | |
| 6 | 02021/08030 | Hexagon screw M8x30 DIN933 | |
| 7 | 02208/00108 | Washer 8 DIN6796 | |
| 8 | 05731/60116 | Plate | |
| 9 | 02118/40400 | Security nut NM4 DIN985 | |
| 10 | 02201/00004 | Washer 4,3 DIN125 | |
| 11 | 02031/04016 | Countersunk bolt M4x16 DIN963 | |
| 12 | 05731/60117 | Buffer | |
| 13 | 05731/60115 | Housing | |
| 14 | 02940/01001 | Padlock | |
| 15 | 02782/01026 | Sectional sealing material 2500mm | |
| 16 | 02110/00008 | Hexagon nut M8 DIN934 | |
| 17 | 05731/60132 | Plate | |
| 18 | 02031/04025 | Countersunk bolt M4x25 DIN963 | |
| 85731/60130 | 85731/60130 | Instrument panel cover, cpl. |
Содержащиеся в справочниках-каталогах запасные части и детали не предлагаются к продаже, а носят исключительно информационный характер