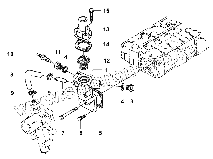
Каталог запасных частей к технике: JCB VM-1500-1601100. Водяной фланец и термостат
1
2
3
4
4
5
6
7
8
9
9
10
11
12
13
14
15
| Позиция на иллюстрации | Заводской номер детали | Название детали | |
|---|---|---|---|
| 1 | 07001/33320 | Flange incl. 2 | |
| 2 | 07001/33321 | Water pipe | |
| 3 | 07001/33322 | Plug | |
| 4 | 07001/33323 | Gasket | |
| 5 | 07001/33324 | Gasket | |
| 6 | 07001/31034 | Screw | |
| 7 | 07001/33052 | Screw | |
| 8 | 07001/33326 | Bearing | |
| 9 | 07001/33327 | Clamp pipe | |
| 10 | 07001/31009 | Switch | |
| 11 | 07001/33328 | Intermediate piece | |
| 12 | 07001/31737 | Thermostat | |
| 13 | 07001/33329 | Cover | |
| 14 | 07001/31735 | Gasket | |
| 15 | 07001/31736 | Screw |
Содержащиеся в справочниках-каталогах запасные части и детали не предлагаются к продаже, а носят исключительно информационный характер