Вернуться на главную
Поиск
Каталоги запчастей к технике
Спецтехника
JCB
VM-1500-1601100
Механизм остановки
Каталог запасных частей к технике: JCB VM-1500-1601100. Механизм остановки
zoom-in
zoom-out
enlarge
shrink
circle-right
circle-left
file-text2
info
cart
Тип техники
Не выбрано
Легковые автомобили
Грузовые автомобили и прицепы
Автобусы
Сельхозтехника
Спецтехника
Двигатели
Мототехника
Марка
Не выбрано
Ammann
BOMAG
CARMIX
CASE IH
Changlin
ChengGong
Dimex
Doosan
DYNAPAC
Foton
HAMM
Hidromek
Hitachi
Hyundai
JCB
JLG
John Deere
Komatsu
LIEBHERR
LiuGong
Lonking (LongGong)
Luneng
MANITOU
Mitsuber
New Holland
PENGPU
RM-Terex
SANY
SDLG
SEM
Shantui
Shehwa HBXG
Soosan
TIGARBO
VOGELE
Volvo
WAY
WIRTGEN
XCMG
XGMA
Xiamen
YTO
Yuchai
Zoomlion
Автокран
АЗСМ
Алтайлесмаш
Амкодор
АОМЗ
Атек
АТЗ
Балканкар Рекорд
БелАЗ
Беловеж
Борекс
Брянский Арсенал
Булат
ВЭКС
ГАЗ
Геомаш
Гидромаш
Донекс
Дормаш
Дормашина
Дорэлектромаш
ДЭЗ
ЕлАЗ
ЗЗГТ
Ижнефтемаш
Канаш-электрокар
КЗКТ
ККЗ
Клевер
Клинцовский автокрановый завод
КМЗ
КМЗ 1 Мая
Ковровец
Коммаш
Кранэкс
КЭЗ
КЭМЗ
ЛЗА
МАЗ
МЗИК
МЗКМ
МЗКТ
Михневский РМЗ
МоАЗ
Мозырский МЗ
МТЗ
ОЗП
Онежец
ПАО "ТЗА"
ППС Детва
Промтрактор
ПТЗ
Раскат
СпецАгрегат
ТВЭКС
ТТМ
УВЗ
Угличмаш
УЗТМ
ХТЗ
ЧЗКМ
ЧСДМ
ЧТЗ
ЭКСКО
ЭКСМАШ
ЮрМаш
Модель
Не выбрано
4CX (2015)
JCB-3CX (Часть 1) (2015)
JCB-3CX (Часть 1) (2015)
JCB-3CX (Часть 2) (2015)
JCB-3CX (Часть 2) (2015)
JCB-3CX Super (Часть 1) (2015)
JCB-3CX Super (Часть 2) (2015)
VM-115 D/PD (2006)
VM-132D/PD (2006)
VM-146D/PD (2005)
VM-1500-1601100 (2006)
VM-1500-1601300 (2006)
VM-200D/PD (2005)
VM-46D/PD (2006)
VM-75D/PD (2006)
VMТ-270/280 (2005)
VMТ-390/400 (480/500) (2005)
Схема
>
Не выбрано
Траншейный вибрационный каток JCB Vibromax VM1500
Двигатель
Блок цилиндров
Головка блока цилиндров
Картер шестерен
Крышка ГБЦ
Коренные подшипники
Вал распределительный
Вал коленчатый, поршень
Картер маховика
Механизм остановки
Клапанный механизм
Управление двигателем
Воздушный фильтр
Топливные трубопроводы
Вал распределительный
Топливный насос
Топливный насос
Регулятор
Управление скоростью
Установка форсунок
Топливный насос
Впускной коллектор
Масляный картер
Установка радиатора
Водяной фланец и термостат
Водяной насос
Вентилятор
Радиатор
Нижняя часть
Нижняя часть
Переключатель
Управление
Управление
Блок управления
Переключатель
Фильтр
Трубопроводы
Трубопроводы
Трубопроводы
Трубопроводы
Трубопроводы
Трубопроводы
Трубопроводы
Трубопроводы
Трубопроводы
Трубопроводы
Трубопроводы
Трубопроводы
Клапан тормозной
Генератор
Генератор
Стартер
Датчик давления масла
Электрооборудование
Электрооборудование
Электрооборудование
Верхняя часть
Капот двигателя
Крышка
Таблички
Установка насоса
Вибратор
Гидромотор
Гидромотор
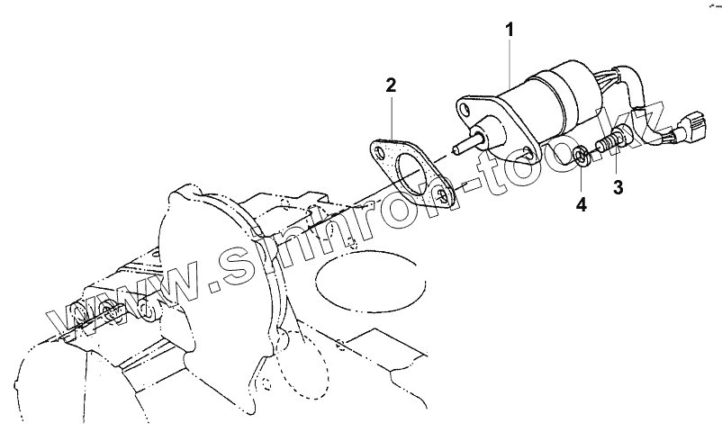
1
2
3
4
Позиция на иллюстрации
Заводской номер детали
Название детали
1
07001/33175
Solenoid
2
07001/33176
Gasket
3
07001/33177
Screw
4
07001/33178
Spring washer
Содержащиеся в справочниках-каталогах запасные части и детали не предлагаются к продаже, а носят исключительно информационный характер
Дополнительная информация
×
Название:
Номер:
Примечание: