Каталог запасных частей к технике: Ижнефтемаш НЦ-320. Гидросъемник седел клапанов АФНИ.296372.001
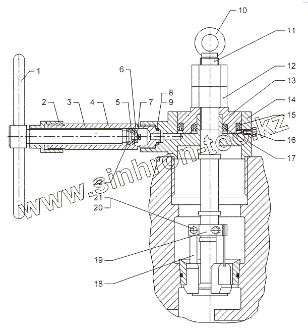
1
2
3
4
5
6
7
8
9
10
11
11
12
13
14
15
16
17
18
18
19
20
21
22
| Позиция на иллюстрации | Заводской номер детали | Название детали | |
|---|---|---|---|
| 1 | НБ-80.00.00.146 | Вороток | |
| 2 | АФНИ.753124.003 | Гайка | |
| 3 | АФНИ.715553.001 | Цилиндр | |
| 4 | НБ-80.00.00.139 | Винт | |
| 5 | ЦН-0206 | Уплотнение | |
| 6 | Шайба А10.04.0115 | Шайба А10.04.0115 | |
| 7 | Шплинт 2,5х18.0115 | Шплинт 2,5х18.0115 | |
| 8 | АФНИ.754152.027 | Прокладка | |
| 9 | АФНИ.758491.041 | Шайба | |
| 10 | Рым-болт М12.06 | Рым-болт М12.06 | |
| 11 | АФНИ.715531.001 | Шток | |
| 11 | АФНИ.715531.001-01 | Шток | |
| 12 | АФНИ.758412.007 | Гайка | |
| 13 | НБ-80.00.00.133 | Поршень | |
| 14 | АФНИ.301176.005 | Корпус | |
| 15 | НБ-80.00.00.137 | Уплотнение | |
| 16 | АФНИ.753125.011 | Пробка | |
| 17 | НБ-80.00.00.136 | Манжета | |
| 18 | АФНИ.301534.001 | Захват | |
| 18 | АФНИ.301534.001-01 | Захват | |
| 19 | АФНИ.745464.001 | Хомут | |
| 20 | АФНИ.758274.001 | Шпилька | |
| 21 | Гайка М8.5.019 | Гайка М8.5.019 | |
| 22 | НБ-80.00.00.147 | Шайба |
Содержащиеся в справочниках-каталогах запасные части и детали не предлагаются к продаже, а носят исключительно информационный характер