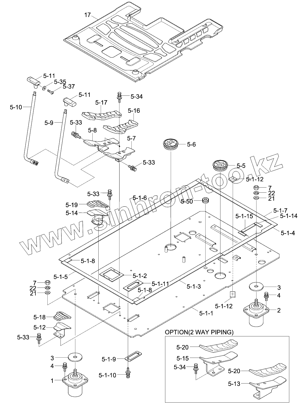
Каталог запасных частей к технике: Hyundai R330LC-9SH. BOTTOM PLATE MOUNTING
5-1-14
5-1-15
17
17
1
2
3
3
4
4
5-1-1
5-1-2
5-1-3
5-1-4
5-1-5
5-1-6
5-1-7
5-1-8
5-1-8
5-1-9
5-1-10
5-1-11
5-1-12
5-1-12
5-5
5-6
5-7
5-8
5-9
5-10
5-11
5-11
5-12
5-13
5-14
5-15
5-16
5-17
5-18
5-19
5-20
5-20
5-33
5-33
5-33
5-33
5-34
5-34
5-35
5-37
5-50
7
7
17
21
21
22
22
| Позиция на иллюстрации | Заводской номер детали | Название детали | |
|---|---|---|---|
| 5-1-14 | 71Q6-10320 | PAD-RUBBER | |
| 5-1-15 | 71Q6-10330 | PAD-RUBBER | |
| 17 | 71Q6-23010 | MAT-FLOOR | |
| 17 | 71Q6-23020 | MAT-FLOOR | |
| 1 | 71Q6-22730 | VISCOUS MOUNT | |
| 2 | 71Q6-22820 | VISCOUS MOUNT | |
| 3 | 71E9-10650-DA | WASHER | |
| 4 | S037-103026 | BOLT-W/WASHER | |
| 5 | BottomPlate | Bottom Plate Sub Assy | |
| 5-1 | 71Q6-10101 | BOTTOM PLATE ASSY | |
| 5-1-1 | 71Q6-10170 | BOTTOM PLATE WA | |
| 5-1-2 | 71Q6-10110 | PAD-RUBBER | |
| 5-1-3 | 71Q6-10120 | PAD-RUBBER | |
| 5-1-4 | 71Q6-10130 | PAD-RUBBER | |
| 5-1-5 | 71Q6-10140 | PAD-RUBBER | |
| 5-1-6 | 71Q6-10150 | PAD-RUBBER | |
| 5-1-7 | 71Q6-10160 | PAD-RUBBER | |
| 5-1-8 | 71Q6-22780 | PAD-RUBBER | |
| 5-1-9 | 71Q6-22790 | COVER-PLATE | |
| 5-1-10 | S037-102026 | BOLT-W/WASHER | |
| 5-1-11 | 71Q6-10300 | PAD-RUBBER | |
| 5-1-12 | 71Q6-10310 | SPONGE | |
| 5-1-13 | S017-120156 | BOLT-HEX | |
| 5-5 | 71Q6-20990 | GROMMET-PILOT HOSE | |
| 5-6 | 71Q6-22960 | GROMMET-RH | |
| 5-7 | 71Q6-20500 | PEDAL WA-LH | |
| 5-8 | 71Q6-20700 | PEDAL WA-RH | |
| 5-9 | 71Q6-20600 | Travel Lever Wa-Lh | |
| 5-10 | 71Q6-20750 | Travel Lever Wa-Rh | |
| 5-11 | 71Q6-20630 | KNOB-TRAVEL | |
| 5-12 | 71Q6-20530 | FOOT REST WA-LH | |
| 5-13 | 71Q6-20560 | PEDAL WA-LH | |
| 5-14 | 71Q6-20730 | FOOT REST WA-RH | |
| 5-15 | 71Q6-22700 | PEDAL WA-RH | |
| 5-16 | 71Q6-20660 | RUBBER-PEDAL,LH | |
| 5-17 | 71Q6-20680 | RUBBER-PEDAL,RH | |
| 5-18 | 71Q6-20670 | RUBBER-FOOT REST,LH | |
| 5-19 | 71Q6-20690 | RUBBER-FOOT REST,RH | |
| 5-20 | 71Q6-22740 | RUBBER-PEDAL | |
| 5-33 | S037-102526 | BOLT-W/WASHER | |
| 5-34 | S109-100156 | Bolt-Socket | |
| 5-35 | S403-04100B | WASHER-PLAIN | |
| 5-37 | S161-040256 | SCREW-CROSS R/ROUND | |
| 5-50 | S661-301200 | CAP-RUBBER | |
| 7 | S205-16100B | NUT-HEX | |
| 17 | 71Q6-22360 | MAT-FLOOR | |
| 21 | S403-162006 | WASHER-PLAIN | |
| 22 | S411-160006 | WASHER-SPRING |
Содержащиеся в справочниках-каталогах запасные части и детали не предлагаются к продаже, а носят исключительно информационный характер