Вернуться на главную
Поиск
Каталоги запчастей к технике
Спецтехника
Hitachi
ZX-450
ELECTRIC PARTS (1) <450, H, MT, MTH>
Каталог запасных частей к технике: Hitachi ZX-450. ELECTRIC PARTS (1) <450, H, MT, MTH>
zoom-in
zoom-out
enlarge
shrink
circle-right
circle-left
file-text2
info
cart
Тип техники
Не выбрано
Легковые автомобили
Грузовые автомобили и прицепы
Автобусы
Сельхозтехника
Спецтехника
Двигатели
Мототехника
Марка
Не выбрано
Ammann
BOMAG
CARMIX
CASE IH
Changlin
ChengGong
Dimex
Doosan
DYNAPAC
Foton
HAMM
Hidromek
Hitachi
Hyundai
JCB
JLG
John Deere
Komatsu
LIEBHERR
LiuGong
Lonking (LongGong)
Luneng
MANITOU
Mitsuber
New Holland
PENGPU
RM-Terex
SANY
SDLG
SEM
Shantui
Shehwa HBXG
Soosan
TIGARBO
VOGELE
Volvo
WAY
WIRTGEN
XCMG
XGMA
Xiamen
YTO
Yuchai
Zoomlion
Автокран
АЗСМ
Алтайлесмаш
Амкодор
АОМЗ
Атек
АТЗ
Балканкар Рекорд
БелАЗ
Беловеж
Борекс
Брянский Арсенал
Булат
ВЭКС
ГАЗ
Геомаш
Гидромаш
Донекс
Дормаш
Дормашина
Дорэлектромаш
ДЭЗ
ЕлАЗ
ЗЗГТ
Ижнефтемаш
Канаш-электрокар
КЗКТ
ККЗ
Клевер
Клинцовский автокрановый завод
КМЗ
КМЗ 1 Мая
Ковровец
Коммаш
Кранэкс
КЭЗ
КЭМЗ
ЛЗА
МАЗ
МЗИК
МЗКМ
МЗКТ
Михневский РМЗ
МоАЗ
Мозырский МЗ
МТЗ
ОЗП
Онежец
ПАО "ТЗА"
ППС Детва
Промтрактор
ПТЗ
Раскат
СпецАгрегат
ТВЭКС
ТТМ
УВЗ
Угличмаш
УЗТМ
ХТЗ
ЧЗКМ
ЧСДМ
ЧТЗ
ЭКСКО
ЭКСМАШ
ЮрМаш
Модель
Не выбрано
EX-100-2 (2000)
EX-100-3 (2008)
EX-100WD (2008)
EX-120 (2008)
EX-120-2 (2008)
EX-160WD (2008)
EX-200 (2008)
EX-200-2 (2008)
EX-200-3
EX-220 (2008)
EX-220-2 (2008)
EX-270 (2008)
EX-300 (2008)
EX-300-2 (2000)
EX-400 Type A (2006)
EX-400 Type B (2006)
EX-60 (2003)
EX-60-2 (2000)
EX-60-3 (2008)
EX-70 (2017)
LX-110-7 (2008)
LX-130-7 (2008)
LX-150-2 (2008)
LX-160-7 (2008)
LX190-7/LX230-7 (2008)
Zaxis 190-3
ZAXIS 200-5A (2018)
ZAXIS 200LC-5A (2018)
ZAXIS 210H-5A (2018)
ZAXIS 210K-5A (2018)
ZAXIS 210LCH-5A (2018)
ZAXIS 210LCK-5A (2018)
ZAXIS 330-5G (2017)
ZAXIS 350H-5G (2017)
ZAXIS 48U-5A (2020)
ZAXIS 850-3
ZAXIS 870H-3
ZX-110 (2008)
ZX-160W (2008)
ZX-200 (2008)
ZX-230 (2008)
ZX-25 (2008)
ZX-270 (2008)
ZX-330 (2010)
ZX-330-3 (Part № PIHH-I-3) (2008)
ZX-330-3 (Part № PIHH-I-5) (2013)
ZX-330-3G (2008)
ZX-400R-3 (2010)
ZX-450 (2006)
ZX-600 (2007)
Компоненты EX-100-2 (2000)
Компоненты EX-100WD (2008)
Компоненты EX-120 (2008)
Компоненты EX-120-2 (2008)
Компоненты EX-160WD (2008)
Компоненты EX-200 (2008)
Компоненты EX-200-2 (2008)
Компоненты EX-200-3(LC, H)
Компоненты EX-220 (2008)
Компоненты EX-220-2 (2008)
Компоненты EX-270 (2008)
Компоненты EX-300 (2008)
Компоненты EX-300-2 (2000)
Компоненты EX-400 Type A (2006)
Компоненты EX-400 Type B (2006)
Компоненты EX-60 (2003)
Компоненты EX-60-2 (2000)
Компоненты EX-60-3 (2008)
Компоненты ZAXIS 450, 470, 500, 520 (2010)
Компоненты ZX-110 (2008)
Компоненты ZX-120 (130) (2008)
Компоненты ZX-160W (2008)
Компоненты ZX-200 (2008)
Компоненты ZX-230 (2008)
Компоненты ZX-270 (2008)
Компоненты ZX-330 (2008)
Компоненты ZX-450 (2006)
Схема
>
Не выбрано
FRAME (1) (RIDE-ON TYPE COUNTERWEIGHT) <450, H, MT, MTH>
FRAME (1) (FIT-IN TYPE COUNTERWEIGHT) <450, H, MT, MTH>
FRAME (1) (FIT-IN TYPE COUNTERWEIGHT) <460>
FRAME (2) <450, H, MT, MTH>
FRAME (2) <460>
FRAME (3)
COUNTERWEIGHT (RIDE-ON TYPE) <450, H, MT, MTH>
COUNTERWEIGHT SUPPORT (RIDE-ON TYPE) <450, H, NIT, MTH>
COUNTERWEIGHT (FIT-IN TYPE) <450, H, MT, MTH>
COUNTERWEIGHT (FIT-IN TYPE) <460>
COUNTERWEIGHT SUPPORT (FIT-IN TIPE)
ENGINE
ENGINE SUPPORT (RIDE-ON TYPE COUNTERWEIGHT) <450, H, MT, MTH>
ENGINE SUPPORT (FIT-IN TYPE COUNTERWEIGHT)
OIL FILTER PIPING
ENGINE OIL DRAIN PIPING
RADIATOR
RADIATOR SUPPORT 9RIDE-ON TYPE COUNTERWEIGHT) <450, H, MT, MTH>
RADIATOR SUPPORT (FIT-IN TYPE COUNTERWEIGHT)
RESERVE TANK <450, H, MT, MTH>
RESERVE TANK <460>
AIR CLEANER <450, H, MT, MTH>
AIR CLEANER <460>
PRE CLEANER <450, H, MT, MTH>
PRE CLEANER <460>
MUFFLER
FUEL PIPING <450, H, MT, MTH>
FUEL PIPING <460>
FUEL TANK <450, H, MT, MTH>
FUEL TANK <460>
FUEL DOUBLE FILTER
FUEL FEED PUMP <450, H, MT, MTH>
FUEL FEED PUMP <460>
PUMP DEVICE
SWING DEVICE: RIGHT (1)
SWING DEVICE: RIGHT (2)
SWING DEVICE: LEFT (1)
SWING DEVICE: LEFT (2)
SWING DEVICE SUPPORT
OIL TANK
SUCTION PIPING
DELIVERY PIPING
RETURN PIPING <450, H, MT, MTH>
RETURN PIPING <460>
DRAIN PIPING (1)
DRAIN PIPING (2)
MAIN PIPING (1) <450, H, MT, MTH>
MAIN PIPING (1) <460>
MAIN PIPING (2) <450, H, MT, MTH>
MAIN PIPING (2)
MAIN PIPING (3)
ENGINE CONTROL CABLE
ENGINE CONTROL MOTOR
ENGINE STOP CABLE
CONTROL LEVER (FRONT & SWING)
CONTROL LEVER (TRAVEL) <450, H, MT, MTH>
CONTROL LEVER (TRAVEL) <460>
LOCK LEVER
CONTROL VALVE
PILOT PIPING (1)
PILOT PIPING (2-1)
PILOT PIPING (2-2)
PILOT PIPING (3) <450, H, MT, MTH>
PILOT PIPING (3) <460>
PILOT PIPING (4-1) <450, H, MT, MTH>
PILOT PIPING (4-2) <450, H, MT, MTH>
PILOT PIPING (4-1) <460>
PILOT PIPING (4-2) <460>
PILOT PIPING (5-1)
PILOT PIPING (5-2)
PILOT PIPING (5-3)
PILOT PIPING (6-1)
PILOT PIPING (6-2)
PILOT PIPING (6-3)
PILOT PIPING (7-1)
PILOT PIPING (7-2)
CONSOLE
CONSOLE COVER
CONSOLE COVER (EXPORT) <450, H, MT, MTH>
RIGHT COVER
RIGHT COVER (EXPORT) <450,H,ML MTH>
MONITOR
RADIO (AM/FM)
CONTROL UNIT
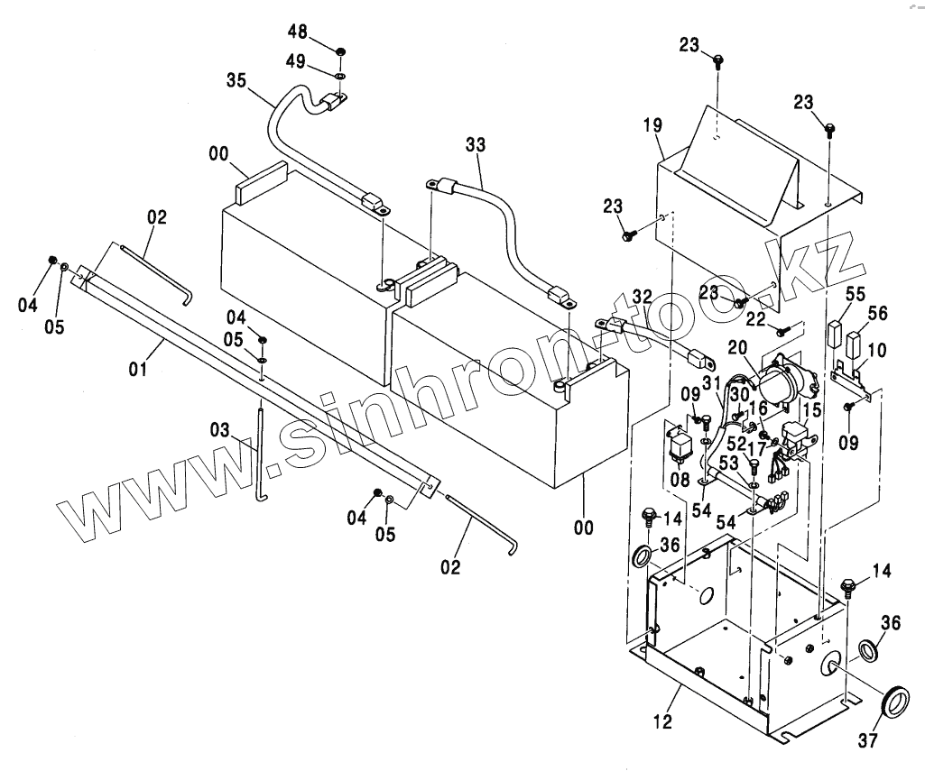
ELECTRIC PARTS (1) <450, H, MT, MTH>
ELECTRIC PARTS (1) <460>
ELECTRIC PARTS (2)
ELECTRIC PARTS (3)
ELECTRIC PARTS (4) <450, H, MT. MTH>
ELECTRIC PARTS (4) <460>
ELECTRIC PARTS (5) <450, H, MT, MTH>
ELECTRIC PARTS (5) <460>
ELECTRIC PARTS (6) <450, H, MT, MTH>
ELECTRIC PARTS (6) <460>
ELECTRIC PARTS (7) (DOMESTIC) <450, H, MT, MTH>
ELECTRIC PARTS (7) (EXPORT) <450, H, MT, MTH>
ELECTRIC PARTS (7) (EXPORT) <460>
HEAD LAMP <450>
FOG LAMP (1) <H,MTH>
FOG LAMP (2)
BOOM LIGHT (R) (WITH LIGHT COVER) <460>
OVER LOAD ALARM (1)
OVER LOAD ALARM (2)
MOTION ALARM
AIR-CONDITIONER (1)
AIR-CON. UNIT
AIR-CONDITIONER (2-1) <450, H, MT, MTH>
AIR-CONDITIONER (2-2) <450, H, MT, MTH>
AIR-CONDITIONER (2-1) <460>
AIR-CONDITIONER (2-2) <460>
COMPRESSOR
CAR HEATER (1)
CAR HEATER (2)
DUCT (AIR-CON.)
DUCT (HEATER)
REAR BOX (AIR-CON.)
REAR BOX (12V POWER SUPPLY)
CAB SUPPORT <450,460,MT>
CAB <450, MT>
CAB (STD) <460>
CAB (WITH GUARD SEAT) <460>
CAB (WITH VANDAL HOOK) <460>
CAB (OPG) <460>
CAB (1) <450,460,MT>
CAB (2) <450,MT>
CAB (2) <460>
CAB (3) <450,460,MT>
CAB (3) (WITH VANDAL HOOK) <460>
CAB (4) <450,460,MT>
CAB (5) <450,MT>
CAB (5) <460>
CAB (6) <450,MT>
CAB (6) <460>
CAB (7) <450,460,MT>
CAB (8) (OPG) <460>
CAB GUARD <450, 460, MT>
CAB GUARD (OPG) <460>
WINDOW GUARD <460>
CAB SUPPORT <H, MTH>
CAB PARTS <H.MTH>
CAB <H, MTH>
CAB (1) <H,MTH>
SASH <H,MTH>
REAR WINDOW <H, MTH>
REAR WINDOW <H, MTH>
CAB (2) <H,MTH>
CAB (3) <H,MTH>
DOOR CATCH <H,MTH>
CAB (4) <H,MTH>
FRONT GUARD <H. MTH>
SUNSHADE <450,460, MT>
SUNVISOR <H,MTH>
SUNVISOR <460>
EXT INGUISHER <H,MTH>
EXTINGUISHER (CAB OUTSIDE) <450,H>
REARVIEW MIRROR
WINDOW WASHER
FLOOR PARTS
FLOOR PLATE
SEAT
SUSPENSION SEAT (WITH HEATER) <460>
AIR-SUSPENSION SEAT (WITH HEATER) <460>
HEATER SEAT PARTS <460>
SEAT BELT
SEAT BELT (SUSPENSION SEAT) <460>
SEAT BELT (AIR-SUSPENSION SEAT) <460>
SEAT STAND <DOMESTIC>
SEAT STAND
COVER (1)
COVER (2-1) <450, H, MT, MTH>
COVER (2-2) <450, H, MT, MTH>
COVER (2-3) <450, H, MT, MTH>
COVER (2-1) <460>
COVER (2-2) <460>
COVER (2-3) <460>
COVER (3-1) <450, H, MT, MTH>
COVER (3-2) <450, H, MT, MTH>
COVER (3-3) <450, H, MT, MTH>
COVER (3-1) <460>
COVER (3-2) <460>
COVER (3-3) <460>
COVER (4-1) <450, H, MT, MTH>
COVER (4-2) <450, H, MT, MTH>
COVER (4-1) <460>
COVER (4-2) <460>
COVER (5) (RIDE-ON TYPE COUNTERWEIGHT) <450,H,MT, MTH>
COVER (5) (FIT-IN TYPE COUNTERWEIGHT)
LUBRICATOR BOX <450,H,ML MTH>
LUBRICATOR BOX <460>
ENGINE COVER <450, H, MT, MTH>
ENGINE COVER <450, H, MT, MTH>
ENGINE COVER <460>
UNDER COVER <450, MT>
UNDER COVER <460>
UNDER COVER <H, MTH>
HANDRAIL
ELECTRIC GREASE GUN
TRACK FRAME (STD. TRACK)
TRACK FRAME (LC TRACK) <450LC, 450LCH>
TRACK FRAME (LC TRACK) <460>
TRACK FRAME (MT TRACK)
TRACK SIDE STEP <450>
TRACK SIDE STEP <460>
TRACK SIDE STEP <H>
TRACK SIDE STEP <MT>
TRACK SIDE STEP <MTH>
ADDITIONAL STEP <460>
TRACK GUARD <450>
TRACK GUARD <450LC>
TRACK GUARD <450H>
TRACK GUARD <450LCH, 460LCH>
TRACK GUARD <480MT>
TRACK GUARD <480MTH>
FULL-LENGTH TRACK GUARD (STD. TRACK)
FULL-LENGTH TRACK GUARD (LC TRACK)
FULL-LENGTH TRACK GUARD (MT TRACK)
TRACK UNDER COVER <460>
SWING BEARING <450, H, MT, MTH>
SWING BEARING <460>
TRAVEL DEVICE (STD. TRACK, LC TRACK)
TRAVEL DEVICE (MT TRACK)
TRANSMISSION (TRAVEL) (MT TRACK)
FRONT IDLER (L) (STD. TRACK)
FRONT IDLER (R) (STD. TRACK)
FRONT IDLER (LC TRACK)
FRONT IDLER (MT TRACK)
ADJUSTER (STD. TRACK, LC TRACK)
ADJUSTER (MT TRACK)
UPPER ROLLER (STD. TRACK)
UPPER ROLLER (LC TRACK)
UPPER ROLLER (MT TRACK)
LOWER ROLLER (STD. TRACK)
LOWER ROLLER (LC TRACK)
LOWER ROLLER (MT TRACK)
TRACK-LINK 600G (STD. TRACK)
TRACK-LINK 600G (LC TRACK)
TRACK-LINK 600G (MT TRACK)
TRACK-LINK 750G (STD. TRACK)
TRACK-LINK 750G (LC TRACK)
TRACK-LINK 750G (MT TRACK)
TRACK-LINK 900G (LC TRACK)
TRACK-LINK 900G (MT TRACK)
CENTER JOINT
TRAVEL PIPING (STD. TRACK)
TRAVEL PIPING (LC TRACK, MT TRACK)
TRAVEL PIPING COVER (STD. TRACK, LC TRACK)
TRAVEL PIPING COVER (MT TRACK)
LUBRICATE PIPING (SWING BEARING)
STD. BOOM 7.0M <450, MT>
H BOOM 7.0M <H, MTH, 460>
BE BOOM 6.3M
BOOM PARTS
STD. ARM 3.4M
SHORT ARM 2.9M <450, H, MT, MTH>
LONG ARM 4.9M <450, H, MT, MTH>
SEMI-LONG ARM 3.9M
H ARM 3.4M <H,MTH,460>
BE ARM 2.9M
BUCKET 1.15 (JIS 94) <450, H, MT, MTH>
BUCKET 1.4 (JIS 94) <450, H, MT, MTH>
BUCKET 1.6 ( JIS 94)
BUCKET 1.9 (JIS 94)
BUCKET 2.1 (JIS 94)
BUCKET 2.3 (JIS 94)
ROCK BUCKET 1. 9 [J IS 94)
ROCK BUCKET 1.9 (JIS 94) (SIDEBAR-TYPE)
RIPPER BUCKET 1.3 (JIS 94)
ONE-POINT RIPPER
FRONT PIPING (STD. BOOM, H BOOM)
FRONT PIPING (BE BOOM)
FRONT PIPING (STD. ARM, H ARM)
FRONT PIPING (BE ARM)
FRONT PIPING (SHORT ARM) <450, H, MT, MTH>
FRONT PIPING (LONG ARM) <450, H, MT, MTH>
FRONT PIPING (SEMI-LONG ARM)
AUTO. LUBRICATE SYSTEM <450, H, MT, MTH>
AUTO. LUBRICATE SYSTEM <460>
AUTO. LUBRICATE PIPING (BOOM): 1 <450, H, MT, MTH>
AUTO. LUBRICATE PIPING (BOOM): 1 <450, H, MT, MTH>
AUTO. LUBRICATE PIPING (BOOM): 2 <450, H, MT, MTH>
AUTO. LUBLICATE PIPING (ARM): 1 <450, H, HT, MTH>
AUTO. LUBRICATE PIPING (ARM): 2 <450, H, MT, MTH>
AUTO. LUBRICATE PIPING (BOOM): DIVIDER VALVE 1 <450, H, MT, MTH>
AUTO. LUBRICATE PIPING (BOOM): DIVIDER VALVE 2 <450, H, MT, MTH>
AUTO. LUBRICATE PIPING (ARM): DIVIDER VALVE <450, H, MT, MTH>
LUBRICATE PIPING (BOOM)
LUBRICATE PIPING (BE BOOM)
LUBRICATE PIPING (ARM)
LUBRICATE PIPING (BE ARM)
HOSE RUPTURE VALVE PIPING (BOOM): 1
HOSE RUPTURE VALVE PIPING (BOOM): 2
HOSE RUPTURE VALVE PIPING (BOOM): 3
HOSE RUPTURE VALVE PIPING (BOOM): 4
HOSE RUPTURE VALVE PIPING (ARM): 1
HOSE RUPTURE VALVE PIPING (ARM): 2
HOSE RUPTURE VALVE PIPING (BE ARM): 2
HOSE RUPTURE VALVE PIPING (ARM): 3
LOADER FRONT (1) <450, H, MT, MTH>
LOADER FRONT (2) <450, H, MT, MTH>
LOADER MAIN PIPING (1) <450, H, MT, MTH>
LOADER MAIN PIPING (2) <450, H, MT, MTH>
LOADER CONTROL LEVER <450, H, MT, MTH>
LOADER PILOT PIPING (1) <450, H, MT, MTH>
LOADER PILOT PIPING (2-1) <450,H,MT, MTH>
LOADER PILOT PIPING (2-2) <450, H. MT. MTH>
LOADER FRONT PIPING (1) <450, H, MT, MTH>
LOADER FRONT PIPING (2) <450, H, MT, MTH>
LOADER LUBRICATE PIPING <450, H, MT, MTH>
LOADER BUCKET 2. 3 (BOTTOM DUMP) <450, H, MT, MTH>
LOADER BUCKET 2.6 (BOTTOM DUMP) <450, H, MT, MTH>
MAIN PIPING (BREAKER) <450, H, MT, MTH>
MAIN PIPING (BREAKER) <460>
FILTER (BREAKER)
CONTROL PEDAL (BREAKER)
CONTROL PEDAL (BREAKER)
CONTROL PEDAL (BREAKER) [ACCELERATOR PEDAL TYPE]
PILOT PIPING: 1 (BREAKER)
PILOT PIPING: 1 (BREAKER)
PILOT PIPING: 2 (BREAKER)
PILOT PIPING: 2 (BREAKER)
PILOT PIPING: 2 (BREAKER) [ACCELERTOR PEDAL TYPE]
BREAKER PARTS
ELECTRIC PARTS (BREAKER)
BOOM PARTS (BREAKER)
ARM PARTS (BREAKER)
FRONT PIPING: 1 (OKADA/FURUKAWA BREAKER) (STD. BOOM, H BOOM) <450,H,MT, MTH>
FRONT PIPING: 2 (OKADA/FURUKAWA BREAKER) (STD. BOOM, H BOOM) <450,H,MT, MTH>
FRONT PIPING: 1 (NPK BREAKER) <450, H,MT,MTH>
FRONT PIPING: 2 (NKP BREAKER) <450, H,MT,MTH>
BOOM PIPING (STD. BOOM, H BOOM) (BREAKER & CRUSHER)
BOOM PIPING (BE BOOM) (BREAKER & CRUSHER)
ARM PIPING (STD. ARM, H ARM) (BREAKER & CRUSHER)
ARM PIPING (BE ARM) (BREAKER & CRUSHER)
COMMON PIPING (BRAKER & CRUSHER)
PILOT PIPING (BRAKER & CRUSHER)
NAME-PLATE (BREAKER) <450, H, MT, MTH>
ELECTRIC TYPE CONTROL PARTS <460>
QUICKHITCH PIPING (STD. BOOM, H BOOM) <460>
QUICKHITCH PIPING (BE BOOM) <460>
QUICKHITCH PIPING (STD. ARM, H ARM) <460>
QUICKHITCH PIPING (BE ARM) <460>
QUICKHITCH PIPING (SEMI-LONG ARM) <460>
ASSIST PIPING (STD. BOOM, H BOOM)
ASSIST PIPING (BE BOOM)
ASSIST PIPING (STD. ARM, H ARM)
ASSIST PIPING (BE ARM)
ASSIST PIPING (SEMI-LONG ARM)
QUICKHITCH / ASSIST COMMON PARTS (STD. BOOM, H BOOM)
QUICKHITCH / ASSIST COMMON PARTS (BE BOOM)
CLAMSHELL PIPING (STD. ARM, H ARM)
CLAMSHELL PIPING (BE ARM)
CLAMSHELL PIPING (SEMI-LONG ARM)
COUNTERWEIGHT (REMOVAL DEVICE) <450, H, MT, MTH>
C/W LIFTING DEVICE <450,H, MT, MTH>
CYLINDER (REMOVAL DEVICE) <450,H,MT, MTH>
CONTROL SYSTEM (REMOVAL DEVICE) <450,H,MT, MTH>
PILOT PIPING (REMOVAL DEVICE) <450, H, MT, MTH>
HIGH-PRESSURE PIPING (REMOVAL DEVICE) <450,H,MT, MTH>
TOOLS
NAME-PLATE (1) <450, MT>
NAME-PLATE (1) <H, MTH>
NAME-PLATE (1) <460>
NAME-PLATE (2) <450,MT>
NAME-PLATE (2) <H, MTH>
NAME-PLATE (2) <460>
4192421
4192421
1
2
2
3
4
4
4
5
5
5
8
9
9
9
10
12
14
14
14
15
15
16
16
17
19
20
22
22
23
23
23
23
23
30
31
32
33
35
36
36
37
48
49
52
53
54
54
55
56
Позиция на иллюстрации
Заводской номер детали
Название детали
4192421
4192421
BATTERY
1
8059085
HOLDER
2
4286840
BOLT
3
4286841
BOLT
4
M500807
NUT
5
A590908
WASHER, SPRING
8
4251587
RELAY
9
J020614
BOLT, SEMS
9
J260614
BOLT, SEMS
10
4297280
BRACKET
12
6019189
BOX, RELAY
14
J031230
BOLT, SEMS
14
J281230
BOLT, SEMS
15
4452158
RELAY
15
4279835
RELAY, SAFETY
16
J010814
BOLT, SEMS
16
J260814
BOLT, SEMS
17
А590108
WASHER, PLANE
19
8077722
COVER
20
4255762
RELAY, BATTERY
22
J260825
BOLT, SEMS
22
J020825
BOLT, SEMS
23
J021025
BOLT, SEMS
23
J271025
BOLT, SEMS
30
J900820
BOLT
31
2045194
HARNESS, WIRE
32
4295912
HARNESS, WIRE
33
4271827
HARNESS, WIRE
35
4453579
HARNESS, WIRE
36
4211059
BUSHING, RUBBER
37
4207839
BUSHING, RUBBER
48
J950010
NUT
49
А590910
WASHER, SPRING
52
J901020
BOLT
53
А590910
WASHER, SPRING
54
4190273
CLIP
55
4315323
FUSIBLE-LINK
56
4315324
FUSIBLE-LINK
Содержащиеся в справочниках-каталогах запасные части и детали не предлагаются к продаже, а носят исключительно информационный характер
Дополнительная информация
×
Название:
Номер:
Примечание: