Вернуться на главную
Поиск
Каталоги запчастей к технике
Спецтехника
Hitachi
ZX-330
ВЕН ARM (2.11M) <350>
Каталог запасных частей к технике: Hitachi ZX-330. ВЕН ARM (2.11M) <350>
zoom-in
zoom-out
enlarge
shrink
circle-right
circle-left
file-text2
info
cart
Тип техники
Не выбрано
Легковые автомобили
Грузовые автомобили и прицепы
Автобусы
Сельхозтехника
Спецтехника
Двигатели
Мототехника
Марка
Не выбрано
Ammann
BOMAG
CARMIX
CASE IH
Changlin
ChengGong
Dimex
Doosan
DYNAPAC
Foton
HAMM
Hidromek
Hitachi
Hyundai
JCB
JLG
John Deere
Komatsu
LIEBHERR
LiuGong
Lonking (LongGong)
Luneng
MANITOU
Mitsuber
New Holland
PENGPU
RM-Terex
SANY
SDLG
SEM
Shantui
Shehwa HBXG
Soosan
TIGARBO
VOGELE
Volvo
WAY
WIRTGEN
XCMG
XGMA
Xiamen
YTO
Yuchai
Zoomlion
Автокран
АЗСМ
Алтайлесмаш
Амкодор
АОМЗ
Атек
АТЗ
Балканкар Рекорд
БелАЗ
Беловеж
Борекс
Брянский Арсенал
Булат
ВЭКС
ГАЗ
Геомаш
Гидромаш
Донекс
Дормаш
Дормашина
Дорэлектромаш
ДЭЗ
ЕлАЗ
ЗЗГТ
Ижнефтемаш
Канаш-электрокар
КЗКТ
ККЗ
Клевер
Клинцовский автокрановый завод
КМЗ
КМЗ 1 Мая
Ковровец
Коммаш
Кранэкс
КЭЗ
КЭМЗ
ЛЗА
МАЗ
МЗИК
МЗКМ
МЗКТ
Михневский РМЗ
МоАЗ
Мозырский МЗ
МТЗ
ОЗП
Онежец
ПАО "ТЗА"
ППС Детва
Промтрактор
ПТЗ
Раскат
СпецАгрегат
ТВЭКС
ТТМ
УВЗ
Угличмаш
УЗТМ
ХТЗ
ЧЗКМ
ЧСДМ
ЧТЗ
ЭКСКО
ЭКСМАШ
ЮрМаш
Модель
Не выбрано
EX-100-2 (2000)
EX-100-3 (2008)
EX-100WD (2008)
EX-120 (2008)
EX-120-2 (2008)
EX-160WD (2008)
EX-200 (2008)
EX-200-2 (2008)
EX-200-3
EX-220 (2008)
EX-220-2 (2008)
EX-270 (2008)
EX-300 (2008)
EX-300-2 (2000)
EX-400 Type A (2006)
EX-400 Type B (2006)
EX-60 (2003)
EX-60-2 (2000)
EX-60-3 (2008)
EX-70 (2017)
LX-110-7 (2008)
LX-130-7 (2008)
LX-150-2 (2008)
LX-160-7 (2008)
LX190-7/LX230-7 (2008)
Zaxis 190-3
ZAXIS 200-5A (2018)
ZAXIS 200LC-5A (2018)
ZAXIS 210H-5A (2018)
ZAXIS 210K-5A (2018)
ZAXIS 210LCH-5A (2018)
ZAXIS 210LCK-5A (2018)
ZAXIS 330-5G (2017)
ZAXIS 350H-5G (2017)
ZAXIS 48U-5A (2020)
ZAXIS 850-3
ZAXIS 870H-3
ZX-110 (2008)
ZX-160W (2008)
ZX-200 (2008)
ZX-230 (2008)
ZX-25 (2008)
ZX-270 (2008)
ZX-330 (2010)
ZX-330-3 (Part № PIHH-I-3) (2008)
ZX-330-3 (Part № PIHH-I-5) (2013)
ZX-330-3G (2008)
ZX-400R-3 (2010)
ZX-450 (2006)
ZX-600 (2007)
Компоненты EX-100-2 (2000)
Компоненты EX-100WD (2008)
Компоненты EX-120 (2008)
Компоненты EX-120-2 (2008)
Компоненты EX-160WD (2008)
Компоненты EX-200 (2008)
Компоненты EX-200-2 (2008)
Компоненты EX-200-3(LC, H)
Компоненты EX-220 (2008)
Компоненты EX-220-2 (2008)
Компоненты EX-270 (2008)
Компоненты EX-300 (2008)
Компоненты EX-300-2 (2000)
Компоненты EX-400 Type A (2006)
Компоненты EX-400 Type B (2006)
Компоненты EX-60 (2003)
Компоненты EX-60-2 (2000)
Компоненты EX-60-3 (2008)
Компоненты ZAXIS 450, 470, 500, 520 (2010)
Компоненты ZX-110 (2008)
Компоненты ZX-120 (130) (2008)
Компоненты ZX-160W (2008)
Компоненты ZX-200 (2008)
Компоненты ZX-230 (2008)
Компоненты ZX-270 (2008)
Компоненты ZX-330 (2008)
Компоненты ZX-450 (2006)
Схема
>
Не выбрано
FRAME <330, 370.H.MTH>
FRAME <350, MTH(EU3,EU4)>
FRAME <K>
BOOM FOOT PIN
CENTER JOINT PARTS (UPPERSTRUCTURE)
COUNTERWEIGHT <330>
COUNTERWEIGHT <350,MTH(EU3,EU4)>
COUNTERWEIHGT 8. 2T <350>
COUNTERWEIGHT <370,H, MTH>
COUNTERWEIGHT <K>
ENGINE
ENGINE SUPPORT
OIL FILTER PIPING
INTER COOLER PIPING
INTER COOLER NET
RADIATOR
RADIATOR SUPPORT
RADIATOR COVER
RESERVE TANK
AIR CLEANER
AIR CLEANER SUPPORT
AIR CLEANER PARTS
PRE CLEANER
PRE CLEANER PARTS
MUFFLER
FUEL TANK
FUEL TANK SUPPORT
FUEL PIPING
FUEL FEED PUMP
FUEL DOUBLE FILTER
FUEL DOUBLE FILTER <350,MTH(EU3,EU4)>
PUMP DEVICE
PUMP DEVICE SUPPORT
SWING DEVICE
SWING DEVICE SUPPORT
OIL TANK
OIL TANK <K>
SUCTION PIPING
DELIVERY PIPING
RETURN PIPING (1)
RETURN PIPING (2)
DRAIN PIPING
DRAIN PIPING <350,MTH(EU3,EU4)>
MAIN PIPING (1)
MAIN PIPING (2)
MAIN PIPING (2) <350,MTH(EU3,EU4)>
MAIN PIPING (3)
MAIN PIPING (4)
MAIN PIPING (4) <350,MTH(EU3,EU4)>
BOOM BOTTOM PIPING
BOOM BOTTOM PIPING <K>
SIDE BRANCH PIPING
ENGINE CONTROL
ENGINE CONTROL MOTOR
ENGINE STOP CABLE
CONTROL LEVER (FRONT, SWING)
CONTROL LEVER (TRAVEL)
CONTROL LEVER (TRAVEL) <K>
LOCK LEVER
CONTROL VALVE
CONTROL VALVE SUPPORT
SOLENOID VALVE
PILOT PIPING (1)
PILOT PIPING (2)
PILOT PIPING (2) <350,MTH(EU3,EU4)>
PILOT PIPING (3)
PILOT PIPING (4-1)
PILOT PIPING (4-1) <350,MTH(EU3,EU4)>
PILOT PIPING (4-2)
PILOT PIPING (4-2) <350,MTH(EU3,EU4)>
PILOT PIPING (5-1)
PILOT PIPING (5-2)
PILOT PIPING (5-3)
PILOT PIPING (6)
PILOT PIPING (7)
PILOT PIPING (8)
PILOT PIPING (9)
PILOT PIPING (10-1)
PILOT PIPING (10-1) <350, MTH(EU3, EU4) >
PILOT PIPING (10-2)
PILOT PIPING (10-2) <350,MTH(EU3,EU4)>
PILOT PIPING (11)
CONSOLE
CONSOLE COVER
CONSOLE COVER <K>
RIGHT COVER
RIGHT COVER (NA) <350, MTH(EU3, EU4)>
RADIO (AM/FM)
RADIO LESS PARTS
CONTROL UNIT
ELECTRIC PARTS A
ELECTRIC PARTS B
ELECTRIC PARTS C
ELECTRIC PARTS D
ELECTRIC PARTS E
ELECTRIC PARTS F <K>
SWITCH BOX (AUTO. ENGINE CONTROL)
SATELLITE DATA COMMUNICATOR PARTS
FRONT HEAD LAMP (2 LAMP)
FRONT HEAD LAMP (2 LAMP) <MTH>
FRONT HEAD LAMP (4 LAMP) <350>
FRONT HEAD LAMP (2 LAMP WITH SUNSHADE) <350>
FRONT HEAD LAMP (4 LAMP WITH SUNSHADE) <350>
REAR HEAD LAMP (1 LAMP)
REAR HEAD LAMP (1 LAMP) <350, MTH(EU3, EU4)>
REAR HEAD LAMP (2 LAMP) <350, MTH(EU3, EU4)>
ROTATING BEACON <350,<(EU3, EU4)>
FUSE <350,MTH(EU3,EU4)>
BOOM LIGHT HARNESS
BOOM LIGHT (R)
BOOM LIGHT (R) (MONO BOOM) (WITH LIGHT COVER) <350,MTH(EU3, EU4)>
BOOM LIGHT (R) (2P-B00M) (WITH LIGHT COVER) <350, MTH(EU3, EU4)>
HORN
SWING MOTION ALARM
TRAVEL MOTION ALARM
AIR CONDITIONER (1)
AIR CONDITIONER (2)
AIR CONDITIONER (3)
AIR CONDITIONER (4)
AIR-CON. UNIT
CONDENSER NET
HEATER PIPING
CAR HEATER
HEATER UNIT
DUCT
REAR BOX (AIR-CON.)
REAR BOX (HEATER)
REAR BOX (HEATER LESS)
REAR BOX (12V POWER SUPPLY)
12V POWER UNIT
CAB GROUP
CAB GROUP <MTH>
CAB <330, H>
CAB (NA)
CAB <350>
CAB (WITH GUARD SEAT) <350>
CAB (WITH VANDAL HOOK) <350>
CAB <MTH(EU3,EU4)>
CAB <K>
CAB <MTH>
CAB 1
CAB 2 <K>
CAB 2 <330,370,H>
CAB 2 <350>
CAB 2 <K>
CAB 2 <MTH>
CAB 3
CAB 3 (WITH VANDAL HOOK) (NA)<350>
CAB 4
CAB 5
CAB 5 <350>
CAB 6 <330, H, MTH>
CAB 6 (NA) <350>
CAB 6 <K>
CAB 7
CAB 8 <MTH> (OPG)
CAB 8 <K>
CAB GUARD
CAB GUARD <MTH>
WINDOW GUARD
WINDOW GUARD <350>
CAB MIRROR
POWER WINDOW
POWER WINDOW PARTS
WINDOW WASHER
SUNSHADE
SUNVISOR <350,MTH(EU3, EU4)>
FLOOR PARTS
FLOOR PARTS (HEATER LESS)
FLOOR PLATE
SEAT (CLOTH)
SEAT (VINYL)
SUSPENSION SEAT (CLOTH)
SUSPENSION SEAT
SUSPENSION SEAT (WITH HEATER) <350,MTH(EU3,EU4)>
AIR-SUSPENSION SEAT (WITH HEATER) <350, MTH(EU3, EU4)>
HEATER SEAT PARTS <350, MTH(EU3, EU4)>
SEAT BELT (SUSPENSION SEAT)
SEAT BELT (SUSPENSION SEAT) (NA)
SEAT BELT (AIR-SUSPENSION SEAT) <350,MTH(EU3, EU4)>
SEAT STAND
SEAT STAND (SUSPENSION) <330, H, K, MTH>
SEAT STAND (SUSPENSION) <330, H, K, MTH>
SEAT STAND (SUSPENSION) <350> (NA)
COVER 1
COVER 2
COVER 3
COVER 3 (MONO BOOM) <350, MTH(EU3, EU4)>
COVER 3 (2P-B00M) <350>
COVER 4
COVER 5
COVER 5 <350,MTH(EU3, EU4)>
COVER 6
COVER 7
COVER 7 <350,MTH(EU3,EU4)>
COVER 8
TROPICAL COVER
DOOR LOCK (1)
DOOR LOCK (2)
WEATHER STRIP
ENGINE COVER
TOOL COVER
UNDER COVER <330, 370>
UNDER COVER <350>
UNDERCOVER (4.5mm) <350, MTH(EU3, EU4)>
UNDER COVER <H, MTH>
UNDER COVER <K>
SIDE WALK <MTH>
LUBRICATOR
TRACK FRAME (STD. TRACK)
TRACK FRAME (LC TRACK)
TRACK FRAME (NARROW LC TRACK)
TRACK FRAME <K>
TRACK FRAME (MTH TRACK)
TRACK GUARD <330, 350, K>
TRACK GUARD <H>
TRACK GUARD <370,MTH>
FULL-LENGTH TRACK GUARD (STD. TRACK)
FULL-LENGTH TRACK GUARD (LC TRACK, NARROW LC TRACK)
FULL-LENGTH TRACK GUARD (MTH TRACK)
STEP
ADDITIONAL STEP
TRACK UNDER COVER
SWING BEARING
SWING BEARING PARTS
TRAVEL DEVICE
TRAVEL DEVICE (MTH TRACK)
TRAVEL DEVICE SUPPORT
TRAVEL DEVICE SUPPORT (MTH TRACK)
FRONT IDLER <330,350 (EU1), H, K>
FRONT IDLER <350 (EU2)>
FRONT IDLER (R) <370, MTH, MTH(EU3)>
FRONT IDLER (R) <350(EU4)>
FRONT IDLER (L) <370,MTH, MTH(EU3)
FRONT IDLER (L) <MTH (EU4)>
ADJUSTER <330.350 (EU1),H,K>
ADJUSTER <350 (EU2)>
ADJUSTER <370,MTH,MTH(EU3)>
ADJUSTER <MTH(EU4)>
UPPER ROLLER <330,350 (EU1), H, K>
PPER ROLLER <350(EU2)>
UPPER ROLLER <370,MTH,MTH(EU3)>
UPPER ROLLER <MTH(EU4)>
LOWER ROLLER <330,350(EU1), H, K>
LOWER ROLLER <350(EU2)>
LOWER ROLLER <370,MTH,MTH(EU3)>
LOWER ROLLER <MTH(EU4)>
LOWER ROLLER SUPPORT (STD. TRACK)
LOWER ROLLER SUPPORT (LC TRACK, NARROW LC TRACK)
LOWER ROLLER SUPPORT (MTH TRACK)
TRACK-LINK (STD. TRACK)
TRACK-LINK (LC TRACK)
TRACK-LINK <350(EU1)>
TRACK-LINK <350(EU2)>
TRACK-LINK <370,MTH,MTH(EU3)>
TRACK-LINK <MTH(EU4)>
CENTER JOINT
CENTER JOINT SUPPORT (TRACK)
TRAVEL PIPING (STD. TRACK)
TRAVEL PIPING (LC TRACK, NARROW LC TRACK)
TRAVEL PIPING (MTH TRACK)
TRAVEL MOTOR COVER
TRAVEL MOTOR COVER (MTH TRACK)
STD. BOOM <330, 370>
H BOOM <350, H, MTH>
К BOOM <K>
ARM 3. 2M <330, 350, 370>
H ARM 3. 2M <H, MTH>
К ARM 3. 2M <K>
ARM 2.33M <350,MTH(EU3,EU4)
ARM 2.66M
ARM 4.0M
LINK A
LINK В <330, 350, 370>
LINK В <350,H,MTH>
LINK В <K>
FRONT PIPING
BOOM CYLINDER (R)
BOOM CYLINDER (L)
ARM CYLINDER
BUCKET CYLINDER
LUBRICATE PIPING
AUTO.LUBRICATE DEVICE
AUTO.LUBRICATE PIPING (BOOM)
AUTO.LUBRICATE PIPING (ARM)
BUCKET 1.15 (JIS 94)
BUCKET 1.4 (JIS 94)
К BUCKET 1.4 (JIS 94)
BUCKET 1.4 (JIS 94) (SUPER V TOOTH)
BUCKET 1.4 (JIS 94) (SUPER V TOOTH, FOR TOOTH PLATE)
BUCKET 1.4 (JIS 94) (SIDE-PIN TOOTH)
BUCKET 1.62 (JIS 94)
BUCKET 1.86 (JIS 94)
ROCK BUCKET 1.15 (JIS 94)
ROCK BUCKET 1. 38 (JIS 94) (SUPER V TOOTH)
ROCK BUCKET 1.38 (JIS 94) (SIDE-PIN TOOTH)
ROCK BUCKET 1.5 (JIS 94) (SUPER V TOOTH)
ROCK BUCKET 1.5 (JIS 94) (SIDE-PIN TOOTH)
RIPPER BUCKET 0.9 (JIS 94)
ONE POINT RIPPER
HOSE RUPTURE VALVE PIPING (BOOM) (ISO SPEC.)
HOSE RUPTURE VALVE PIPING (ARM) (ISO SPEC) (MONO BOOM)
OVER LOAD ALARM DEVICE
2P-B00M <350>
FRONT PIPING (2P-B00M) <350>
ARM CYLINDER (2P-B00M) <350>
POSITIONING CYLINDER (2P-B00M) <350>
LUBRICATE PIPING (2P-B00M) <350>
HOSE RUPTURE VALVE PIPING (ARM) (ISO SPEC) (2P-B00M)
HOSE RUPTURE VALVE PIPING (POSITIONING) (ISO SPEC) (2P-B00M)
CONTROL PEDAL (2P-B00M) <350>
PILOT PIPING (2P-B00M) <350>
PILOT PIPING (2P-B00M/PT0) <350>
MAINE PIPING (2P-B00M) <350>
ВЕН BOOM <350>
ВЕН ARM (2.11M) <350>
ВЕН FRONT PIPING <350>
ВЕН BUCKET CYLINDER <350>
ВЕН LUBRICATE PIPING <350>
ВЕН BOOM PIPING (BREAKER & CRUSHER) <350>
ВЕН ARM PIPING (2.11M) (BREAKER & CRUSHER) <350>
CONTROL PEDAL (BREAKER & CRUSHER)
PILOT PIPING (BREAKER & CRUSHER)
MAIN PIPING (BREAKER & CRUSHER)
MAIN PIPING (BREAKER & CRUSHER) <350, MTH(EU3, EU4)>
BOOM PIPING (BREAKER & CRUSHER)
BOOM PIPING (BREAKER & CRUSHER) (MONO BOOM) <350,MTH(EU3, EU4)>
BOOM PIPING (BREAKER & CRUSHER) (2P-B00M) <350>
ARM PIPING (BREAKER & CRUSHER)
ARM PIPING (2.33M ARM) (BREAKER & CRUSHER) <350>
ARM PIPING (2.66M ARM) (BREAKER & CRUSHER) <350>
ARM PIPING (3.20M ARM) (BREAKER & CRUSHER) <350, MTH(EU3, EU4)>
ARM PIPING (4.00M ARM) <350>
NPK BREAKER PIPING (BREAKER & CRUSHER)
HSB BREAKER PIPING (BREAKER & CRUSHER) (MONO BOOM)
HSB BREAKER PIPING (BREAKER & CRUSHER) (2P-B00M) <350>
NPK COMMON PIPING (BREAKER & CRUSHER)
HSB COMMON PIPING (BREAKER & CRUSHER) (MONO BOOM)
HSB COMMON PIPING (BREAKER & CRUSHER) (2P-B00M) <350>
PILOT PIPING (FLOW PATE SELECTOR)
MAIN PIPING (FLOW PATE SELECTOR)
MAINE PIPING (FLOW RATE SELECTOR) <350,MTH(EU3,EU4)>
ELECTRIC PARTS (FLOW PATE SELECTOR)
ADD. GEAR PUMP PIPING (30L) <350, MTH(EU3, EU4)>
ADD. GEAR PUMP PIPING (50L) <350, MTH(EU3, EU4)>
HIGH PERFORMANCE FILTER KIT <350,MTH(EU3, EU4)>
ELECTRIC TYPE CONTROL PARTS (ADD/P)
ELECTRIC TYPE CONTROL PARTS (PTO)
MAINE PIPING (PTO) (MONO BOOM)
PILOT PIPING (PTO/V, FLOW RATE SELECTOR)
QUICKHITCH PIPING (MAIN) <350,MTH(EU3,EU4)>
QUICKHITCH PIPING (MONO BOOM) <350, MTH(EU3.EU4)>
QUICKHITCH PIPING (2P-B00M) <350>
QUICKHITCH PIPING (2.33M ARM) <350>
QUICKHITCH PIPING (2.66M ARM) <350>
QUICKHITCH PIPING (3.20MARM) <350, MTH(EU3, EU4)>
QUICKHITCH PIPING (4.00M ARM) <350>
ASSIST PIPING (MONO BOOM) <350, MTH(EU3, EU4)>
ASSIST PIPING (2P-B00M) <350>
ASSIST PIPING (2.33M ARM) <350>
ASSIST PIPING (2.66M ARM) <350>
ASSIST PIPING (3.20MARM) <350, MTH(EU3, EU4)>
ASSIST PIPING (4.00M ARM) <350>
CLAMSHELL PIPING (2.33M ARM) <350>
CLAMSHELL PIPING (2.66M ARM) <350>
CLAMSHELL PIPING (3.20M ARM) <350, MTH(EU3, EU4)>
CLAMSHELL PIPING (4.00M ARM) <350>
QUICKHITCH / ASSIST COMMON PARTS (MONO BOOM) <350, MTH(EU3, EU4)>
QUICKHITCH / ASSIST COMMON PARTS (2P-B00M) <350>
PILOT PIPING (4-2) <TRAVEL HEAT>
PILOT PIPING (11) <TRAVEL HEAT>
TRAVEL HEAT ARTICLE <TRAVEL HEAT>
TRAVEL HEAT PIPING <TRAVEL HEAT>
TRAVEL DEVICE (STD. TRACK, LC TRACK, NARROW LC TRACK) <TRAVEL HEAT>
TRAVEL PIPING (STD. TRACK) <TRAVEL HEAD>
TRAVEL PIPING (LC TRACK, NARROW LC TRACK) <TRAVEL HEAT>
4 WAY MULTI LEVER (STD)
4 WAY MULTI LEVER PARTS (STD)
4 WAY MULTI LEVER PIPING (1) (STD)
4 WAY MULTI LEVER PIPING (2) (STD)
4 WAY MULTI LEVER PIPING (3) (STD)
4 WAY MULTI LEVER PIPING (4) (STD)
TOOLS
NAME PLATE (ENGLISH) (NA)
NAME PLATE (RUSSIAN)
NAME PLATE <350, MTH(EU3, EU4)>
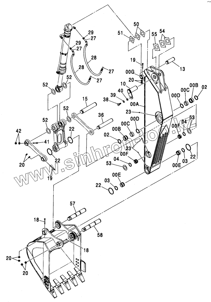
00A-F
00A
00B
00B
00C
00C
00D
00D
00E
00E
00F
00F
00G
02
02
03
03
04
04
10
13
15
18
18
19
19
20
20
20
20
22
22
22
22
23
23
27
27
27
27
28
28
29
29
29A
29A
36
38
39
40
41
42
50
51
52
52
52
52
53
53
54
55
57
58
Позиция на иллюстрации
Заводской номер детали
Название детали
00A-F
7044861
АRМ АS' Y
00A
5009043
АRМ
00B
4443884
BUSHING
00C
4381855
BUSHING
00D
4085479
SEAL, DUST
00E
4443885
BUSHING
00F
4438771
BUSHING
00G
4067720
STOPPER
02
4085479
SEAL, DUST
03
4074008
SEAL
04
4067901
SEAL
10
8080908
РIN
13
3079545
РIN
15
3092037
PIN
18
4435127
РIN, SТОРРЕR
19
4435126
PIN
20
J950020
NUT
22
4100180
O-RING
23
J75481
FITTING, GREASE
27
4187328
O-RING
28
4303025
НОSЕ
29
А853188
ADAPTER, S
29A
4506429
O-RING
36
3089968
PIN
38
J921840
BOLT
39
J257218
WASHER, SPRING
40
4441471
PLATE
41
4435128
PIN
42
J950022
NUT
50
4444284
PLATE
51
4444285
PLATE
52
4450014
РLАТЕ, ТНRUSТ 1.0
53
4450013
PLATE
54
4445635
PLATE THRUST 1.0mm
55
4445636
PLATE THRUST 2.0mm
57
3090418
PIN
58
3090417
PIN
Содержащиеся в справочниках-каталогах запасные части и детали не предлагаются к продаже, а носят исключительно информационный характер
Дополнительная информация
×
Название:
Номер:
Примечание: