Вернуться на главную
Поиск
Каталоги запчастей к технике
Спецтехника
Hitachi
ZX-330
SEAT STAND
Каталог запасных частей к технике: Hitachi ZX-330. SEAT STAND
zoom-in
zoom-out
enlarge
shrink
circle-right
circle-left
file-text2
info
cart
Тип техники
Не выбрано
Легковые автомобили
Грузовые автомобили и прицепы
Автобусы
Сельхозтехника
Спецтехника
Двигатели
Мототехника
Марка
Не выбрано
Ammann
BOMAG
CARMIX
CASE IH
Changlin
ChengGong
Dimex
Doosan
DYNAPAC
Foton
HAMM
Hidromek
Hitachi
Hyundai
JCB
JLG
John Deere
Komatsu
LIEBHERR
LiuGong
Lonking (LongGong)
Luneng
MANITOU
Mitsuber
New Holland
PENGPU
RM-Terex
SANY
SDLG
SEM
Shantui
Shehwa HBXG
Soosan
TIGARBO
VOGELE
Volvo
WAY
WIRTGEN
XCMG
XGMA
Xiamen
YTO
Yuchai
Zoomlion
Автокран
АЗСМ
Алтайлесмаш
Амкодор
АОМЗ
Атек
АТЗ
Балканкар Рекорд
БелАЗ
Беловеж
Борекс
Брянский Арсенал
Булат
ВЭКС
ГАЗ
Геомаш
Гидромаш
Донекс
Дормаш
Дормашина
Дорэлектромаш
ДЭЗ
ЕлАЗ
ЗЗГТ
Ижнефтемаш
Канаш-электрокар
КЗКТ
ККЗ
Клевер
Клинцовский автокрановый завод
КМЗ
КМЗ 1 Мая
Ковровец
Коммаш
Кранэкс
КЭЗ
КЭМЗ
ЛЗА
МАЗ
МЗИК
МЗКМ
МЗКТ
Михневский РМЗ
МоАЗ
Мозырский МЗ
МТЗ
ОЗП
Онежец
ПАО "ТЗА"
ППС Детва
Промтрактор
ПТЗ
Раскат
СпецАгрегат
ТВЭКС
ТТМ
УВЗ
Угличмаш
УЗТМ
ХТЗ
ЧЗКМ
ЧСДМ
ЧТЗ
ЭКСКО
ЭКСМАШ
ЮрМаш
Модель
Не выбрано
EX-100-2 (2000)
EX-100-3 (2008)
EX-100WD (2008)
EX-120 (2008)
EX-120-2 (2008)
EX-160WD (2008)
EX-200 (2008)
EX-200-2 (2008)
EX-200-3
EX-220 (2008)
EX-220-2 (2008)
EX-270 (2008)
EX-300 (2008)
EX-300-2 (2000)
EX-400 Type A (2006)
EX-400 Type B (2006)
EX-60 (2003)
EX-60-2 (2000)
EX-60-3 (2008)
EX-70 (2017)
LX-110-7 (2008)
LX-130-7 (2008)
LX-150-2 (2008)
LX-160-7 (2008)
LX190-7/LX230-7 (2008)
Zaxis 190-3
ZAXIS 200-5A (2018)
ZAXIS 200LC-5A (2018)
ZAXIS 210H-5A (2018)
ZAXIS 210K-5A (2018)
ZAXIS 210LCH-5A (2018)
ZAXIS 210LCK-5A (2018)
ZAXIS 330-5G (2017)
ZAXIS 350H-5G (2017)
ZAXIS 48U-5A (2020)
ZAXIS 850-3
ZAXIS 870H-3
ZX-110 (2008)
ZX-160W (2008)
ZX-200 (2008)
ZX-230 (2008)
ZX-25 (2008)
ZX-270 (2008)
ZX-330 (2010)
ZX-330-3 (Part № PIHH-I-3) (2008)
ZX-330-3 (Part № PIHH-I-5) (2013)
ZX-330-3G (2008)
ZX-400R-3 (2010)
ZX-450 (2006)
ZX-600 (2007)
Компоненты EX-100-2 (2000)
Компоненты EX-100WD (2008)
Компоненты EX-120 (2008)
Компоненты EX-120-2 (2008)
Компоненты EX-160WD (2008)
Компоненты EX-200 (2008)
Компоненты EX-200-2 (2008)
Компоненты EX-200-3(LC, H)
Компоненты EX-220 (2008)
Компоненты EX-220-2 (2008)
Компоненты EX-270 (2008)
Компоненты EX-300 (2008)
Компоненты EX-300-2 (2000)
Компоненты EX-400 Type A (2006)
Компоненты EX-400 Type B (2006)
Компоненты EX-60 (2003)
Компоненты EX-60-2 (2000)
Компоненты EX-60-3 (2008)
Компоненты ZAXIS 450, 470, 500, 520 (2010)
Компоненты ZX-110 (2008)
Компоненты ZX-120 (130) (2008)
Компоненты ZX-160W (2008)
Компоненты ZX-200 (2008)
Компоненты ZX-230 (2008)
Компоненты ZX-270 (2008)
Компоненты ZX-330 (2008)
Компоненты ZX-450 (2006)
Схема
>
Не выбрано
FRAME <330, 370.H.MTH>
FRAME <350, MTH(EU3,EU4)>
FRAME <K>
BOOM FOOT PIN
CENTER JOINT PARTS (UPPERSTRUCTURE)
COUNTERWEIGHT <330>
COUNTERWEIGHT <350,MTH(EU3,EU4)>
COUNTERWEIHGT 8. 2T <350>
COUNTERWEIGHT <370,H, MTH>
COUNTERWEIGHT <K>
ENGINE
ENGINE SUPPORT
OIL FILTER PIPING
INTER COOLER PIPING
INTER COOLER NET
RADIATOR
RADIATOR SUPPORT
RADIATOR COVER
RESERVE TANK
AIR CLEANER
AIR CLEANER SUPPORT
AIR CLEANER PARTS
PRE CLEANER
PRE CLEANER PARTS
MUFFLER
FUEL TANK
FUEL TANK SUPPORT
FUEL PIPING
FUEL FEED PUMP
FUEL DOUBLE FILTER
FUEL DOUBLE FILTER <350,MTH(EU3,EU4)>
PUMP DEVICE
PUMP DEVICE SUPPORT
SWING DEVICE
SWING DEVICE SUPPORT
OIL TANK
OIL TANK <K>
SUCTION PIPING
DELIVERY PIPING
RETURN PIPING (1)
RETURN PIPING (2)
DRAIN PIPING
DRAIN PIPING <350,MTH(EU3,EU4)>
MAIN PIPING (1)
MAIN PIPING (2)
MAIN PIPING (2) <350,MTH(EU3,EU4)>
MAIN PIPING (3)
MAIN PIPING (4)
MAIN PIPING (4) <350,MTH(EU3,EU4)>
BOOM BOTTOM PIPING
BOOM BOTTOM PIPING <K>
SIDE BRANCH PIPING
ENGINE CONTROL
ENGINE CONTROL MOTOR
ENGINE STOP CABLE
CONTROL LEVER (FRONT, SWING)
CONTROL LEVER (TRAVEL)
CONTROL LEVER (TRAVEL) <K>
LOCK LEVER
CONTROL VALVE
CONTROL VALVE SUPPORT
SOLENOID VALVE
PILOT PIPING (1)
PILOT PIPING (2)
PILOT PIPING (2) <350,MTH(EU3,EU4)>
PILOT PIPING (3)
PILOT PIPING (4-1)
PILOT PIPING (4-1) <350,MTH(EU3,EU4)>
PILOT PIPING (4-2)
PILOT PIPING (4-2) <350,MTH(EU3,EU4)>
PILOT PIPING (5-1)
PILOT PIPING (5-2)
PILOT PIPING (5-3)
PILOT PIPING (6)
PILOT PIPING (7)
PILOT PIPING (8)
PILOT PIPING (9)
PILOT PIPING (10-1)
PILOT PIPING (10-1) <350, MTH(EU3, EU4) >
PILOT PIPING (10-2)
PILOT PIPING (10-2) <350,MTH(EU3,EU4)>
PILOT PIPING (11)
CONSOLE
CONSOLE COVER
CONSOLE COVER <K>
RIGHT COVER
RIGHT COVER (NA) <350, MTH(EU3, EU4)>
RADIO (AM/FM)
RADIO LESS PARTS
CONTROL UNIT
ELECTRIC PARTS A
ELECTRIC PARTS B
ELECTRIC PARTS C
ELECTRIC PARTS D
ELECTRIC PARTS E
ELECTRIC PARTS F <K>
SWITCH BOX (AUTO. ENGINE CONTROL)
SATELLITE DATA COMMUNICATOR PARTS
FRONT HEAD LAMP (2 LAMP)
FRONT HEAD LAMP (2 LAMP) <MTH>
FRONT HEAD LAMP (4 LAMP) <350>
FRONT HEAD LAMP (2 LAMP WITH SUNSHADE) <350>
FRONT HEAD LAMP (4 LAMP WITH SUNSHADE) <350>
REAR HEAD LAMP (1 LAMP)
REAR HEAD LAMP (1 LAMP) <350, MTH(EU3, EU4)>
REAR HEAD LAMP (2 LAMP) <350, MTH(EU3, EU4)>
ROTATING BEACON <350,<(EU3, EU4)>
FUSE <350,MTH(EU3,EU4)>
BOOM LIGHT HARNESS
BOOM LIGHT (R)
BOOM LIGHT (R) (MONO BOOM) (WITH LIGHT COVER) <350,MTH(EU3, EU4)>
BOOM LIGHT (R) (2P-B00M) (WITH LIGHT COVER) <350, MTH(EU3, EU4)>
HORN
SWING MOTION ALARM
TRAVEL MOTION ALARM
AIR CONDITIONER (1)
AIR CONDITIONER (2)
AIR CONDITIONER (3)
AIR CONDITIONER (4)
AIR-CON. UNIT
CONDENSER NET
HEATER PIPING
CAR HEATER
HEATER UNIT
DUCT
REAR BOX (AIR-CON.)
REAR BOX (HEATER)
REAR BOX (HEATER LESS)
REAR BOX (12V POWER SUPPLY)
12V POWER UNIT
CAB GROUP
CAB GROUP <MTH>
CAB <330, H>
CAB (NA)
CAB <350>
CAB (WITH GUARD SEAT) <350>
CAB (WITH VANDAL HOOK) <350>
CAB <MTH(EU3,EU4)>
CAB <K>
CAB <MTH>
CAB 1
CAB 2 <K>
CAB 2 <330,370,H>
CAB 2 <350>
CAB 2 <K>
CAB 2 <MTH>
CAB 3
CAB 3 (WITH VANDAL HOOK) (NA)<350>
CAB 4
CAB 5
CAB 5 <350>
CAB 6 <330, H, MTH>
CAB 6 (NA) <350>
CAB 6 <K>
CAB 7
CAB 8 <MTH> (OPG)
CAB 8 <K>
CAB GUARD
CAB GUARD <MTH>
WINDOW GUARD
WINDOW GUARD <350>
CAB MIRROR
POWER WINDOW
POWER WINDOW PARTS
WINDOW WASHER
SUNSHADE
SUNVISOR <350,MTH(EU3, EU4)>
FLOOR PARTS
FLOOR PARTS (HEATER LESS)
FLOOR PLATE
SEAT (CLOTH)
SEAT (VINYL)
SUSPENSION SEAT (CLOTH)
SUSPENSION SEAT
SUSPENSION SEAT (WITH HEATER) <350,MTH(EU3,EU4)>
AIR-SUSPENSION SEAT (WITH HEATER) <350, MTH(EU3, EU4)>
HEATER SEAT PARTS <350, MTH(EU3, EU4)>
SEAT BELT (SUSPENSION SEAT)
SEAT BELT (SUSPENSION SEAT) (NA)
SEAT BELT (AIR-SUSPENSION SEAT) <350,MTH(EU3, EU4)>
SEAT STAND
SEAT STAND (SUSPENSION) <330, H, K, MTH>
SEAT STAND (SUSPENSION) <330, H, K, MTH>
SEAT STAND (SUSPENSION) <350> (NA)
COVER 1
COVER 2
COVER 3
COVER 3 (MONO BOOM) <350, MTH(EU3, EU4)>
COVER 3 (2P-B00M) <350>
COVER 4
COVER 5
COVER 5 <350,MTH(EU3, EU4)>
COVER 6
COVER 7
COVER 7 <350,MTH(EU3,EU4)>
COVER 8
TROPICAL COVER
DOOR LOCK (1)
DOOR LOCK (2)
WEATHER STRIP
ENGINE COVER
TOOL COVER
UNDER COVER <330, 370>
UNDER COVER <350>
UNDERCOVER (4.5mm) <350, MTH(EU3, EU4)>
UNDER COVER <H, MTH>
UNDER COVER <K>
SIDE WALK <MTH>
LUBRICATOR
TRACK FRAME (STD. TRACK)
TRACK FRAME (LC TRACK)
TRACK FRAME (NARROW LC TRACK)
TRACK FRAME <K>
TRACK FRAME (MTH TRACK)
TRACK GUARD <330, 350, K>
TRACK GUARD <H>
TRACK GUARD <370,MTH>
FULL-LENGTH TRACK GUARD (STD. TRACK)
FULL-LENGTH TRACK GUARD (LC TRACK, NARROW LC TRACK)
FULL-LENGTH TRACK GUARD (MTH TRACK)
STEP
ADDITIONAL STEP
TRACK UNDER COVER
SWING BEARING
SWING BEARING PARTS
TRAVEL DEVICE
TRAVEL DEVICE (MTH TRACK)
TRAVEL DEVICE SUPPORT
TRAVEL DEVICE SUPPORT (MTH TRACK)
FRONT IDLER <330,350 (EU1), H, K>
FRONT IDLER <350 (EU2)>
FRONT IDLER (R) <370, MTH, MTH(EU3)>
FRONT IDLER (R) <350(EU4)>
FRONT IDLER (L) <370,MTH, MTH(EU3)
FRONT IDLER (L) <MTH (EU4)>
ADJUSTER <330.350 (EU1),H,K>
ADJUSTER <350 (EU2)>
ADJUSTER <370,MTH,MTH(EU3)>
ADJUSTER <MTH(EU4)>
UPPER ROLLER <330,350 (EU1), H, K>
PPER ROLLER <350(EU2)>
UPPER ROLLER <370,MTH,MTH(EU3)>
UPPER ROLLER <MTH(EU4)>
LOWER ROLLER <330,350(EU1), H, K>
LOWER ROLLER <350(EU2)>
LOWER ROLLER <370,MTH,MTH(EU3)>
LOWER ROLLER <MTH(EU4)>
LOWER ROLLER SUPPORT (STD. TRACK)
LOWER ROLLER SUPPORT (LC TRACK, NARROW LC TRACK)
LOWER ROLLER SUPPORT (MTH TRACK)
TRACK-LINK (STD. TRACK)
TRACK-LINK (LC TRACK)
TRACK-LINK <350(EU1)>
TRACK-LINK <350(EU2)>
TRACK-LINK <370,MTH,MTH(EU3)>
TRACK-LINK <MTH(EU4)>
CENTER JOINT
CENTER JOINT SUPPORT (TRACK)
TRAVEL PIPING (STD. TRACK)
TRAVEL PIPING (LC TRACK, NARROW LC TRACK)
TRAVEL PIPING (MTH TRACK)
TRAVEL MOTOR COVER
TRAVEL MOTOR COVER (MTH TRACK)
STD. BOOM <330, 370>
H BOOM <350, H, MTH>
К BOOM <K>
ARM 3. 2M <330, 350, 370>
H ARM 3. 2M <H, MTH>
К ARM 3. 2M <K>
ARM 2.33M <350,MTH(EU3,EU4)
ARM 2.66M
ARM 4.0M
LINK A
LINK В <330, 350, 370>
LINK В <350,H,MTH>
LINK В <K>
FRONT PIPING
BOOM CYLINDER (R)
BOOM CYLINDER (L)
ARM CYLINDER
BUCKET CYLINDER
LUBRICATE PIPING
AUTO.LUBRICATE DEVICE
AUTO.LUBRICATE PIPING (BOOM)
AUTO.LUBRICATE PIPING (ARM)
BUCKET 1.15 (JIS 94)
BUCKET 1.4 (JIS 94)
К BUCKET 1.4 (JIS 94)
BUCKET 1.4 (JIS 94) (SUPER V TOOTH)
BUCKET 1.4 (JIS 94) (SUPER V TOOTH, FOR TOOTH PLATE)
BUCKET 1.4 (JIS 94) (SIDE-PIN TOOTH)
BUCKET 1.62 (JIS 94)
BUCKET 1.86 (JIS 94)
ROCK BUCKET 1.15 (JIS 94)
ROCK BUCKET 1. 38 (JIS 94) (SUPER V TOOTH)
ROCK BUCKET 1.38 (JIS 94) (SIDE-PIN TOOTH)
ROCK BUCKET 1.5 (JIS 94) (SUPER V TOOTH)
ROCK BUCKET 1.5 (JIS 94) (SIDE-PIN TOOTH)
RIPPER BUCKET 0.9 (JIS 94)
ONE POINT RIPPER
HOSE RUPTURE VALVE PIPING (BOOM) (ISO SPEC.)
HOSE RUPTURE VALVE PIPING (ARM) (ISO SPEC) (MONO BOOM)
OVER LOAD ALARM DEVICE
2P-B00M <350>
FRONT PIPING (2P-B00M) <350>
ARM CYLINDER (2P-B00M) <350>
POSITIONING CYLINDER (2P-B00M) <350>
LUBRICATE PIPING (2P-B00M) <350>
HOSE RUPTURE VALVE PIPING (ARM) (ISO SPEC) (2P-B00M)
HOSE RUPTURE VALVE PIPING (POSITIONING) (ISO SPEC) (2P-B00M)
CONTROL PEDAL (2P-B00M) <350>
PILOT PIPING (2P-B00M) <350>
PILOT PIPING (2P-B00M/PT0) <350>
MAINE PIPING (2P-B00M) <350>
ВЕН BOOM <350>
ВЕН ARM (2.11M) <350>
ВЕН FRONT PIPING <350>
ВЕН BUCKET CYLINDER <350>
ВЕН LUBRICATE PIPING <350>
ВЕН BOOM PIPING (BREAKER & CRUSHER) <350>
ВЕН ARM PIPING (2.11M) (BREAKER & CRUSHER) <350>
CONTROL PEDAL (BREAKER & CRUSHER)
PILOT PIPING (BREAKER & CRUSHER)
MAIN PIPING (BREAKER & CRUSHER)
MAIN PIPING (BREAKER & CRUSHER) <350, MTH(EU3, EU4)>
BOOM PIPING (BREAKER & CRUSHER)
BOOM PIPING (BREAKER & CRUSHER) (MONO BOOM) <350,MTH(EU3, EU4)>
BOOM PIPING (BREAKER & CRUSHER) (2P-B00M) <350>
ARM PIPING (BREAKER & CRUSHER)
ARM PIPING (2.33M ARM) (BREAKER & CRUSHER) <350>
ARM PIPING (2.66M ARM) (BREAKER & CRUSHER) <350>
ARM PIPING (3.20M ARM) (BREAKER & CRUSHER) <350, MTH(EU3, EU4)>
ARM PIPING (4.00M ARM) <350>
NPK BREAKER PIPING (BREAKER & CRUSHER)
HSB BREAKER PIPING (BREAKER & CRUSHER) (MONO BOOM)
HSB BREAKER PIPING (BREAKER & CRUSHER) (2P-B00M) <350>
NPK COMMON PIPING (BREAKER & CRUSHER)
HSB COMMON PIPING (BREAKER & CRUSHER) (MONO BOOM)
HSB COMMON PIPING (BREAKER & CRUSHER) (2P-B00M) <350>
PILOT PIPING (FLOW PATE SELECTOR)
MAIN PIPING (FLOW PATE SELECTOR)
MAINE PIPING (FLOW RATE SELECTOR) <350,MTH(EU3,EU4)>
ELECTRIC PARTS (FLOW PATE SELECTOR)
ADD. GEAR PUMP PIPING (30L) <350, MTH(EU3, EU4)>
ADD. GEAR PUMP PIPING (50L) <350, MTH(EU3, EU4)>
HIGH PERFORMANCE FILTER KIT <350,MTH(EU3, EU4)>
ELECTRIC TYPE CONTROL PARTS (ADD/P)
ELECTRIC TYPE CONTROL PARTS (PTO)
MAINE PIPING (PTO) (MONO BOOM)
PILOT PIPING (PTO/V, FLOW RATE SELECTOR)
QUICKHITCH PIPING (MAIN) <350,MTH(EU3,EU4)>
QUICKHITCH PIPING (MONO BOOM) <350, MTH(EU3.EU4)>
QUICKHITCH PIPING (2P-B00M) <350>
QUICKHITCH PIPING (2.33M ARM) <350>
QUICKHITCH PIPING (2.66M ARM) <350>
QUICKHITCH PIPING (3.20MARM) <350, MTH(EU3, EU4)>
QUICKHITCH PIPING (4.00M ARM) <350>
ASSIST PIPING (MONO BOOM) <350, MTH(EU3, EU4)>
ASSIST PIPING (2P-B00M) <350>
ASSIST PIPING (2.33M ARM) <350>
ASSIST PIPING (2.66M ARM) <350>
ASSIST PIPING (3.20MARM) <350, MTH(EU3, EU4)>
ASSIST PIPING (4.00M ARM) <350>
CLAMSHELL PIPING (2.33M ARM) <350>
CLAMSHELL PIPING (2.66M ARM) <350>
CLAMSHELL PIPING (3.20M ARM) <350, MTH(EU3, EU4)>
CLAMSHELL PIPING (4.00M ARM) <350>
QUICKHITCH / ASSIST COMMON PARTS (MONO BOOM) <350, MTH(EU3, EU4)>
QUICKHITCH / ASSIST COMMON PARTS (2P-B00M) <350>
PILOT PIPING (4-2) <TRAVEL HEAT>
PILOT PIPING (11) <TRAVEL HEAT>
TRAVEL HEAT ARTICLE <TRAVEL HEAT>
TRAVEL HEAT PIPING <TRAVEL HEAT>
TRAVEL DEVICE (STD. TRACK, LC TRACK, NARROW LC TRACK) <TRAVEL HEAT>
TRAVEL PIPING (STD. TRACK) <TRAVEL HEAD>
TRAVEL PIPING (LC TRACK, NARROW LC TRACK) <TRAVEL HEAT>
4 WAY MULTI LEVER (STD)
4 WAY MULTI LEVER PARTS (STD)
4 WAY MULTI LEVER PIPING (1) (STD)
4 WAY MULTI LEVER PIPING (2) (STD)
4 WAY MULTI LEVER PIPING (3) (STD)
4 WAY MULTI LEVER PIPING (4) (STD)
TOOLS
NAME PLATE (ENGLISH) (NA)
NAME PLATE (RUSSIAN)
NAME PLATE <350, MTH(EU3, EU4)>
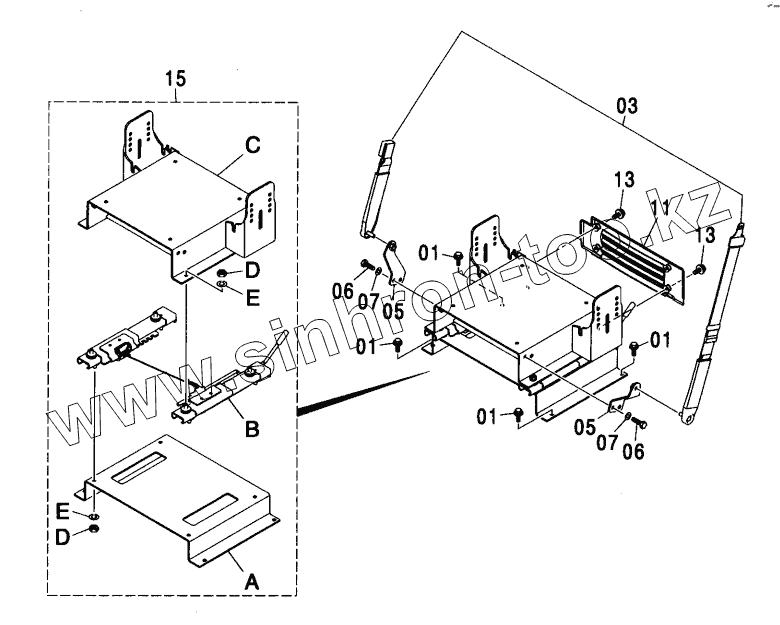
01
01
01
01
03
05
05
06
06
07
07
11
13
13
15
15A
15B
15C
15D
15D
15E
15E
Позиция на иллюстрации
Заводской номер детали
Название детали
01
J011025
BOLT, SEMS
01
J271025
BOLT, SEMS
03
4319875
SEAT, BELT
05
8065061
BRACKET
06
4235232
BOLT
07
J219167
WASHER, SPRING
11
4445703
COVER
13
J680616
SCREW, SEMS
15
9191421
CARRIER ASSY
15A
3089486
STAND
15B
4405128
SLIDER
15C
7038582
CARRIER
15D
J952010
NUT
15E
А590910
WASHER, SPRING
Содержащиеся в справочниках-каталогах запасные части и детали не предлагаются к продаже, а носят исключительно информационный характер
Дополнительная информация
×
Название:
Номер:
Примечание: