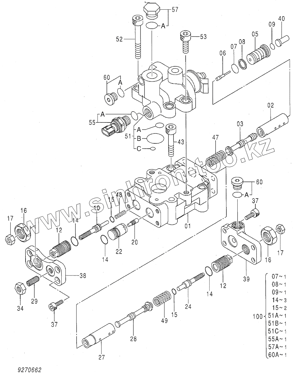
Каталог запасных частей к технике: Hitachi Zaxis 190-3. PUMP, REGULATOR (1)
01
02
03
05
06
07
07
08
08
09
09
10
12
12
14
14
14
14
15
15
15
16
16
17
17
20
22
24
27
28
29
34
37
37
38
39
40
43
47
48
49
51
51A
51A
51B
51B
51C
51C
52
53
55
55A
55A
57
57A
57A
60
60
60A
60A
60A
100
| Позиция на иллюстрации | Заводской номер детали | Название детали | |
|---|---|---|---|
| PUMP,REGULATOR | PUMP,REGULATOR | PUMP,REGULATOR | |
| 01 | 1033351 | CASING | |
| 02 | 4179155 | SLEEVE | |
| 03 | 4179156 | SPOOL | |
| 05 | 4375722 | CYL.,LOAD | |
| 06 | 4360590 | PISTON | |
| 07 | 4150302 | O-RING | |
| 08 | 4085607 | RING, BACK-UP | |
| 09 | 4297380 | O-RING | |
| 10 | 4368619 | STOPPER | |
| 12 | 4179161 | STOPPER | |
| 14 | 4342843 | O-RING | |
| 15 | 4342841 | O-RING | |
| 16 | 4068898 | NUT | |
| 17 | M500807 | NUT | |
| 20 | 4179171 | PISTON | |
| 22 | 4451498 | CYL. | |
| 24 | 4347107 | STOPPER, INNER | |
| 27 | 4346522 | SLEEVE | |
| 28 | 4346521 | SPOOL | |
| 29 | 4265964 | SCREW, SET | |
| 34 | J950010 | NUT | |
| 37 | M340820 | BOLT, SOCKET | |
| 38 | 4433327 | COVER | |
| 39 | 3103629 | COVER, REAR | |
| 40 | 4611012 | PISTON | |
| 43 | M341056 | BOLT, SOCKET | |
| 47 | 4616531 | SPRING,COMPRES. | |
| 48 | 4616533 | SPRING,COMPRES. | |
| 49 | 4350928 | SPRING, COMPRES. | |
| 51 | 9275951 | VALVE,SOLENOID | |
| 51A | 4150302 | O-RING | |
| 51B | 4153534 | O-RING | |
| 51C | 4153087 | O-RING | |
| 52 | M341080 | BOLT, SOCKET | |
| 53 | M341030 | BOLT, SOCKET | |
| 55 | 4436536 | SENSOR, PRES. | |
| 55A | 4153095 | O-RING | |
| 57 | 4174541 | PLUG | |
| 57A | 4506418 | O-RING | |
| 60 | 9134110 | PLUG | |
| 60A | 957366 | O-RING | |
| 100 | 4455733 | KIT, SEAL |
Содержащиеся в справочниках-каталогах запасные части и детали не предлагаются к продаже, а носят исключительно информационный характер