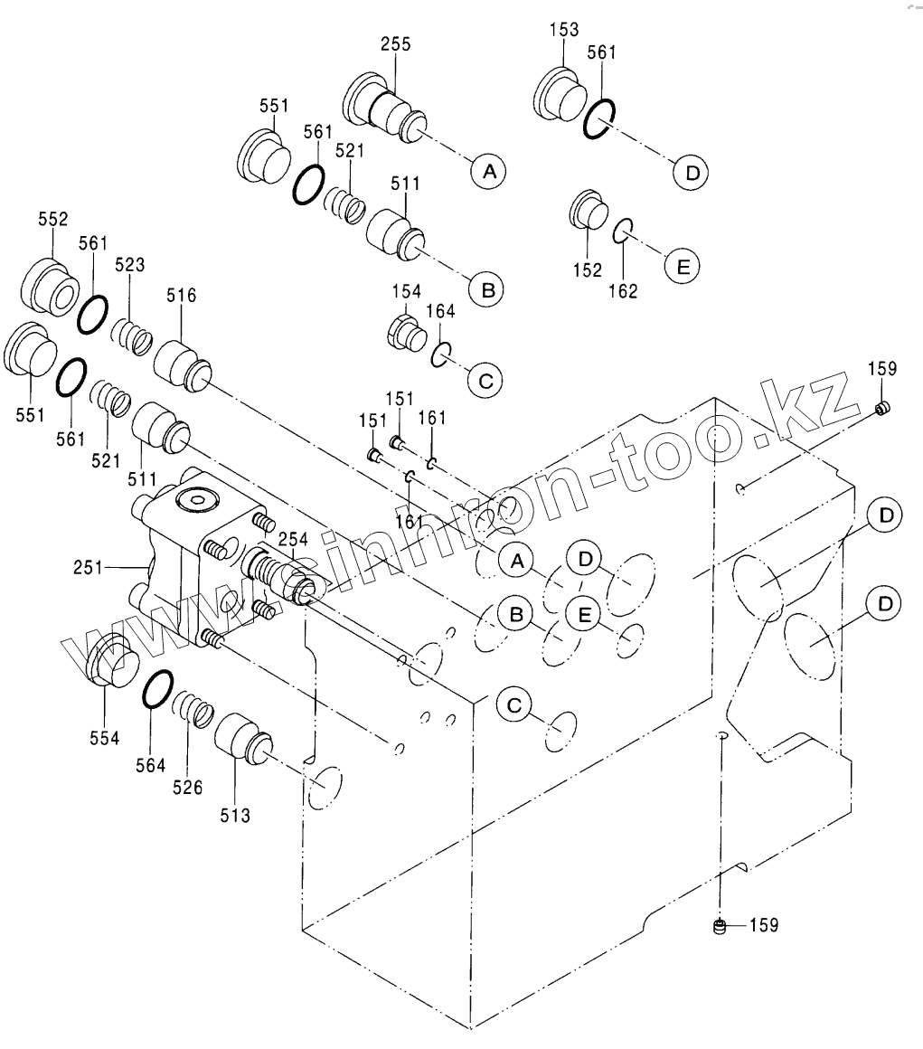
Каталог запасных частей к технике: Hitachi Компоненты ZX-330. VALVE, CONTROL (4/6)
4433970
151
151
152
153
154
159
159
161
161
162
164
251
254
255
511
511
513
516
521
521
523
526
551
551
552
554
561
561
561
561
564
| Позиция на иллюстрации | Заводской номер детали | Название детали | |
|---|---|---|---|
| 4433970 | 4433970 | VАLVЕ, СОNТRОL | |
| 151 | 0719004 | PLUG | |
| 152 | 0629404 | PLUG | |
| 153 | 0697911 | PLUG | |
| 154 | 0718901 | PLUG | |
| 159 | 0451028 | PLUG | |
| 161 | 4506408 | O-RING | |
| 162 | 957366 | O-RING | |
| 164 | 4509180 | O-RING | |
| 251 | 0719201 | VALVE | |
| 254 | 0719202 | VALVE | |
| 255 | 0719203 | VALVE | |
| 511 | 0719107 | POPPET | |
| 513 | 0719204 | POPPET | |
| 516 | 0719109 | POPPET | |
| 521 | 0719110 | SPRING | |
| 523 | 0719112 | SPRING | |
| 526 | 0719205 | SPRING | |
| 551 | 0719114 | PLUG | |
| 552 | 0719115 | PLUG | |
| 554 | 0719003 | PLUG | |
| 561 | 4506424 | O-RING | |
| 564 | 4506420 | O-RING |
Содержащиеся в справочниках-каталогах запасные части и детали не предлагаются к продаже, а носят исключительно информационный характер