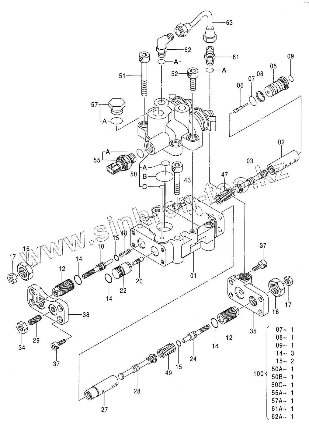
Каталог запасных частей к технике: Hitachi Компоненты ZX-270. REGULATOR (L)
9207260
4150302
4150302
4153534
4153534
4153087
4153087
4153095
4153095
4506418
4506418
957366
957366
957366
957366
REGULATOR
1
2
3
5
6
7
7
8
8
9
9
10
12
12
14
14
14
14
15
15
15
16
16
17
17
20
22
24
27
28
29
34
35
37
37
38
43
47
48
49
50
51
52
55
57
61
62
63
100
| Позиция на иллюстрации | Заводской номер детали | Название детали | |
|---|---|---|---|
| 9207260 | 9207260 | REGULATOR | |
| 4150302 | 4150302 | O-RING | |
| 4153534 | 4153534 | O-RING | |
| 4153087 | 4153087 | O-RING | |
| 4153095 | 4153095 | O-RING | |
| 4506418 | 4506418 | O-RING | |
| 957366 | 957366 | O-RING | |
| 957366 | 957366 | O-RING | |
| REGULATOR | REGULATOR | REGULATOR | |
| 1 | 1026282 | CASING | |
| 2 | 4179155 | SLEEVE | |
| 3 | 4179156 | SPOOL | |
| 5 | 4435025 | CYL., LOAD | |
| 6 | 4435024 | PISTON, LOAD | |
| 7 | 4150302 | O-RING | |
| 8 | 4085607 | RING, BACK-UP | |
| 9 | 4180349 | O-RING | |
| 10 | 4368619 | STOPPER | |
| 12 | 4179161 | STOPPER | |
| 14 | 4342843 | O-RING | |
| 15 | 4342841 | O-RING | |
| 16 | 4068898 | NUT | |
| 17 | M500807 | NUT | |
| 20 | 4179171 | PISTON | |
| 22 | 4451498 | CYL. | |
| 24 | 4347107 | STOPPER, INNER | |
| 27 | 4346522 | SLEEVE | |
| 28 | 4346521 | SPOOL | |
| 29 | 4265964 | SCREW, SET | |
| 34 | J950010 | NUT | |
| 35 | 3075775 | COVER, REAR | |
| 37 | M340820 | BOLT, SOCKET | |
| 38 | 4433327 | COVER | |
| 43 | M341056 | BOLT, SOCKET | |
| 47 | 4194176 | SPRING, COMPRES. | |
| 48 | 4423345 | SPRING | |
| 49 | 4350928 | SPRING, COMPRES. | |
| 50 | 4400442 | VALVE, SOLENOID | |
| 51 | M341080 | BOLT, SOCKET | |
| 52 | M341030 | BOLT, SOCKET | |
| 55 | 4436536 | SENSOR, PRES. | |
| 57 | 4174541 | PLUG | |
| 61 | 4255304 | FITTING, PIPE | |
| 62 | 4293950 | ELBOW, S | |
| 63 | 4436800 | PIPE | |
| 100 | 4455733 | KIT, SEAL |
Содержащиеся в справочниках-каталогах запасные части и детали не предлагаются к продаже, а носят исключительно информационный характер