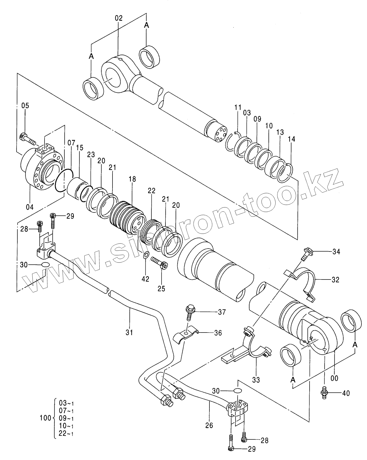
Каталог запасных частей к технике: Hitachi Компоненты ZX-230. CYL., BOOM (R)
9205252
9187390
4355875
4355875
4355875
4355875
9207055
7037626
2
3
3
4
5
7
7
9
9
10
10
11
13
14
15
18
20
20
21
21
22
22
23
25
26
28
28
29
29
30
30
31
32
33
34
34
36
37
37
40
42
100
| Позиция на иллюстрации | Заводской номер детали | Название детали | |
|---|---|---|---|
| 9205252 | 9205252 | CYL. , BOOM, | |
| 9187390 | 9187390 | CYL. , BOOM, | |
| 4355875 | 4355875 | BUSHING | |
| 4355875 | 4355875 | BUSHING | |
| 9207055 | 9207055 | TUBE, CYL. | |
| 7037626 | 7037626 | TUBE, CYL. | |
| 2 | 7037629 | ROD, PISTON | |
| 3 | 4348202 | SEAL, DUST | |
| 4 | 1027960 | HEAD, CYL. | |
| 5 | М341880 | BOLT, SOCKET | |
| 7 | 4438622 | O-RING | |
| 9 | 4414047 | SEAL | |
| 10 | 4412693 | RING | |
| 11 | 4369507 | RING, RETAINING | |
| 13 | 4272961 | BUSHING | |
| 14 | 4264983 | RING, RETAINING | |
| 15 | 3090718 | RING, CUSHION | |
| 18 | 3090804 | PISTON | |
| 20 | 4431271 | RING, PISTON | |
| 21 | 4253562 | RING, WEAR | |
| 22 | 4375665 | RING, SEAL | |
| 23 | А811085 | O-RING | |
| 25 | 4440216 | BOLT, SOCKET | |
| 26 | 8046949 | PIPE | |
| 28 | М341245 | BOLT | |
| 29 | М341260 | BOLT, SOCKET | |
| 30 | А811035 | O-RING | |
| 31 | 8083814 | PIPE | |
| 32 | 3088453 | CLAMP | |
| 33 | 8079051 | CLAMP | |
| 34 | J011035 | BOLT, SEMS | |
| 34 | J271035 | BOLT, SEMS | |
| 36 | 4363058 | CLAMP, PIPE | |
| 37 | J011265 | BOLT, SEMS | |
| 37 | J271265 | BOLT, SEMS | |
| 40 | J75481 | FITTING, GREASE | |
| 42 | 4451000 | WASHER | |
| 100 | 4485612 | KIT, SEAL |
Содержащиеся в справочниках-каталогах запасные части и детали не предлагаются к продаже, а носят исключительно информационный характер