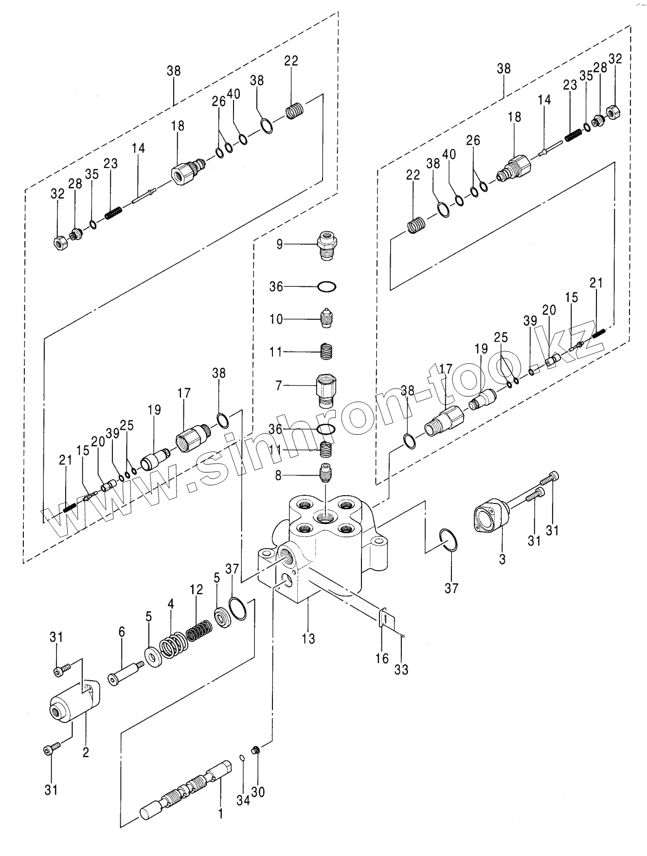
Каталог запасных частей к технике: Hitachi Компоненты ZX-200. VALVE, CONTROL <210,N, 240>
4478056
1
2
3
4
5
5
6
7
8
9
10
11
11
12
13
14
14
15
15
16
17
17
18
18
19
19
20
20
21
21
22
22
23
23
25
25
26
26
28
28
30
31
31
31
31
32
32
33
34
35
35
36
36
37
37
38
38
39
39
40
40
41
41
41
41
| Позиция на иллюстрации | Заводской номер детали | Название детали | |
|---|---|---|---|
| 4478056 | 4478056 | VALVE, CONTROL | |
| 1 | SPOOL | SPOOL | |
| 2 | 0766501 | COVER | |
| 3 | 0766502 | COVER | |
| 4 | 0766503 | SPRING, COMPRES. | |
| 5 | 0766504 | HOLDER, SPRING | |
| 6 | 0766505 | END, SPOOL | |
| 7 | 0757601 | ADAPTER | |
| 8 | 0757602 | PLUNGER | |
| 9 | 0757603 | CONNECTOR | |
| 10 | 0757604 | PLUNGER | |
| 11 | 0766508 | SPRING, COMPRES. | |
| 12 | 0766509 | SPRING, COMPRES. | |
| 13 | BODY | BODY | |
| 14 | VALVE | BODY, VALVE | |
| 15 | PIN | PIN | |
| 16 | NAME-PLATE | NAME-PLATE | |
| 17 | ADAPTER | PLATE, ADAPTER | |
| 18 | BODY | BODY | |
| 19 | POPPET | POPPET | |
| 20 | POPPET | POPPET | |
| 21 | SPRING | SPRING | |
| 22 | SPRING | SPRING | |
| 23 | SPRING | SPRING | |
| 25 | RING | RING | |
| 26 | RING | RING | |
| 28 | SCREW | SCREW | |
| 30 | 0343512 | PLUG | |
| 31 | 0370410 | BOLT, SOCKET | |
| 32 | NUT | NUT | |
| 33 | М492564 | SCREW, DRIVE | |
| 34 | 4506408 | O-RING | |
| 35 | O-RING | O-RING | |
| 36 | 4506424 | O-RING | |
| 37 | 0766510 | O-RING | |
| 38 | 0757605 | VALVE, RELIEF | |
| 39 | O-RING | O-RING | |
| 40 | O-RING | O-RING | |
| 41 | O-RING | O-RING |
Содержащиеся в справочниках-каталогах запасные части и детали не предлагаются к продаже, а носят исключительно информационный характер