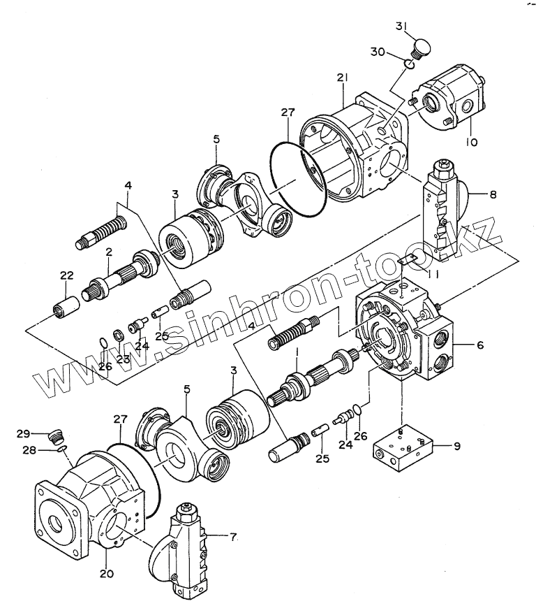
Каталог запасных частей к технике: Hitachi Компоненты EX-60. PUMP, PISTON
4194446
1
2
3
3
4
4
5
5
6
7
8
9
10
11
20
21
22
23
24
24
25
25
26
26
27
27
28
29
30
31
| Позиция на иллюстрации | Заводской номер детали | Название детали | |
|---|---|---|---|
| 4194446 | 4194446 | PUMP, PISTON | |
| 1 | 4217005 | SHAFT | |
| 2 | 4217006 | SHAFT | |
| 3 | 4217007 | ROTARY GROUP | |
| 4 | 4217008 | CONTROL PISTON | |
| 5 | 4217009 | HANGER | |
| 6 | 4217010 | COVER | |
| 7 | 4217011 | CONTROL PART | |
| 8 | 4217013 | CONTROL PART | |
| 9 | 4217014 | CHANGE VALVE | |
| 10 | 4217015 | PILOT GEAR PUMP | |
| 11 | NAME-PLATE | NAME-PLATE | |
| 20 | HOUSING | HOUSING | |
| 21 | HOUSING | HOUSING | |
| 22 | 0294412 | COUPLING | |
| 23 | PIECE | PIECE, DISTANT | |
| 24 | PISTON | PISTON | |
| 25 | 0294413 | PIECE, DISTANT | |
| 26 | 0294414 | O-RING | |
| 27 | 0294415 | O-RING | |
| 28 | 954493 | O-RING | |
| 29 | 0294416 | PLUG | |
| 30 | 954493 | O-RING | |
| 31 | 0294416 | PLUG |
Содержащиеся в справочниках-каталогах запасные части и детали не предлагаются к продаже, а носят исключительно информационный характер