Каталог запасных частей к технике: Hitachi Компоненты EX-300-2. FC VALVE
5
5
5
5
6
6
6
9
12
13
16
18
20
21
21
21
21
22
25
25A
25B
25C
26
26A
26B
26C
27
27A
27B
27C
28
28A
28B
29
29A
29A
29B
29B
29C
29C
29D
29D
29D
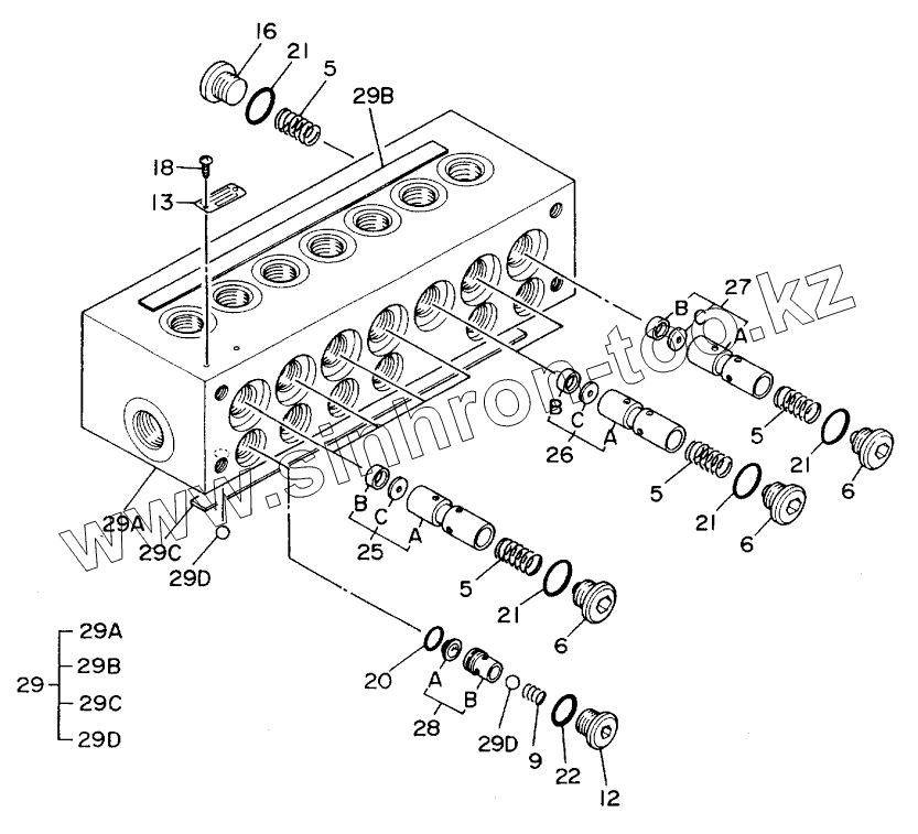
| Позиция на иллюстрации | Заводской номер детали | Название детали | |
|---|---|---|---|
| 4188552 | 4188552 | VALVE, SHOCKLESS | |
| 5 | 309801 | SPRING | |
| 6 | 309802 | PLUG | |
| 9 | 309803 | SPRING | |
| 12 | 309804 | PLUG | |
| 13 | NAME-PLATE | NAME-PLATE | |
| 16 | 309805 | PLUG | |
| 18 | 208717 | SCREW, DRIVE | |
| 20 | 4506409 | O-RING | |
| 21 | 4509180 | O-RING | |
| 22 | 228803 | O-RING | |
| 25 | 309807 | PLUNGER, SUB-ASS'Y | |
| 25A | PLUNGER | PLUNGER | |
| 25B | RING | RING | |
| 25C | ORIFICE | ORIFICE | |
| 26 | 4212780 | PLUNGER, SUB ASSY | |
| 26A | PLUNGER | PLUNGER | |
| 26B | RING | RING | |
| 26C | ORIFICE | ORIFICE | |
| 27 | 4212781 | PLUNGER, SUB ASSY | |
| 27A | PLUNGER | PLUNGER | |
| 27B | RING | RING | |
| 27C | ORIFICE | ORIFICE | |
| 28 | 309810 | FILTER ASS'Y | |
| 28A | FILTER | FILTER | |
| 28B | SLEEVE | SLEEVE | |
| 29 | 309811 | BODY, SUB ASS'Y | |
| 29A | BODY | BODY | |
| 29B | 309812 | SEAL | |
| 29C | 309813 | SEAL | |
| 29D | 259914 | BALL, STEEL |
Содержащиеся в справочниках-каталогах запасные части и детали не предлагаются к продаже, а носят исключительно информационный характер