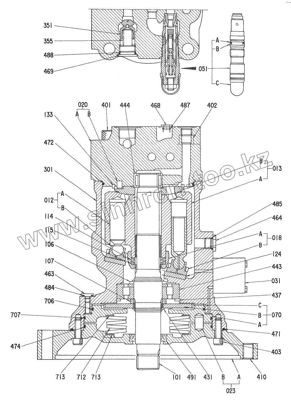
Каталог запасных частей к технике: Hitachi Компоненты EX-270. MOTOR, OIL (SWING)
PIN
4197831
PLATE
COUPLING
PISTON
4269432
0177007
4003062
COVER
PIN
CASING
PLATE
PISTON
BUSHING
SHOE
CYL.
PLATE
12
13
18
20
23
31
51
70
101
101
106
107
114
115
124
133
301
351
355
401
402
403
410
431
437
443
444
463
464
468
469
471
472
474
484
485
487
488
491
706
707
712
713
713
| Позиция на иллюстрации | Заводской номер детали | Название детали | |
|---|---|---|---|
| PIN | PIN | PIN | |
| 4197831 | 4197831 | MOTOR, OIL | |
| PLATE | PLATE | PLATE | |
| COUPLING | COUPLING | COUPLING | |
| PISTON | PISTON | PISTON | |
| 4269432 | 4269432 | CAP | |
| 0177007 | 0177007 | RING, BACK-UP | |
| 4003062 | 4003062 | O-RING | |
| COVER | COVER | COVER | |
| PIN | PIN | PIN | |
| CASING | CASING | CASING | |
| PLATE | PLATE | PLATE | |
| PISTON | PISTON | PISTON | |
| BUSHING | BUSHING | BUSHING | |
| SHOE | SHOE | SHOE | |
| CYL. | CYL. | CYL. | |
| PLATE | PLATE | PLATE | |
| 12 | 0308601 | PISTON, SUB ASSY | |
| 13 | 0326901 | CYL., SUB | |
| 18 | 0308603 | PLATE, SUB ASSY | |
| 20 | CASINO SUB | CASINO SUB | |
| 23 | 0326902 | COVER SUB | |
| 31 | 0308606 | VALVE, SUB | |
| 51 | 0326903 | VALVE, RELIEF | |
| 70 | 0308627 | BRAKE, SUB ASSY | |
| 101 | 0308608 | SHAFT | |
| 101 | 0308628 | SHAFT | |
| 106 | 0308609 | SPACER | |
| 107 | 0308610 | SPACER | |
| 114 | 0308611 | SPRING | |
| 115 | 0308612 | SHIM | |
| 124 | 0308613 | PLATE | |
| 133 | 0308614 | RING | |
| 301 | 0326904 | CASING | |
| 351 | 0236006 | PLUNGER | |
| 355 | 0236009 | SPRING | |
| 401 | 0308616 | BOLT, SOCKET | |
| 402 | 0308617 | BOLT, SOCKET | |
| 403 | М341236 | BOLT | |
| 410 | 0326905 | PLUG | |
| 431 | 960323 | RING, RETAINING | |
| 437 | 991733 | RING, RETAINING | |
| 443 | 0308619 | BRG. | |
| 444 | 0308620 | BRG. | |
| 463 | 0308621 | PLUG | |
| 464 | 0218825 | PLUG | |
| 468 | 0236014 | PLUG | |
| 469 | 0236015 | PLUG | |
| 471 | 0235826 | O-RING | |
| 472 | 0308622 | O-RING | |
| 474 | 0308624 | O-RING | |
| 484 | 4506416 | O-RING | |
| 485 | 4506418 | O-RING | |
| 487 | 957366 | O-RING | |
| 488 | 4506428 | O-RING | |
| 491 | 0251914 | SEAL, OIL | |
| 706 | 0308623 | O-RING | |
| 707 | 0308624 | O-RING | |
| 712 | 0308625 | SPRING | |
| 713 | 0308626 | WASHER, SPRING |
Содержащиеся в справочниках-каталогах запасные части и детали не предлагаются к продаже, а носят исключительно информационный характер