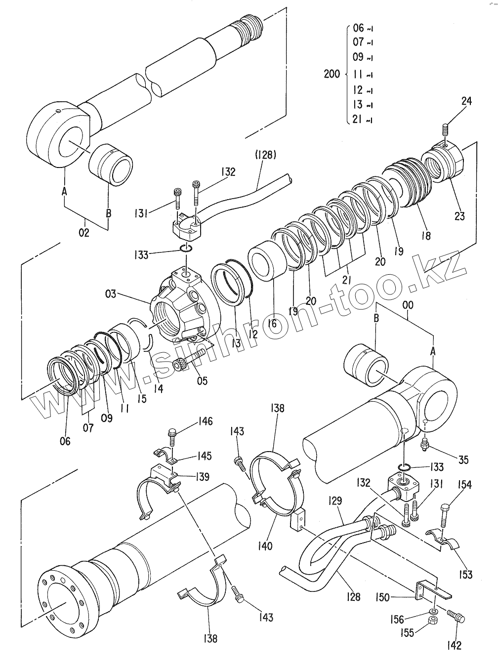
Каталог запасных частей к технике: Hitachi Компоненты EX-270. CYL., BOOM (R)
9110532
9110524
3039847
7018982
3039847
9121226
7017419
9111163
7018976
2
3
5
6
6
7
7
9
9
11
11
12
12
13
13
14
15
16
18
19
19
20
20
21
21
23
24
35
128
128
129
131
131
132
132
133
133
138
138
139
140
142
143
143
145
146
150
153
154
155
156
200
| Позиция на иллюстрации | Заводской номер детали | Название детали | |
|---|---|---|---|
| 9110532 | 9110532 | CYL., BOOM | |
| 9110524 | 9110524 | CYL., BOOM | |
| 3039847 | 3039847 | BUSHING | |
| 7018982 | 7018982 | ROD, PISTON | |
| 3039847 | 3039847 | BUSHING | |
| 9121226 | 9121226 | TUBE, CYL. | |
| 7017419 | 7017419 | TUBE, CYL. | |
| 9111163 | 9111163 | CYL. | |
| 7018976 | 7018976 | ТUВЕ, СYL. | |
| 2 | 7017176 | ROD, PISTON | |
| 3 | 1016386 | HEAD, CYL. | |
| 5 | H342480 | BOLT, SOCKET | |
| 6 | 4171482 | SEAL, DUST | |
| 7 | 4171484 | SEAL | |
| 9 | 4171486 | RING | |
| 11 | 4169531 | O-RING | |
| 12 | 4087852 | O-RING | |
| 13 | 487862 | RING, BACK-UP | |
| 14 | 4264982 | RING, RETAINING | |
| 15 | 4284535 | BUSHING | |
| 16 | 4194625 | RING, CUSHION | |
| 18 | 3036601 | PISTON | |
| 19 | 4185247 | RING, TEFLON | |
| 20 | 4194621 | RING, WEAR | |
| 21 | 4185245 | RING, SEAL | |
| 23 | 3039348 | NUT | |
| 24 | 4201806 | SCREW, SET | |
| 35 | J75481 | FITTING, GREASE | |
| 128 | 8036928 | PIPE | |
| 129 | 8039638 | PIPE | |
| 131 | M341245 | BOLT, SOCKET | |
| 132 | M341260 | BOLT, SOCKET | |
| 133 | A811035 | O-RING | |
| 138 | 3043349 | CLAMP | |
| 139 | 8043036 | CLAMP | |
| 140 | 8043038 | CLAMP | |
| 142 | J011030 | BOLT, SEMS | |
| 143 | J011035 | BOLT, SEMS | |
| 145 | 4174241 | CLAMP, PIPE | |
| 146 | J011025 | BOLT, SEMS | |
| 150 | 4195486 | SUPPORT | |
| 153 | 4229234 | CLAMP, PIPE | |
| 154 | J901265 | BOLT | |
| 155 | J95O012 | NUT | |
| 156 | А590912 | WASHER, SPRING | |
| 200 | 9078843 | KIT, SEAL |
Содержащиеся в справочниках-каталогах запасные части и детали не предлагаются к продаже, а носят исключительно информационный характер