Каталог запасных частей к технике: Hitachi Компоненты EX-200. CYL., BUCKET
4205950
4180279
0208326
0309302
0309301
0140808
1
2
3
4
5
6
6
7
7
8
8
9
10
10
11
11
12
12
13
14
15
15
16
16
17
17
18
19
20
21
32
33
34
54
55
55
57
58
59
60
61
61
65
66
67
68
100
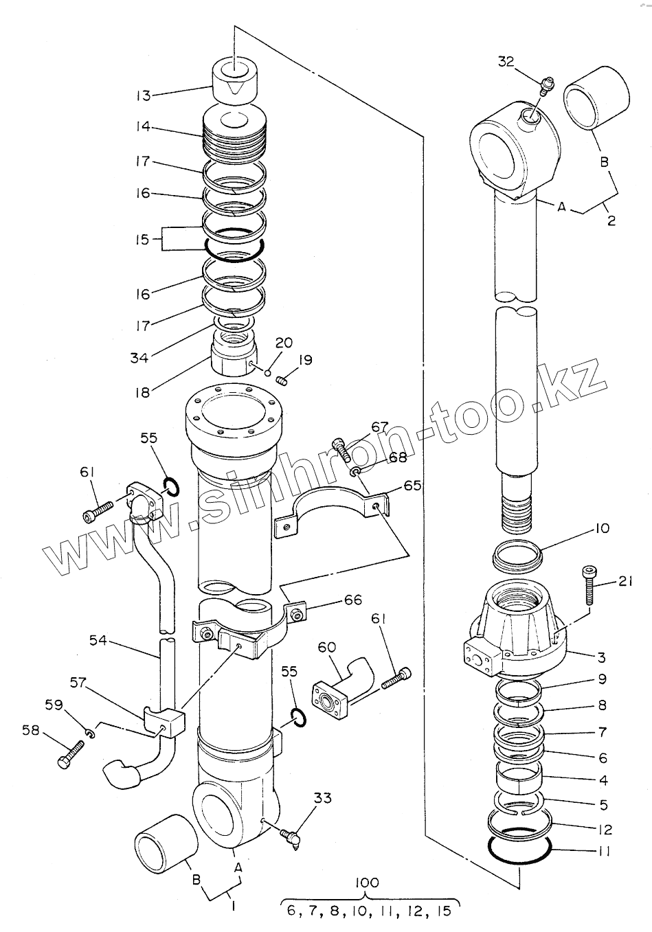
| Позиция на иллюстрации | Заводской номер детали | Название детали | |
|---|---|---|---|
| 4205950 | 4205950 | CYL. | |
| 4180279 | 4180279 | CYL., BUCKET | |
| 0208326 | 0208326 | BUSHING, PIN | |
| 0309302 | 0309302 | ROD, PISTON | |
| 0309301 | 0309301 | TUBE, CYL. | |
| 0140808 | 0140808 | BUSHING | |
| 1 | 4228680 | TUBE, CYL. | |
| 2 | 4228679 | ROD, PISTON | |
| 3 | 0309303 | HEAD, CYL. | |
| 4 | 0309304 | BUSHING | |
| 5 | 0208604 | RING, RETAINING | |
| 6 | 0309305 | RING | |
| 7 | 0208605 | PACKING, U-RING | |
| 8 | 0208606 | RING, BACK-UP | |
| 9 | 0309306 | RING | |
| 10 | 0208607 | RING WIPER | |
| 11 | A811115 | O-RING | |
| 12 | 0261310 | RING, BACK-UP | |
| 13 | 0309307 | BRG., CUSHION | |
| 14 | 0309308 | PISTON | |
| 15 | 0258205 | RING, SEAL | |
| 16 | 0309309 | RING | |
| 17 | 0261308 | RING, SLIDE | |
| 18 | 0309010 | NUT | |
| 19 | 0309011 | SCREW, SET | |
| 20 | 0111707 | BALL, STEEL | |
| 21 | 0309310 | BOLT, SOCKET | |
| 32 | J75481 | FITTING, GREASE | |
| 33 | J75581 | FITTING, GREASE | |
| 34 | 0309013 | SHIM | |
| 54 | 0309311 | PIPE | |
| 55 | 4506430 | O-RING | |
| 57 | 0309021 | HOLDER | |
| 58 | 0309022 | BOLT | |
| 59 | 0208516 | WASHER, SPRING | |
| 60 | 0309312 | JOINT | |
| 61 | 0158855 | BOLT, SOCKET | |
| 65 | 0309313 | BAND | |
| 66 | 0309314 | BAND | |
| 67 | 0178820 | BOLT | |
| 68 | А590910 | WASHER, SPRING | |
| 100 | 4206020 | KIT, SEAL |
Содержащиеся в справочниках-каталогах запасные части и детали не предлагаются к продаже, а носят исключительно информационный характер