Вернуться на главную
Поиск
Каталоги запчастей к технике
Спецтехника
Hitachi
Компоненты EX-160WD
ROTARY GROUP
Каталог запасных частей к технике: Hitachi Компоненты EX-160WD. ROTARY GROUP
zoom-in
zoom-out
enlarge
shrink
circle-right
circle-left
file-text2
info
cart
Тип техники
Не выбрано
Легковые автомобили
Грузовые автомобили и прицепы
Автобусы
Сельхозтехника
Спецтехника
Двигатели
Мототехника
Марка
Не выбрано
Ammann
BOMAG
CARMIX
CASE IH
Changlin
ChengGong
Dimex
Doosan
DYNAPAC
Foton
HAMM
Hidromek
Hitachi
Hyundai
JCB
JLG
John Deere
Komatsu
LIEBHERR
LiuGong
Lonking (LongGong)
Luneng
MANITOU
Mitsuber
New Holland
PENGPU
RM-Terex
SANY
SDLG
SEM
Shantui
Shehwa HBXG
Soosan
TIGARBO
VOGELE
Volvo
WAY
WIRTGEN
XCMG
XGMA
Xiamen
YTO
Yuchai
Zoomlion
Автокран
АЗСМ
Алтайлесмаш
Амкодор
АОМЗ
Атек
АТЗ
Балканкар Рекорд
БелАЗ
Беловеж
Борекс
Брянский Арсенал
Булат
ВЭКС
ГАЗ
Геомаш
Гидромаш
Донекс
Дормаш
Дормашина
Дорэлектромаш
ДЭЗ
ЕлАЗ
ЗЗГТ
Ижнефтемаш
Канаш-электрокар
КЗКТ
ККЗ
Клевер
Клинцовский автокрановый завод
КМЗ
КМЗ 1 Мая
Ковровец
Коммаш
Кранэкс
КЭЗ
КЭМЗ
ЛЗА
МАЗ
МЗИК
МЗКМ
МЗКТ
Михневский РМЗ
МоАЗ
Мозырский МЗ
МТЗ
ОЗП
Онежец
ПАО "ТЗА"
ППС Детва
Промтрактор
ПТЗ
Раскат
СпецАгрегат
ТВЭКС
ТТМ
УВЗ
Угличмаш
УЗТМ
ХТЗ
ЧЗКМ
ЧСДМ
ЧТЗ
ЭКСКО
ЭКСМАШ
ЮрМаш
Модель
Не выбрано
EX-100-2 (2000)
EX-100-3 (2008)
EX-100WD (2008)
EX-120 (2008)
EX-120-2 (2008)
EX-160WD (2008)
EX-200 (2008)
EX-200-2 (2008)
EX-200-3
EX-220 (2008)
EX-220-2 (2008)
EX-270 (2008)
EX-300 (2008)
EX-300-2 (2000)
EX-400 Type A (2006)
EX-400 Type B (2006)
EX-60 (2003)
EX-60-2 (2000)
EX-60-3 (2008)
EX-70 (2017)
LX-110-7 (2008)
LX-130-7 (2008)
LX-150-2 (2008)
LX-160-7 (2008)
LX190-7/LX230-7 (2008)
Zaxis 190-3
ZAXIS 200-5A (2018)
ZAXIS 200LC-5A (2018)
ZAXIS 210H-5A (2018)
ZAXIS 210K-5A (2018)
ZAXIS 210LCH-5A (2018)
ZAXIS 210LCK-5A (2018)
ZAXIS 330-5G (2017)
ZAXIS 350H-5G (2017)
ZAXIS 48U-5A (2020)
ZAXIS 850-3
ZAXIS 870H-3
ZX-110 (2008)
ZX-160W (2008)
ZX-200 (2008)
ZX-230 (2008)
ZX-25 (2008)
ZX-270 (2008)
ZX-330 (2010)
ZX-330-3 (Part № PIHH-I-3) (2008)
ZX-330-3 (Part № PIHH-I-5) (2013)
ZX-330-3G (2008)
ZX-400R-3 (2010)
ZX-450 (2006)
ZX-600 (2007)
Компоненты EX-100-2 (2000)
Компоненты EX-100WD (2008)
Компоненты EX-120 (2008)
Компоненты EX-120-2 (2008)
Компоненты EX-160WD (2008)
Компоненты EX-200 (2008)
Компоненты EX-200-2 (2008)
Компоненты EX-200-3(LC, H)
Компоненты EX-220 (2008)
Компоненты EX-220-2 (2008)
Компоненты EX-270 (2008)
Компоненты EX-300 (2008)
Компоненты EX-300-2 (2000)
Компоненты EX-400 Type A (2006)
Компоненты EX-400 Type B (2006)
Компоненты EX-60 (2003)
Компоненты EX-60-2 (2000)
Компоненты EX-60-3 (2008)
Компоненты ZAXIS 450, 470, 500, 520 (2010)
Компоненты ZX-110 (2008)
Компоненты ZX-120 (130) (2008)
Компоненты ZX-160W (2008)
Компоненты ZX-200 (2008)
Компоненты ZX-230 (2008)
Компоненты ZX-270 (2008)
Компоненты ZX-330 (2008)
Компоненты ZX-450 (2006)
Схема
>
Не выбрано
PUMP, PISTON
CONTROL SECTION
REGULATOR COVER PART
VALVE COVER PART
VALVE, SOLENOID
CONTROL PART
ROTARY GROUP (DRIVE SIDE)
ROTARY GROUP (IDLER SIDE)
PILOT GEAR PUMP
AUX. PUMP
PUMP, GEAR
MOTOR, OIL (TRAVEL)
MOTOR, PISTON
ROTARY GROUP
CONTROL SECTION
CONTROL PART
ADJUST SCREW PART
VALVE, BRAKE
VALVE, RELIEF
MOTOR, OIL (1/2)
MOTOR, OIL (2/2)
VALVE, RELIEF
MOTOR, OIL (1/2)
MOTOR, OIL (2/2)
VALVE, CONTROL (1/4)
VALVE, CONTROL (2/4)
VALVE, CONTROL (3/4)
VALVE, CONTROL (4/4)
VALVE, CONTROL
VALVE, CONTROL
VALVE, CONTROL
VALVE, PILOT
VALVE, PILOT
VALVE, PILOT (R),(L)
VALVE, PILOT (R)
VALVE, PILOT (L)
VALVE, PILOT (L)
VALVE, PILOT
VALVE, PILOT
VALVE, RESTRICTION
VALVE, STEERING
VALVE, RELIEF
VALVE, CHECK
VALVE, CHECK
VALVE, LOCK
VALVE, FC
VALVE, HOLDING
VALVE, HOLDING
VALVE, HOLDING
VALVE, HOLDING
VALVE, BRAKE
VALVE, SHUTTLE
VALVE, SOLENOID
VALVE, SOLENOID
VALVE, SOLENOID
VALVE, SOLENOID
CYL., BOOM (R)
CYL., BOOM (L)
CYL., ARM
CYL., BUCKET
CYL., STEERING (R)
CYL., STEERING (L)
CYL., RAM (R)
CYL., RAM (L)
CYL., OUTRIGGER (R)
VALVE, CHECK
CYL., OUTRIGGER (L)
CYL., BLADE
INPUT GEAR
BEVEL GEAR SHAFT
COUNTER SHAFT
FRONT CASE & REAR CASE
MAIN SHAFT
LOW-HIGH SHIFT
FRONT OUTPUT
SHIFT UNIT
AIR PIPE & DRAIN
OIL PIPE
PARKING BRAKE
PARKING BRAKE CONTROL
HOUSING, FRONT
KNUCKLE
FINAL DRIVE
HUB REDUCTION (FRONT)
BRAKE, FRONT
HOUSING, REAR
HUB REDUCTION (REAR)
BRAKE, REAR
SHAFT, PROP.
SHAFT, PROP.
BOOSTER (R)
BOOSTER (L)
DRIYER, AIR
ROTARYGROUP
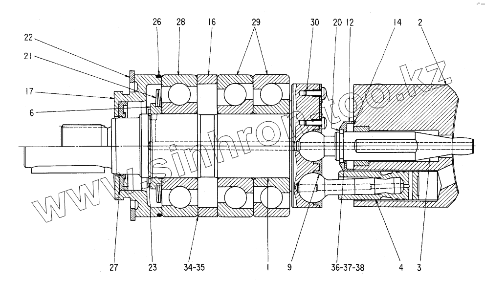
1
2
3
4
6
9
12
14
16
17
20
21
22
23
26
27
28
29
30
34
35
36
37
38
Позиция на иллюстрации
Заводской номер детали
Название детали
ROTARYGROUP
ROTARYGROUP
ROTARY GROUP
1
SHAFT
SHAFT
2
BLOCK
JUNCTION BLOCK
3
PIN
PIN
4
ROD
ROD
6
RETAINER
RETAINER
9
PLATE
PLATE
12
RETAINER
RETAINER
14
SPRING
SPRING
16
SPACER
SPACER
17
CASE
CASE
20
SPACER
SPACER
21
SPRING
SPRING
22
RING
RING
23
RING
RING
26
0254014
O-RING
27
0263901
SEAL, OIL
28
BRG.
BRG.
29
BRG.
BRG.
30
SCREW
SCREW
34
SHIM
SHIM
35
SHIM
SHIM
36
SHIM
SHIM
37
SHIM
SHIM
38
SHIM
SHIM
Содержащиеся в справочниках-каталогах запасные части и детали не предлагаются к продаже, а носят исключительно информационный характер
Дополнительная информация
×
Название:
Номер:
Примечание: