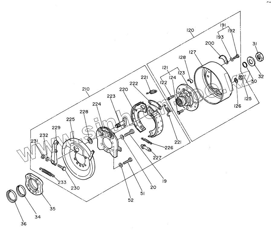
Каталог запасных частей к технике: Hitachi Компоненты EX-100WD. PARKING BRAKE
BRAKE
19
20
30
31
32
34
35
36
51
52
120
121
122
123
124
125
126
127
128
128
128
128
128
128
191
192
193
200
210
220
221
221
222
223
224
225
226
227
228
229
230
231
232
233
| Позиция на иллюстрации | Заводской номер детали | Название детали | |
|---|---|---|---|
| BRAKE | BRAKE | DECAL, BRAKE | |
| 19 | 0268417 | BOLT | |
| 20 | 0326516 | WASHER, PLANE | |
| 30 | 0268402 | O-RING | |
| 31 | 0266503 | NUT, LOCK | |
| 32 | 0268401 | WASHER | |
| 34 | 0268308 | COVER, DUST | |
| 35 | 0326519 | SPACER | |
| 36 | 0268307 | SEAL, OIL | |
| 51 | 0326532 | BOLT | |
| 52 | 0326533 | WASHER, PLANE | |
| 120 | 0326568 | BRAKE DRUM ASSY | |
| 121 | 0326569 | FLANGE ASSY | |
| 122 | 0326570 | BOLT | |
| 123 | 0326571 | FLANGE | |
| 124 | 0326572 | BOLT | |
| 125 | 0266757 | NUT | |
| 126 | 0326517 | WASHER, SPRING | |
| 127 | 0326573 | DRUM | |
| 128 | 0326579 | WEIGHT 30G | |
| 128 | 0326578 | WEIGHT 25G | |
| 128 | 0326577 | WEIGHT 20G | |
| 128 | 0326575 | WEIGHT 10G | |
| 128 | 0326574 | WEIGHT 5G | |
| 128 | 0326576 | WEIGHT 15G | |
| 191 | 0326582 | BOLT | |
| 192 | 0326580 | BOLT | |
| 193 | 0268815 | WASHER, SPRING | |
| 200 | 0326581 | COVER | |
| 210 | 0326518 | PARKING BRAKE ASSY | |
| 220 | 0366909 | SHOE ASSY | |
| 221 | 0366910 | SPRING | |
| 222 | 0366911 | BRACE | |
| 223 | 0366912 | SHAFT | |
| 224 | 0326583 | PLATE | |
| 225 | 0326584 | COVER | |
| 226 | 0366915 | SPRING | |
| 227 | 0366916 | SCREW | |
| 228 | 0366917 | WASHER, PLANE | |
| 229 | 0326585 | LEVER | |
| 230 | 0366907 | BOLT | |
| 231 | 0366908 | NUT | |
| 232 | 0266645 | WASHER, SPRING | |
| 233 | 0326548 | SPRING |
Содержащиеся в справочниках-каталогах запасные части и детали не предлагаются к продаже, а носят исключительно информационный характер