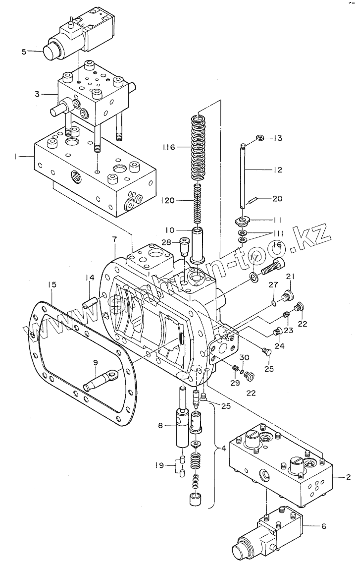
Каталог запасных частей к технике: Hitachi Компоненты EX-100WD. CONTROL SECTION
4213104
1
2
3
4
5
6
7
8
9
10
11
12
13
14
15
16
17
19
20
21
22
22
22
23
24
25
25
27
28
29
30
111
116
120
| Позиция на иллюстрации | Заводской номер детали | Название детали | |
|---|---|---|---|
| 4213104 | 4213104 | CONTROL SECTION | |
| 1 | 4213105 | REGULATOR COVER PART | |
| 2 | 4213106 | VALVE COVER | |
| 3 | 4213107 | VALVE COVER | |
| 4 | 4213108 | CONTROL PART | |
| 5 | 4213109 | VALVE, SOLENOID | |
| 6 | 4213110 | VALVE, SOLENOID | |
| 7 | BODY | BODY | |
| 8 | PISTON | PISTON | |
| 9 | ROD | ROD | |
| 10 | 0215007 | SEAT, SPRING | |
| 11 | 0215008 | SEAT, SPRING | |
| 12 | 0215013 | ROD | |
| 13 | 0215014 | SPACER | |
| 14 | 0215018 | PIN | |
| 15 | 0311701 | PACKING | |
| 16 | 0215020 | BOLT, SOCKET | |
| 17 | 0215021 | WASHER, SPRING | |
| 19 | SCREW | SCREW | |
| 20 | 0215023 | PIN, SPRING | |
| 21 | 0215221 | PLUG | |
| 22 | 0215015 | PLUG | |
| 22 | 4255302 | PLUG | |
| 23 | 0311702 | ORIFICE | |
| 24 | PLUG | PLUG | |
| 25 | PLUG | PLUG | |
| 27 | 957366 | O-RING | |
| 28 | 0311703 | RETAINER | |
| 29 | 0324201 | ORIFICE | |
| 30 | 4506408 | O-RING | |
| 111 | 0215803 | SHIM 1.0 | |
| 116 | 0311706 | SPRING | |
| 120 | 0311707 | SPRING |
Содержащиеся в справочниках-каталогах запасные части и детали не предлагаются к продаже, а носят исключительно информационный характер