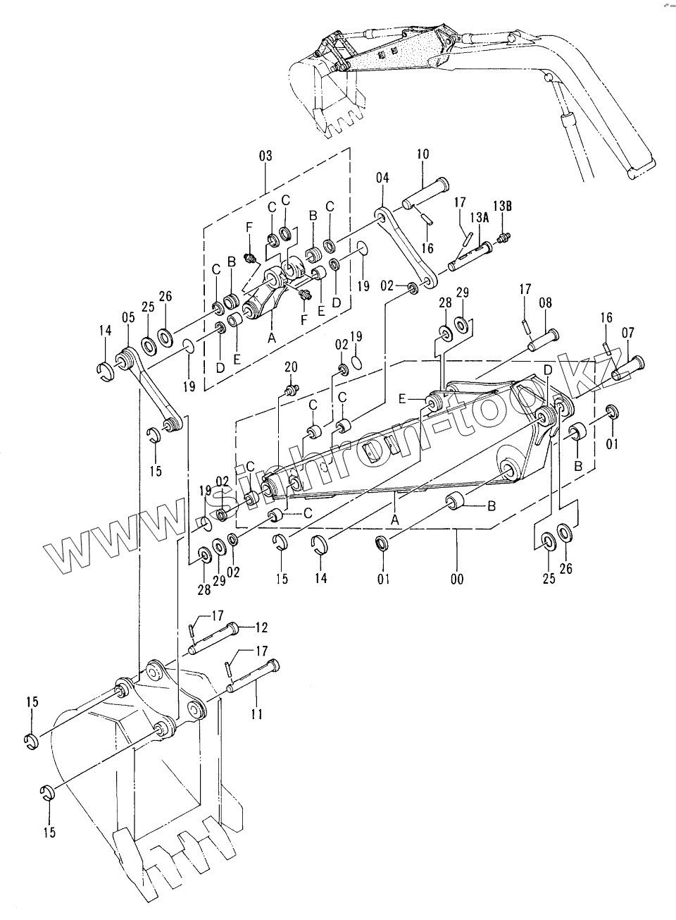
Каталог запасных частей к технике: Hitachi EX-60-3. STD. ARM (2.12M) <VIBRATOR>
00
00А
00В
00В
00C
00C
00C
00C
00D
00Е
01
01
02
02
02
02
03
03А
03В
03В
03C
03C
03C
03C
03D
03D
03Е
03Е
03F
03F
04
05
07
08
10
11
12
13А
13В
14
14
15
15
15
15
16
16
17
17
17
17
19
19
19
19
20
25
25
26
26
28
28
29
29
| Позиция на иллюстрации | Заводской номер детали | Название детали | |
|---|---|---|---|
| 00 | ARM | ARM | |
| 00А | 8057258 | ARM | |
| 00В | 4197842 | BUSHING | |
| 00C | 4273542 | ВUSНING | |
| 00D | 4197031 | STOPPER | |
| 00Е | 4197029 | STOPPER | |
| 01 | 4094086 | SEAL, DUST | |
| 02 | 4117955 | SEAL, DUST | |
| 03 | 8050336 | LINK ASS’Y | |
| 03А | 2031597 | LINK | |
| 03В | 4272706 | BUSHING | |
| 03C | 4094087 | SEAL, DUST | |
| 03D | 4117955 | SEAL, DUST | |
| 03Е | 4273542 | ВUSНING | |
| 03F | J75481 | FITTING, GREASE | |
| 04 | 3037342 | LINK | |
| 05 | 8037570 | LINK | |
| 07 | 3055535 | PIN | |
| 08 | 3055537 | PIN | |
| 10 | 3037350 | PIN | |
| 11 | 3055538 | PIN | |
| 12 | 3046682 | PIN | |
| 13А | 3037349 | PIN | |
| 13В | J75481 | FITTING, GREASE | |
| 14 | 4065688 | RING | |
| 15 | 4141000 | RING | |
| 16 | 4065689 | PIN | |
| 17 | 4141001 | PIN | |
| 19 | 4237801 | O-RING | |
| 20 | J75481 | FITTING, GREASE | |
| 25 | 4180196 | SPACER | |
| 26 | 4042135 | SPACER 2.3 | |
| 28 | 4294885 | SHIM 1.0 | |
| 29 | 4294886 | SHIM 2.0 |
Содержащиеся в справочниках-каталогах запасные части и детали не предлагаются к продаже, а носят исключительно информационный характер