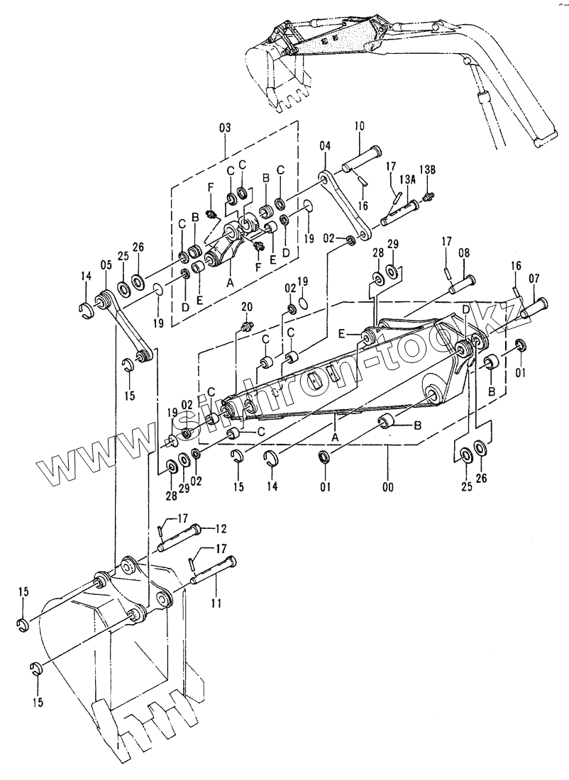
Каталог запасных частей к технике: Hitachi EX-60-2. Long Arm 2.12M (Vibrator)
00
00A
00B
00B
00C
00C
00C
00C
00D
00E
01
01
02
02
02
02
03
03A
03B
03B
03C
03C
03C
03C
03D
03D
03E
03E
03F
03F
04
05
07
08
10
11
12
13A
13B
14
14
15
15
15
15
16
16
17
17
17
17
19
19
19
19
20
25
25
26
26
28
28
29
29
| Позиция на иллюстрации | Заводской номер детали | Название детали | |
|---|---|---|---|
| 00 | ARMLONGASS’Y | ARM LONG ASS’Y | |
| 00A | 8057258 | ARM | |
| 00B | 4197842 | BUSHING | |
| 00C | 4273542 | ВUSНING | |
| 00D | 4197031 | STOPPER | |
| 00E | 4197029 | STOPPER | |
| 01 | 4094086 | SEAL, DUST | |
| 02 | 4117955 | SEAL, DUST | |
| 03 | 8050336 | LINK ASS’Y | |
| 03A | 2031597 | LINK | |
| 03B | 4272706 | BUSHING | |
| 03C | 4094087 | SEAL, DUST | |
| 03D | 4117955 | SEAL, DUST | |
| 03E | 4273542 | ВUSНING | |
| 03F | J75481 | FITTING, GREASE | |
| 04 | 3037342 | LINK | |
| 05 | 8037570 | LINK | |
| 07 | 3055535 | PIN | |
| 08 | 3055537 | PIN | |
| 10 | 3037350 | PIN | |
| 11 | 3055538 | PIN | |
| 12 | 3046682 | PIN | |
| 13A | 3037349 | PIN | |
| 13B | J75481 | FITTING, GREASE | |
| 14 | 4065688 | RING | |
| 15 | 4141000 | RING | |
| 16 | 4065689 | PIN | |
| 17 | 4141001 | PIN | |
| 19 | 4237801 | O-RING | |
| 20 | J75481 | FITTING, GREASE | |
| 25 | 4180196 | SPACER | |
| 26 | 4042135 | SPACER 2.3 | |
| 28 | 4294885 | SHIM 1.0 | |
| 29 | 4294886 | SHIM 2.0 |
Содержащиеся в справочниках-каталогах запасные части и детали не предлагаются к продаже, а носят исключительно информационный характер