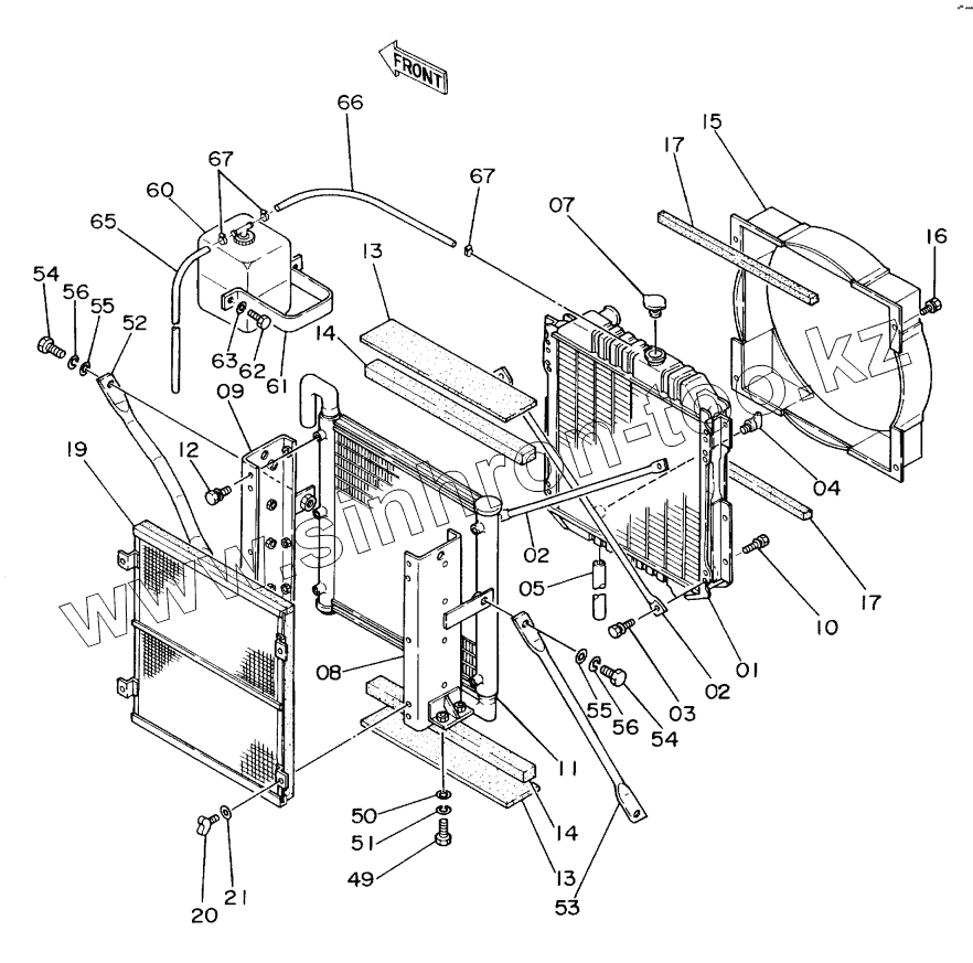
Каталог запасных частей к технике: Hitachi EX-60. RADIATOR (WAVY FIN)
4257604
1
2
2
3
4
5
7
7
8
9
10
11
12
13
13
14
14
15
15
16
17
17
19
20
21
49
50
51
52
53
54
54
55
55
56
56
60
61
62
63
65
66
67
67
| Позиция на иллюстрации | Заводской номер детали | Название детали | |
|---|---|---|---|
| 4257604 | 4257604 | RADIATOR ASSY | |
| 1 | 4271097 | CORE, RADIATOR | |
| 2 | 4217605 | ROD | |
| 3 | 4217606 | BOLT | |
| 4 | 4217604 | PLUG, DRAIN | |
| 5 | 4217603 | HOSE | |
| 7 | 4206093 | CAP | |
| 7 | 4228160 | CAP | |
| 8 | 4217602 | BRACKET | |
| 9 | 4217601 | BRACKET | |
| 10 | 4217600 | BOLT | |
| 11 | 4217470 | COOLER, OIL | |
| 12 | 4217600 | BOLT | |
| 13 | 4217599 | PACKING | |
| 14 | 4217598 | PACKING | |
| 15 | 4217596 | GUIDE, FAN | |
| 15 | 4241683 | GUIDE, FAN | |
| 16 | 4217600 | BOLT | |
| 17 | 4217595 | PACKING | |
| 19 | 4217594 | NET | |
| 20 | 4217593 | BOLT, WING | |
| 21 | A590106 | WASHER | |
| 49 | J901230 | BOLT | |
| 50 | 449490 | WASHER | |
| 51 | A590912 | WASHER, SPRING | |
| 52 | 4209287 | STAY | |
| 53 | 4169422 | STAY | |
| 54 | J901635 | BOLT | |
| 55 | A590116 | WASHER | |
| 56 | A590916 | WASHER, SPRING | |
| 60 | 4197948 | TANK | |
| 61 | 4180555 | CLAMP | |
| 62 | J901025 | BOLT | |
| 63 | A590910 | WASHER, SPRING | |
| 65 | 4142844 | HOSE, VINYL | |
| 66 | 4188558 | HOSE, WATER | |
| 67 | 4508575 | CLAMP |
Содержащиеся в справочниках-каталогах запасные части и детали не предлагаются к продаже, а носят исключительно информационный характер