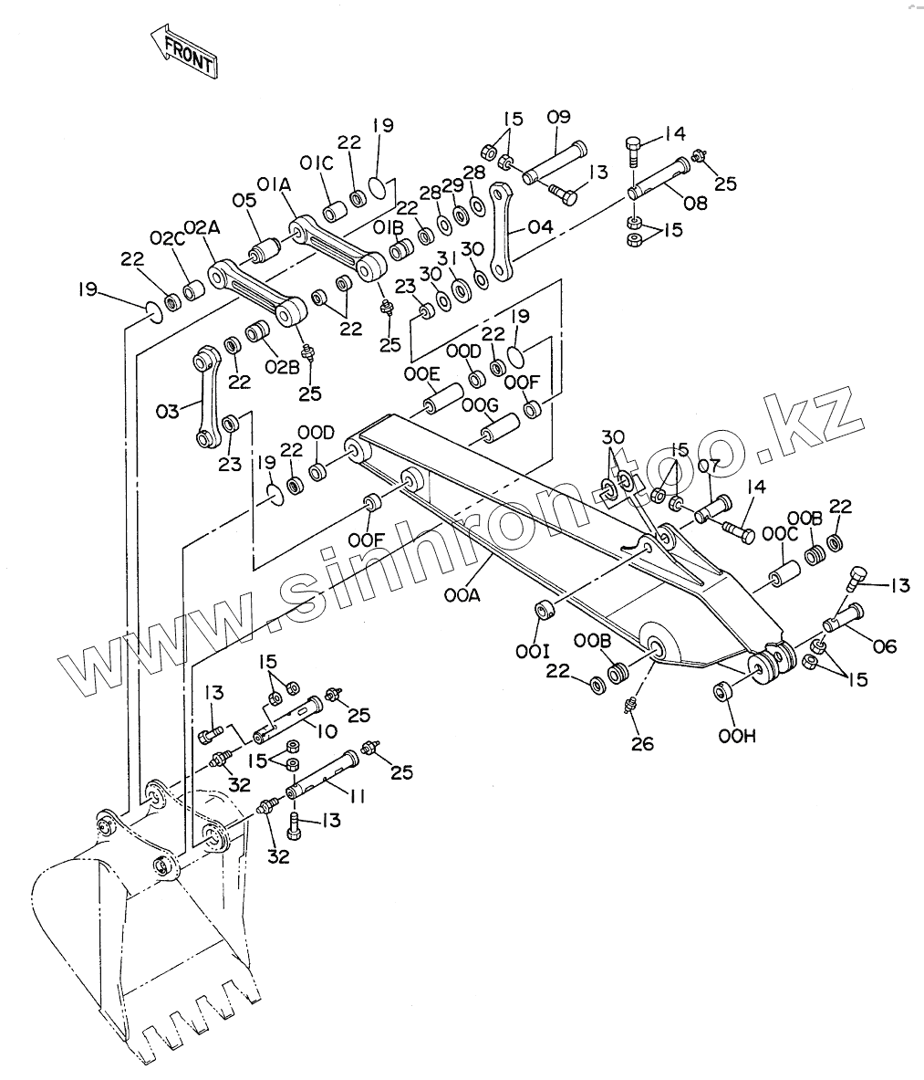
Каталог запасных частей к технике: Hitachi EX-300. STD.ARM 3.2M <EX300, EX300LC>
00A-1
00A
00B
00B
00C
00D
00D
00E
00F
00F
00G
00H
00I
8037697
01A
01B
01C
8037698
02A
02B
02C
03
04
05
06
07
08
09
10
10
11
11
13
13
13
13
14
14
15
15
15
15
15
15
19
19
19
19
22
22
22
22
22
22
22
22
22
23
23
25
25
25
25
25
26
28
28
29
30
30
30
31
32
32
| Позиция на иллюстрации | Заводской номер детали | Название детали | |
|---|---|---|---|
| 00A-1 | 7017643 | ARM ASSY | |
| 00A | 6008137 | ARM | |
| 00B | 3026077 | BUSHING | |
| 00C | 4143372 | SPACER | |
| 00D | 3026075 | BUSHING | |
| 00E | 4143370 | SPACER | |
| 00F | 3026076 | BUSHING | |
| 00G | 4143371 | SPACER | |
| 00H | 4143531 | SТОРРЕR | |
| 00I | 4067720 | STOPPER | |
| 8037697 | 8037697 | LINK | |
| 01A | 2023924 | LINK | |
| 01B | 3037259 | BUSHING | |
| 01C | 3028854 | BUSHING | |
| 8037698 | 8037698 | LINK | |
| 02A | 2023925 | LINK | |
| 02B | 3037259 | BUSHING | |
| 02C | 3028854 | BUSHING | |
| 03 | 8026311 | LINK | |
| 04 | 3026104 | LINK | |
| 05 | 4155763 | SPACER | |
| 06 | 3037538 | PIN | |
| 07 | 3026126 | PIN | |
| 08 | 3037539 | PIN | |
| 09 | 3037540 | PIN | |
| 10 | 3037541 | PIN | |
| 10 | 3041581 | PIN | |
| 11 | 3037542 | PIN | |
| 11 | 3041580 | PIN | |
| 13 | М222005 | BOLT | |
| 14 | М222004 | BOLT | |
| 15 | J951020 | NUT | |
| 19 | 4100180 | O-RING | |
| 22 | 4074008 | SEAL | |
| 23 | 4067901 | SEAL | |
| 25 | J75481 | FITTING, GREASE | |
| 26 | J75581 | FITTING, GREASE | |
| 28 | 4189839 | SHIM 1.2 | |
| 29 | 4189838 | SHIM 2.3 | |
| 30 | 4101281 | SHIM 1.2 | |
| 31 | 4142950 | SHIM 2.3 | |
| 32 | J75481 | FITTING, GREASE |
Содержащиеся в справочниках-каталогах запасные части и детали не предлагаются к продаже, а носят исключительно информационный характер