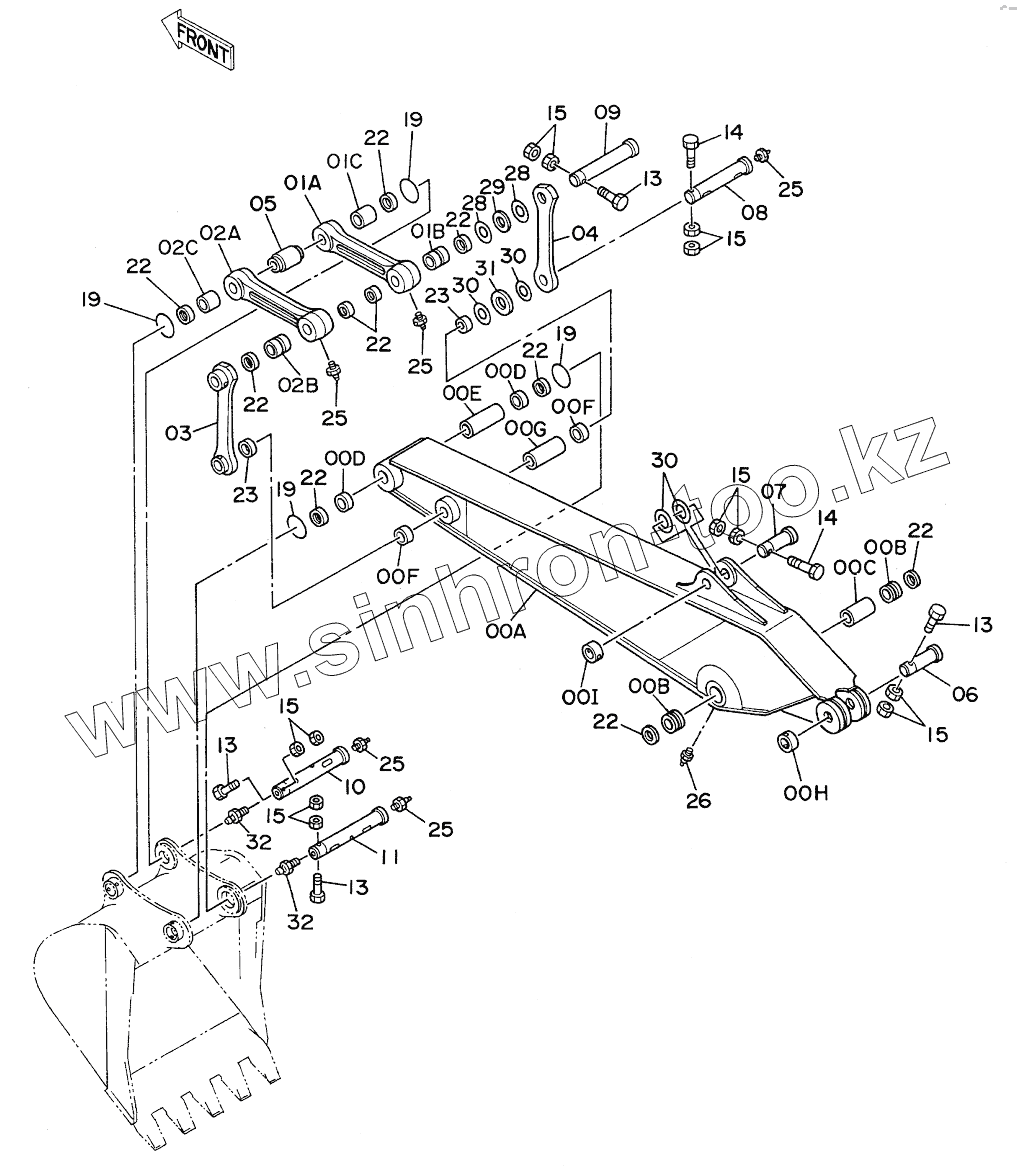
Каталог запасных частей к технике: Hitachi EX-300. LONG ARM 4.0M <EX300, EX300LC>
2023924
7018802
3028854
3037259
2023925
8037698
3028854
3037259
8037697
4067720
4143531
4143371
3026076
3026076
4143370
3026075
3026075
4143372
3026077
3026077
6008793
3
4
5
6
7
8
9
10
10
11
11
13
13
13
13
14
14
15
15
15
15
15
15
19
19
19
19
22
22
22
22
22
22
22
22
22
23
23
25
25
25
25
25
26
28
28
29
30
30
30
31
32
32
| Позиция на иллюстрации | Заводской номер детали | Название детали | |
|---|---|---|---|
| 2023924 | 2023924 | LINK | |
| 7018802 | 7018802 | ARM, LONG ASSY | |
| 3028854 | 3028854 | BUSHING | |
| 3037259 | 3037259 | BUSHING | |
| 2023925 | 2023925 | LINK | |
| 8037698 | 8037698 | LINK | |
| 3028854 | 3028854 | BUSHING | |
| 3037259 | 3037259 | BUSHING | |
| 8037697 | 8037697 | LINK | |
| 4067720 | 4067720 | STOPPER | |
| 4143531 | 4143531 | SТОРРЕR | |
| 4143371 | 4143371 | SPACER | |
| 3026076 | 3026076 | BUSHING | |
| 4143370 | 4143370 | SPACER | |
| 3026075 | 3026075 | BUSHING | |
| 4143372 | 4143372 | SPACER | |
| 3026077 | 3026077 | BUSHING | |
| 6008793 | 6008793 | ARM, LONG | |
| 3 | 8026311 | LINK | |
| 4 | 3026104 | LINK | |
| 5 | 4155763 | SPACER | |
| 6 | 3037538 | PIN | |
| 7 | 3026126 | PIN | |
| 8 | 3037539 | PIN | |
| 9 | 3037540 | PIN | |
| 10 | 3037541 | PIN | |
| 10 | 3041581 | PIN | |
| 11 | 3037542 | PIN | |
| 11 | 3041580 | PIN | |
| 13 | M222005 | BOLT | |
| 14 | M222004 | BOLT | |
| 15 | J951020 | NUT | |
| 19 | 4100180 | O-RING | |
| 22 | 4074008 | SEAL | |
| 23 | 4067901 | SEAL | |
| 25 | J75481 | FITTING, GREASE | |
| 26 | J75581 | FITTING, GREASE | |
| 28 | 4189839 | SHIM 1.2 | |
| 29 | 4189838 | SHIM 2.3 | |
| 30 | 4101281 | SHIM 1.2 | |
| 31 | 4142950 | SHIM 2.3 | |
| 32 | J75481 | FITTING, GREASE |
Содержащиеся в справочниках-каталогах запасные части и детали не предлагаются к продаже, а носят исключительно информационный характер