Вернуться на главную
Поиск
Каталоги запчастей к технике
Спецтехника
Hitachi
EX-270
SEAT
Каталог запасных частей к технике: Hitachi EX-270. SEAT
zoom-in
zoom-out
enlarge
shrink
circle-right
circle-left
file-text2
info
cart
Тип техники
Не выбрано
Легковые автомобили
Грузовые автомобили и прицепы
Автобусы
Сельхозтехника
Спецтехника
Двигатели
Мототехника
Марка
Не выбрано
Ammann
BOMAG
CARMIX
CASE IH
Changlin
ChengGong
Dimex
Doosan
DYNAPAC
Foton
HAMM
Hidromek
Hitachi
Hyundai
JCB
JLG
John Deere
Komatsu
LIEBHERR
LiuGong
Lonking (LongGong)
Luneng
MANITOU
Mitsuber
New Holland
PENGPU
RM-Terex
SANY
SDLG
SEM
Shantui
Shehwa HBXG
Soosan
TIGARBO
VOGELE
Volvo
WAY
WIRTGEN
XCMG
XGMA
Xiamen
YTO
Yuchai
Zoomlion
Автокран
АЗСМ
Алтайлесмаш
Амкодор
АОМЗ
Атек
АТЗ
Балканкар Рекорд
БелАЗ
Беловеж
Борекс
Брянский Арсенал
Булат
ВЭКС
ГАЗ
Геомаш
Гидромаш
Донекс
Дормаш
Дормашина
Дорэлектромаш
ДЭЗ
ЕлАЗ
ЗЗГТ
Ижнефтемаш
Канаш-электрокар
КЗКТ
ККЗ
Клевер
Клинцовский автокрановый завод
КМЗ
КМЗ 1 Мая
Ковровец
Коммаш
Кранэкс
КЭЗ
КЭМЗ
ЛЗА
МАЗ
МЗИК
МЗКМ
МЗКТ
Михневский РМЗ
МоАЗ
Мозырский МЗ
МТЗ
ОЗП
Онежец
ПАО "ТЗА"
ППС Детва
Промтрактор
ПТЗ
Раскат
СпецАгрегат
ТВЭКС
ТТМ
УВЗ
Угличмаш
УЗТМ
ХТЗ
ЧЗКМ
ЧСДМ
ЧТЗ
ЭКСКО
ЭКСМАШ
ЮрМаш
Модель
Не выбрано
EX-100-2 (2000)
EX-100-3 (2008)
EX-100WD (2008)
EX-120 (2008)
EX-120-2 (2008)
EX-160WD (2008)
EX-200 (2008)
EX-200-2 (2008)
EX-200-3
EX-220 (2008)
EX-220-2 (2008)
EX-270 (2008)
EX-300 (2008)
EX-300-2 (2000)
EX-400 Type A (2006)
EX-400 Type B (2006)
EX-60 (2003)
EX-60-2 (2000)
EX-60-3 (2008)
EX-70 (2017)
LX-110-7 (2008)
LX-130-7 (2008)
LX-150-2 (2008)
LX-160-7 (2008)
LX190-7/LX230-7 (2008)
Zaxis 190-3
ZAXIS 200-5A (2018)
ZAXIS 200LC-5A (2018)
ZAXIS 210H-5A (2018)
ZAXIS 210K-5A (2018)
ZAXIS 210LCH-5A (2018)
ZAXIS 210LCK-5A (2018)
ZAXIS 330-5G (2017)
ZAXIS 350H-5G (2017)
ZAXIS 48U-5A (2020)
ZAXIS 850-3
ZAXIS 870H-3
ZX-110 (2008)
ZX-160W (2008)
ZX-200 (2008)
ZX-230 (2008)
ZX-25 (2008)
ZX-270 (2008)
ZX-330 (2010)
ZX-330-3 (Part № PIHH-I-3) (2008)
ZX-330-3 (Part № PIHH-I-5) (2013)
ZX-330-3G (2008)
ZX-400R-3 (2010)
ZX-450 (2006)
ZX-600 (2007)
Компоненты EX-100-2 (2000)
Компоненты EX-100WD (2008)
Компоненты EX-120 (2008)
Компоненты EX-120-2 (2008)
Компоненты EX-160WD (2008)
Компоненты EX-200 (2008)
Компоненты EX-200-2 (2008)
Компоненты EX-200-3(LC, H)
Компоненты EX-220 (2008)
Компоненты EX-220-2 (2008)
Компоненты EX-270 (2008)
Компоненты EX-300 (2008)
Компоненты EX-300-2 (2000)
Компоненты EX-400 Type A (2006)
Компоненты EX-400 Type B (2006)
Компоненты EX-60 (2003)
Компоненты EX-60-2 (2000)
Компоненты EX-60-3 (2008)
Компоненты ZAXIS 450, 470, 500, 520 (2010)
Компоненты ZX-110 (2008)
Компоненты ZX-120 (130) (2008)
Компоненты ZX-160W (2008)
Компоненты ZX-200 (2008)
Компоненты ZX-230 (2008)
Компоненты ZX-270 (2008)
Компоненты ZX-330 (2008)
Компоненты ZX-450 (2006)
Схема
>
Не выбрано
FRAME
ENGINE
RADIATOR
AIR CLEANER
MUFFLER
BYPASS FILTER (ENGINE OIL)
FUEL TANK
PUMP DEVICE
SWING DEVICE
OIL TANK
OIL COOLER PIPINGS (1)
OIL COOLER PIPINGS (2)
OIL COOLER PIPINGS (3)
MAIN PIPINGS (1)
MAIN PIPINGS (2)
MAIN PIPINGS (3)
ENGINE CONTROL LEVER (1)
ENGINE CONTROL LEVER (1)
ENGINE CONTROL LEVER (2) <SDX>
ENGINE CONTROL LEVER (2) <DX>
CONTROL LEVER (1)
CONTROL LEVER (2) <SDX>
CONTROL LEVER (2) <DX>
PILOT PIPINGS (1-1) <SDX>
PILOT PIPINGS (1-1) <DX>
PILOT PIPINGS (1-2)
PILOT PIPINGS (2) <SDX>
PILOT PIPINGS (2) <DX>
PILOT PIPINGS (3-1)
PILOT PIPINGS (3-2)
PILOT PIPINGS (3-3)
PILOT PIPINGS (4)
PILOT PIPINGS (5)
PILOT PIPINGS (6)
PILOT PIPINGS (6) <SDX>
PILOT PIPINGS (6) <DX>
CONTROL BOX (R) <SDX>
CONTROL BOX (R) <DX>
CONTROL BOX (L)
GAUGE PANEL <SDX>
GAUGE PANEL <DX>
ELECTRIC PARTS (1) <SDX>
ELECTRIC PARTS (1) <DX>
ELECTRIC PARTS (2) <SDX>
ELECTRIC PARTS (2) <DX>
ELECTRIC PARTS (3)
ELECTRIC PARTS (4) <SDX>
ELECTRIC PARTS (4) <DX>
ELECTRIC PARTS (5) <SDX>
ELECTRIC PARTS (5) <DX>
CAB GROUP <SDX>
CAB GROUP <DX>
CAB (1) <SDX>
CAB (1) <DX>
CAB (2)
CAB (3) <SDX>
CAB (3) <DX>
CAB (4)
CAB (5) <SDX>
CAB (5) <DX>
CAB (6)
SEAT
SEAT
COVER (1)
COVER (2)
COVER (3)
DOOR LOCK
ENGINE COVER
UNDER COVER
CAR HEATER <SDX>
CAR HEATER PIPINGS <SDX>
TRACK FRAME (STD. TRACK)
TRACK FRAME (LC TRACK)
TRAVEL DEVICE
FRONT IDLER
ADJUSTER
UPPER ROLLER
LOWER ROLLER (STD. TRACK)
LOWER ROLLER (LC TRACK)
TRACK-LINK 600G (STD. TRACK)
TRACK-LINK 600G (LC TRACK)
CENTER JOINT
TRAVEL PIPINGS (STD. TRACK)
TRAVEL PIPINGS (LC TRACK)
BOOM
STD. ARM 3.1M
BUCKET 1.0
FRONT PIPINGS
LUBRICATE PIPINGS
CONTROL LEVER (1) <4-LEVER TYPE>
CONTROL LEVER (2) <4-LEVER TYPE>
PILOT PIPINGS (5) <4-LEVER TYPE>
CONTROL BOX (R) <4-LEVER TYPE>
CAB GROUP <4-LEVER TYPE>
SEAT <4-LEVER TYPE>
SEAT <4-LEVER TYPE>
MULT I-LEVER PIPINGS
CAR COOLER
FUEL FEED PUMP
WINDOW WASHER
CENTER COVER
HEAD GUARD
WINDOW GUARD
TRACK-LINK 800G (STD.TRACK)
TRACK-LINK 800G (LC TRACK)
TRACK-LINK 910A (STD.TRACK)
TRACK-LINK 910A (LC TRACK)
FULL TRACK GUARD (STD.TRACK)
FULL TRACK GUARD (LC TRACK)
SHORT ARM 2.4M
LONG ARM 3.75M
BUCKET 0.9
BUCKET 1.2
BUCKET 1.4
ROCK BUCKET 0. 8
RIPPER BUCKET 0.7
ONE-POINT RIPPER
HOSE RUPTURE VALVE PIPINGS (BOOM)
HOSE RUPTURE VALVE PIPINGS (ARM)
SPARE PEDAL
PILOT PIPINGS FOR SPARE PEDAL
PIPINGS (1) FOR BREAKER, CRUSHER
PIPINGS (2) FOR BREAKER, CRUSHER
PIPINGS (3) FOR BREAKER, CRUSHER (NPK BREAKER)
PIPINGS (3) FOR BREAKER, CRUSHER <NPK BREAKER & CRUSHER)
PIPINGS (3) FOR BREAKER, CRUSHER <OKADA / FURUKAIDA BREAKER)
PIPINGS (3) FOR BREAKER, CRUSHER <0KADA / FURUKAWA BREAKER & CRUSHER)
CONFLUENT PIPINGS (1)
CONFLUENT PIPINGS (2)
TOOLS
SPARE PARTS
NAME-PLATE (ENGLISH) <SDX>
NAME-PLATE (ENGLISH) <DX>
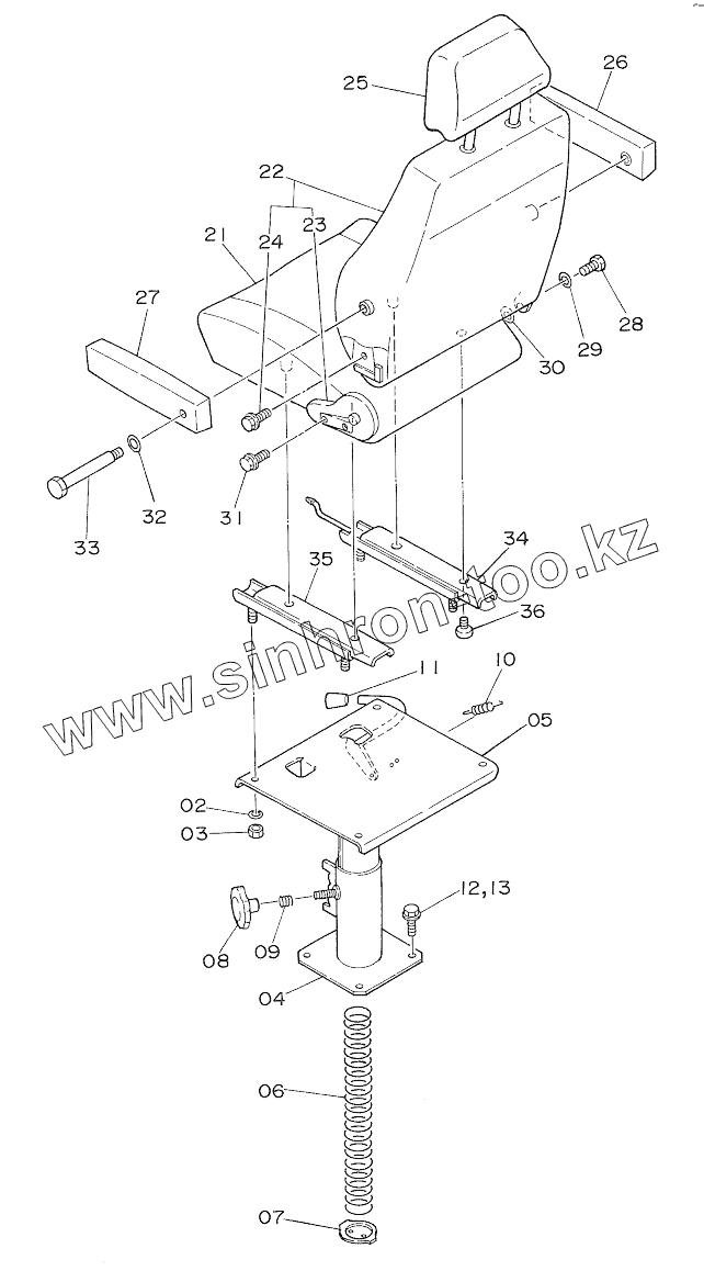
4178550
4186742
2
3
4
5
6
7
8
9
10
11
12
12
13
21
22
23
24
25
26
27
28
29
30
31
32
33
34
35
36
Позиция на иллюстрации
Заводской номер детали
Название детали
4178550
4178550
STAND ASSY
4186742
4186742
SEAT ASSY
2
А590908
WASHER, SPRING
3
M500807
NUT
4
STAND
STAND
5
SUPPORT
SUPPORT
6
4206087
SPRING
7
3039222
PLATE
8
3039223
KNOB
9
3039221
SPRING
10
3030268
SPRING
11
3030267
GRIP
12
J901025
BOLT
12
J011025
BOLT, SEMS
13
А590910
WASHER, SPRING
21
0340801
CUSHION, SEAT
22
0340802
SEAT, BACK
23
0340803
ADJUSTER
24
0262708
BOLT
25
0340804
HEAD-REST
26
0340805
ARM-REST
27
0340806
ARM-REST
28
0262709
BOLT, HINGE
29
0262710
WASHER
30
0262711
WASHER, SPRING
31
0262708
BOLT
32
0262707
WASHER
33
0340807
BOLT
34
0304002
ADJUSTER, SEAT
35
0304003
ADJUSTER, SEAT
36
0340808
SCREW
Содержащиеся в справочниках-каталогах запасные части и детали не предлагаются к продаже, а носят исключительно информационный характер
Дополнительная информация
×
Название:
Номер:
Примечание: