Каталог запасных частей к технике: Hitachi EX-220. CAR HEATER <SDX>
4193703
1
1
1
2
3
3
19
20
20
21
21
21
22
22
22
41
41
42
42
43
44
44
46
47
48
48
49
50
51
53
54
55
56
57
58
58
59
59
60
61
62
63
64
65
66
67
68
70
71
72
73
74
75
76
77
78
79
80
80
81
82
83
84
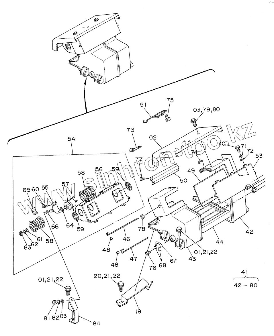
| Позиция на иллюстрации | Заводской номер детали | Название детали | |
|---|---|---|---|
| 4193703 | 4193703 | HEATER ASSY | |
| 1 | J021025 | BOLT, SEMS | |
| 1 | J901025 | BOLT | |
| 2 | 7009413 | COVER | |
| 3 | J020625 | BOLT, SEMS | |
| 3 | J900625 | BOLT | |
| 19 | 2016220 | BRACKET | |
| 20 | J901025 | BOLT | |
| 20 | J021025 | BOLT, SEMS | |
| 21 | А590910 | WASHER, SPRING | |
| 22 | А590110 | WASHER, PLANE | |
| 41 | 0228301 | UNIT HEATER | |
| 41 | 0311513 | UNIT, HEATER | |
| 42 | CASE | CASE | |
| 43 | CASE | CASE | |
| 44 | 0228108 | CORE HEATER | |
| 44 | 0311514 | CORE, HEATER | |
| 46 | 0228109 | SHAFT | |
| 47 | 0228110 | SHAFT | |
| 48 | 0228111 | KNOB | |
| 49 | 0228112 | DAMPER | |
| 50 | 0228113 | DAMPER | |
| 51 | 0228114 | RESISTOR | |
| 53 | 0228116 | COVER, CASE | |
| 54 | 0228117 | CASE ASSY | |
| 55 | 0228118 | BAND, MOTOR | |
| 56 | 0228119 | COVER, MOTOR | |
| 57 | 0228120 | MOTOR, BLOWER | |
| 58 | 0228121 | FAN | |
| 59 | 0228122 | BELL-MOUTH | |
| 60 | 0311501 | SCREW | |
| 61 | 0311502 | WASHER, RUBBER | |
| 62 | 0311503 | WASHER | |
| 63 | М500504 | NUT | |
| 64 | 0311504 | WASHER | |
| 65 | 0311505 | CUSHION, RUBBER | |
| 66 | 0311506 | DAMPER | |
| 67 | 0228123 | GUIDE, DAMPER | |
| 68 | 0228124 | SPRING, U | |
| 70 | J900610 | BOLT | |
| 71 | А590906 | WASHER, SPRING | |
| 72 | А590106 | WASHER, PLANE | |
| 73 | 0311507 | CLIP, HARNESS | |
| 74 | 0311508 | CLAMP | |
| 75 | 0311509 | SCREW | |
| 76 | 0311510 | SCREW | |
| 77 | 0311511 | SCREW | |
| 78 | 0311512 | NUT | |
| 79 | A590906 | WASHER, SPRING | |
| 80 | А590106 | WASHER, PLANE | |
| 81 | М500807 | NUT | |
| 82 | А590908 | WASHER, SPRING | |
| 83 | А590108 | WASHER, PLANE | |
| 84 | 4080636 | BRACKET, MOTOR |
Содержащиеся в справочниках-каталогах запасные части и детали не предлагаются к продаже, а носят исключительно информационный характер