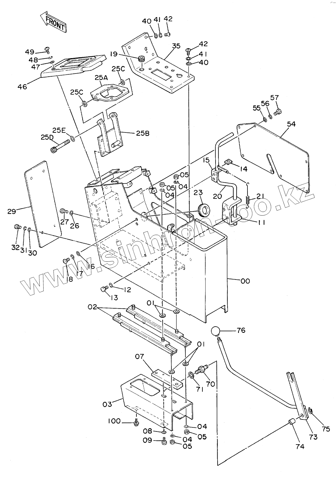
Каталог запасных частей к технике: Hitachi EX-160WD. CONTROL BOX (L)
00
01
01
02
03
04
04
04
04
05
05
05
05
07
08
09
11
12
13
14
15
16
17
18
19
20
21
23
25A
25B
25C
25C
25D
25E
26
27
29
30
31
32
35
40
40
41
41
42
42
46
47
48
49
54
55
56
57
70
71
73
74
75
76
100
| Позиция на иллюстрации | Заводской номер детали | Название детали | |
|---|---|---|---|
| 00 | 6009052 | STAND | |
| 01 | 4191947 | SHIM | |
| 02 | 4208764 | SLIDER | |
| 03 | 8039938 | BRACKET | |
| 04 | A590908 | WASHER, SPRING | |
| 05 | M500807 | NUT | |
| 07 | 3040249 | STOPPER | |
| 08 | A590910 | WASHER, SPRING | |
| 09 | J901020 | BOLT | |
| 11 | 4214103 | GUIDE | |
| 12 | A590910 | WASHER, SPRING | |
| 13 | J901016 | BOLT | |
| 14 | 4243952 | RUBBER | |
| 15 | 4214102 | GUIDE | |
| 16 | 4144838 | WASHER | |
| 17 | A590906 | WASHER, SPRING | |
| 18 | M430613 | SCREW | |
| 19 | 4236311 | BUSHING, RUBBER | |
| 20 | 8043173 | HANDLE | |
| 21 | 4214243 | SPRING | |
| 23 | 4184582 | BUSHING, RUBBER | |
| 25A | 8038104 | BRACKET | |
| 25B | 8038101 | BRACKET | |
| 25C | 4191947 | SHIM | |
| 25D | M341200 | BOLT, SOCKET | |
| 25E | A590112 | WASHER, PLANE | |
| 26 | A590910 | WASHER, SPRING | |
| 27 | J901020 | BOLT | |
| 29 | 4234984 | COVER | |
| 30 | A590106 | WASHER | |
| 31 | A590906 | WASHER, SPRING | |
| 32 | M430613 | SCREW | |
| 35 | 3044881 | PANEL | |
| 40 | J250006 | WASHER, PLANE | |
| 41 | J251006 | WASHER, SPRING | |
| 42 | J850614 | SCREW | |
| 46 | 7020249 | PANEL | |
| 47 | J250006 | WASHER, PLANE | |
| 48 | J251006 | WASHER, SPRING | |
| 49 | J850614 | SCREW | |
| 54 | 3044850 | COVER | |
| 55 | A590106 | WASHER | |
| 56 | A59O906 | WASHER, SPRING | |
| 57 | J900614 | BOLT | |
| 70 | 4234983 | SHAFT | |
| 71 | A590914 | WASHER, SPRING | |
| 73 | 7020558 | LEVER | |
| 74 | 4234982 | BUSHING | |
| 75 | 991337 | RING, RETAINING | |
| 76 | 4143169 | GRIP | |
| 100 | J011025 | BOLT, SEMS |
Содержащиеся в справочниках-каталогах запасные части и детали не предлагаются к продаже, а носят исключительно информационный характер