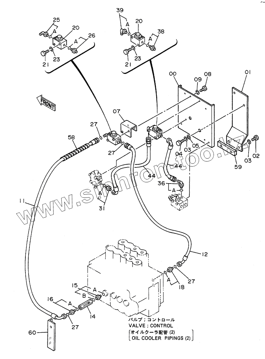
Каталог запасных частей к технике: Hitachi EX-100WD. Confluent Pipings (1)
00
01
02
03
03
04
05
07
08
09
11
12
14
15
15A
15B
16
16A
18
18A
20
20
21
21
23
23
25
25A
26
26A
27
27
27
27
31
31A
36
36A
38
38A
39
39A
44
44
58
59
60
| Позиция на иллюстрации | Заводской номер детали | Название детали | |
|---|---|---|---|
| 00 | 8040230 | BRACKET | |
| 01 | 9728979 | BRACKET | |
| 02 | J901230 | BOLT | |
| 03 | A590912 | WASHER, SPRING | |
| 04 | J901225 | BOLT | |
| 05 | 4086891 | WASHER | |
| 07 | 4213261 | BRACKET | |
| 08 | J900816 | BOLT | |
| 09 | A590908 | WASHER, SPRING | |
| 11 | 4219389 | HOSE | |
| 12 | 4219388 | HOSE | |
| 14 | 4208733 | VALVE, CHECK | |
| 15 | 4213348 | ADAPTER, S | |
| 15A | 4506418 | O-RING | |
| 15B | R26906R | O-RING | |
| 16 | 4189602 | ADAPTER, S | |
| 16A | 4506418 | O-RING | |
| 18 | 4213349 | ADAPTER, S | |
| 18A | R26906R | O-RING | |
| 20 | 4211313 | VALVE, STOP | |
| 21 | J900860 | BOLT | |
| 23 | A590908 | WASHER, SPRING | |
| 25 | 4202112 | ELBOW, S | |
| 25A | 4509180 | O-RING | |
| 26 | 4198407 | ADAPTER, S | |
| 26A | 4509180 | O-RING | |
| 27 | 4138938 | O-RING | |
| 31 | 4200467 | ADAPTER, S | |
| 31A | 957366 | O-RING | |
| 36 | 4200472 | ELBOW, S | |
| 36A | 957366 | O-RING | |
| 38 | 4200466 | ADAPTER, S | |
| 38A | 4509180 | O-RING | |
| 39 | 4154671 | ELBOW | |
| 39A | 4509180 | O-RING | |
| 44 | 4213402 | HOSE | |
| 58 | 4044420 | PROTECTOR | |
| 59 | 4189951 | SEAT, SCREW | |
| 60 | 9730025 | SUPPORT |
Содержащиеся в справочниках-каталогах запасные части и детали не предлагаются к продаже, а носят исключительно информационный характер