Каталог запасных частей к технике: Hitachi EX-100WD. BLADE
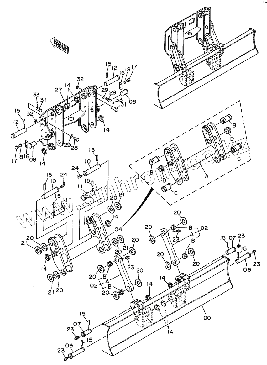
00
02
02
02A
02A
02В
02В
02В
02В
04
04A
04B
04B
04C
04C
04D
04D
07
07
08
08
09
09
10
10
11
11
12
12
14
14
14
14
14
14
14
14
15
15
15
15
15
15
15
15
15
15
16
16
17
17
18
18
20
20
20
20
20
20
20
20
20
20
20
20
21
21
21
21
23
23
23
23
23
23
24
24
27
28
28
29
29
31
31
32
32
33
33
| Позиция на иллюстрации | Заводской номер детали | Название детали | |
|---|---|---|---|
| 00 | 6009645 | BLADE | |
| 02 | 8043535 | LINK, A | |
| 02A | 3044366 | LINK | |
| 02В | 4232084 | BUSHING | |
| 04 | 8043537 | LINK, B | |
| 04A | 7020399 | LINK | |
| 04B | 4232086 | BUSHING | |
| 04C | 4232085 | BUSHING | |
| 04D | 4197033 | STOPPER | |
| 07 | 3044368 | PIN | |
| 08 | 3044382 | PIN | |
| 09 | 3044369 | PIN | |
| 10 | 3044370 | PIN | |
| 11 | 3044367 | PIN | |
| 12 | 3044371 | PIN | |
| 14 | 4065688 | RING | |
| 15 | 4065689 | PIN | |
| 16 | Х4246 | PLATE, LOCK | |
| 17 | J901230 | BOLT | |
| 18 | A590912 | WASHER, SPRING | |
| 20 | 4179807 | WASHER 1.0 | |
| 21 | 4179808 | WASHER 2.0 | |
| 23 | J75481 | FITTING, GREASE | |
| 24 | J75581 | FITTING, GREASE | |
| 27 | 7020398 | BRACKET | |
| 28 | J932060 | BOLT | |
| 29 | 4018545 | WASHER | |
| 31 | 4183279 | PIN | |
| 32 | A590130 | WASHER | |
| 33 | A768050 | PIN, SPLIT |
Содержащиеся в справочниках-каталогах запасные части и детали не предлагаются к продаже, а носят исключительно информационный характер