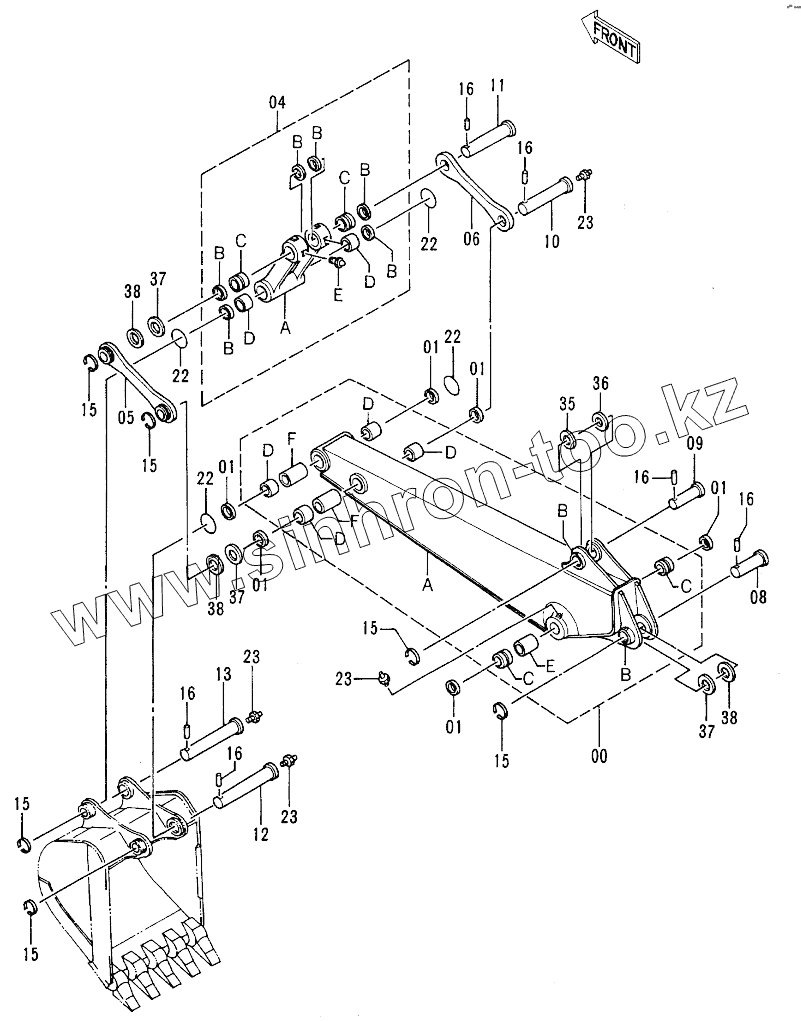
Каталог запасных частей к технике: Hitachi EX-100-2. SHORT ARM 1.96M
00
00A
00B
00B
00C
00C
00D
00D
00D
00D
00E
00F
00F
01
01
01
01
01
01
04
04A
04B
04B
04B
04B
04B
04B
04C
04C
04D
04D
04E
05
06
08
09
10
11
12
13
15
15
15
15
15
15
16
16
16
16
16
16
22
22
22
22
23
23
23
23
35
36
37
37
37
38
38
38
| Позиция на иллюстрации | Заводской номер детали | Название детали | |
|---|---|---|---|
| 00 | 7023392 | ARM ASSY | |
| 00A | 6011246 | ARM | |
| 00B | 4197033 | STOPPER | |
| 00C | 4188796 | BUSHING | |
| 00D | 4196558 | BUSHING | |
| 00E | 4252333 | PIPE | |
| 00F | 4124575 | PIPE | |
| 01 | 4065687 | SEAL, DUST | |
| 04 | 8050179 | LINK ASSY | |
| 04A | 1016240 | LINK | |
| 04B | 4065687 | SEAL, DUST | |
| 04C | 4188796 | BUSHING | |
| 04D | 4196558 | BUSHING | |
| 04E | J75481 | FITTING, GREASE | |
| 05 | 9735190 | LINK | |
| 06 | 4257933 | LINK | |
| 08 | 3051522 | PIN | |
| 09 | 3037078 | PIN | |
| 10 | 3037079 | PIN | |
| 11 | 3037082 | PIN | |
| 12 | 3037080 | PIN | |
| 13 | 3037081 | PIN | |
| 15 | 4065688 | RING | |
| 16 | 4065689 | PIN | |
| 22 | 4276696 | O-RING | |
| 23 | J75481 | FITTING, GREASE | |
| 35 | 4179807 | WASHER 1.0 | |
| 36 | 4284139 | SHIM 2.0 | |
| 37 | 4075357 | WASHER 1.0 | |
| 38 | 4075358 | WASHER 2.0 |
Содержащиеся в справочниках-каталогах запасные части и детали не предлагаются к продаже, а носят исключительно информационный характер