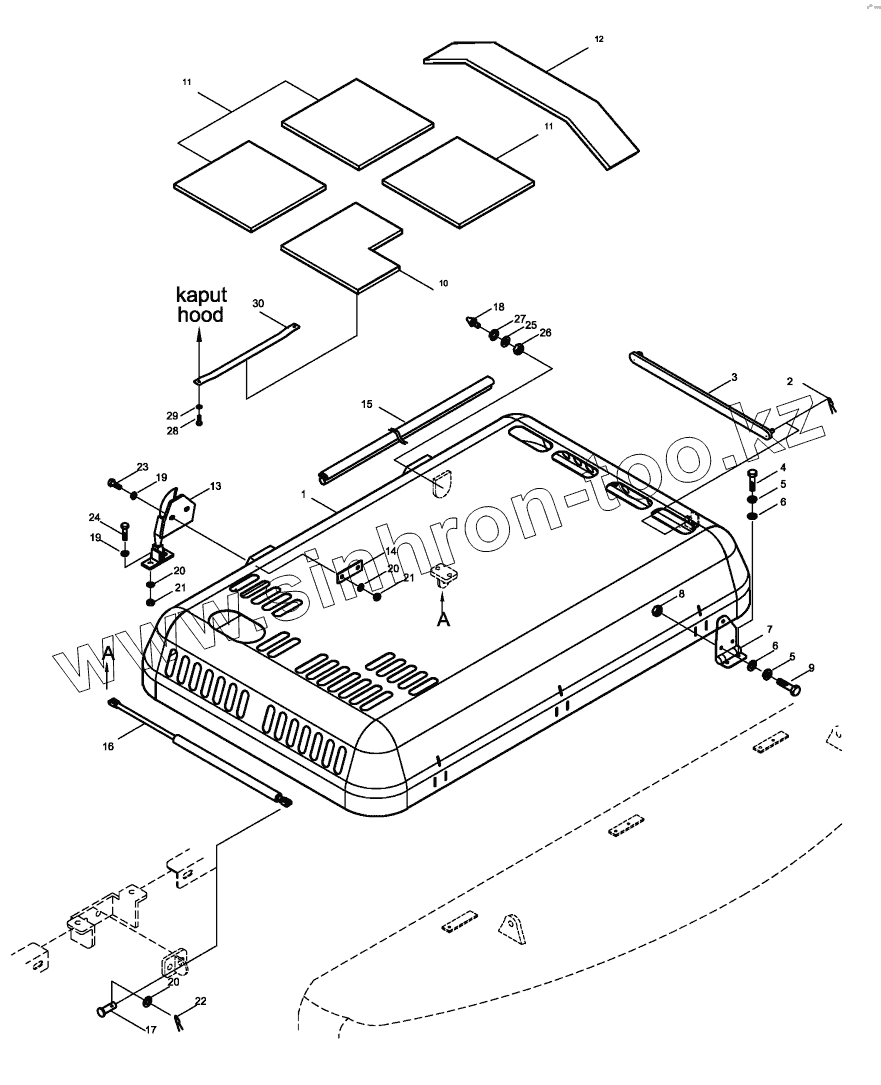
Каталог запасных частей к технике: Hidromek HMK 200W. COWLING MOUNTING
1
2
3
4
5
5
6
6
7
8
9
10
11
11
12
13
14
15
16
17
18
19
19
20
20
20
21
21
22
23
24
25
26
27
28
29
30
| Позиция на иллюстрации | Заводской номер детали | Название детали | |
|---|---|---|---|
| 1 | H341112702 | Engine Hood, W.A. | |
| 2 | N06/1002015 | Pin, Split | |
| 3 | H341114100 | B, Lock | |
| 4 | N01/0232402 | Bolt, Hex. | |
| 5 | N03/1310011 | Washer, Spr. | |
| 6 | N03/0100021 | Washer, Pln. | |
| 7 | H341126100 | Hinge | |
| 8 | N02/3570206 | Nut, Hex. | |
| 9 | N01/0232462 | Bolt, Hex. | |
| 10 | H341113401 | Sponge | |
| 11 | H341113501 | Sponge | |
| 12 | H341125201 | Sponge | |
| 13 | H341113900 | Catch | |
| 14 | H341114000 | Plate | |
| 15 | 98Z010010 | Wheather Strip | |
| 16 | H341113701 | Gas Spring | |
| 17 | H341122600 | Pin, Gas Spring | |
| 18 | H341102900 | Stopper | |
| 19 | N03/1310010 | Washer, Spr. | |
| 20 | N03/0100016 | Washer, Pln. | |
| 21 | N02/3570182 | Nut, Hex. | |
| 22 | N06/1002525 | Pin, Split | |
| 23 | N01/0232138 | Bolt, Hex. | |
| 24 | N01/0380386 | Bolt, Hex. | |
| 25 | N03/0100020 | Washer, Pln. | |
| 26 | N02/3570206 | Nut, Hex. | |
| 27 | N03/1310011 | Washer, Spr. | |
| 28 | N04/1150349 | Bolt | |
| 29 | N03/0100011 | Washer, Pln. | |
| 30 | H341125300 | Plate, Sponge |
Содержащиеся в справочниках-каталогах запасные части и детали не предлагаются к продаже, а носят исключительно информационный характер