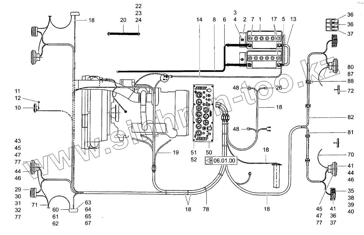
Каталог запасных частей к технике: HAMM GRW 24. ELECTRICAL SYSTEM (WITH LIGHTING)
1
2
3
4
5
6
7
8
10
11
12
13
14
17
18
18
18
18
18
19
20
22
23
24
26
29
30
31
32
35
36
36
36
37
37
38
39
40
41
41
43
44
44
45
45
46
46
47
47
48
48
50
51
52
60
61
62
63
64
65
67
70
71
72
77
77
77
78
80
81
82
87
88
| Позиция на иллюстрации | Заводской номер детали | Название детали | |
|---|---|---|---|
| 1 | 207292 | BATTERY 12V 88AH | |
| 2 | 1402242 | HOLDER | |
| 3 | 213853 | HEXAGON SCREW | |
| 4 | 345490 | WASHER | |
| 5 | 269506 | EDGE PROTECTION | |
| 6 | 755478 | BATTERY CABLE | |
| 7 | 326240 | BATTERY TERMINAL NEGATIVE | |
| 8 | 871958 | BATTERY CABLE | |
| 10 | 207365 | SIGNAL HORN | |
| 11 | 213748 | HEXAGON SCREW | |
| 12 | 276332 | LOCKING WASHER | |
| 13 | 755478 | BATTERY CABLE | |
| 14 | 892262 | BATTERY CABLE | |
| 17 | 293601 | BATTERY TERMINAL POSITIVE | |
| 18 | 884871 | MAIN WIRE HARNESS | |
| 19 | 884863 | CABLE HARNESS | |
| 20 | 2100052 | GROUND CABLE | |
| 22 | 213853 | HEXAGON SCREW | |
| 23 | 276243 | LOCKING WASHER | |
| 24 | 216097 | HEXAGONAL NUT | |
| 26 | 326135 | CONNECTION PLUG | |
| 29 | 311685 | INDICATOR LAMP | |
| 30 | 283150 | LAMP | |
| 31 | 338664 | FILLISTER HEAD SCREW | |
| 32 | 216054 | HEXAGONAL NUT | |
| 35 | 230286 | BACK-UP LIGHT | |
| 36 | 283150 | LAMP | |
| 37 | 283142 | LAMP | |
| 38 | 215449 | FILLISTER HEAD SCREW | |
| 39 | 354589 | SERRATED LOCK WASHER | |
| 40 | 216054 | HEXAGONAL NUT | |
| 41 | 209244 | FLAT PLUG SLEEVE | |
| 43 | 209635 | LAMP | |
| 44 | 311987 | HEADLIGHT | |
| 45 | 209651 | LAMP | |
| 46 | 315915 | RAISED COUNTERSUNK HEAD SCREW | |
| 47 | 221481 | PLUG | |
| 48 | 282170 | PUSH BUTTON | |
| 50 | 891258 | INSTRUMENT PANEL COMPL. | |
| 51 | 215430 | FILLISTER HEAD SCREW | |
| 52 | 284882 | WASHER | |
| 60 | 354252 | SIDE LAMP | |
| 61 | 339202 | FILLISTER HEAD SCREW | |
| 62 | 219622 | SPRING RING | |
| 63 | 209155 | CABLE LUG | |
| 64 | 209244 | FLAT PLUG SLEEVE | |
| 65 | 209635 | LAMP | |
| 67 | 815357 | CABLE | |
| 70 | 755354 | CABLE HARNESS | |
| 71 | 773360 | GROUND CABLE | |
| 72 | 221074 | REAR REFLECTOR | |
| 77 | 380687 | WIRE FASTENER | |
| 78 | 267341 | WIRE FASTENER | |
| 80 | 314218 | HALF-CLIP | |
| 81 | 682276 | PIPE | |
| 82 | 682284 | PIPE | |
| 87 | 314013 | TOP COVER | |
| 88 | 314072 | HEXAGON SCREW |
Содержащиеся в справочниках-каталогах запасные части и детали не предлагаются к продаже, а носят исключительно информационный характер